GM Service Manual Online
For 1990-2009 cars only
Makes
🢒
Chevrolet
🢒
2006
🢒
Tahoe - 2WD
🢒
Transmission/Transaxle
🢒
Automatic Transmission - 4L80-E/4L85-E
🢒 Transmission Identification Information
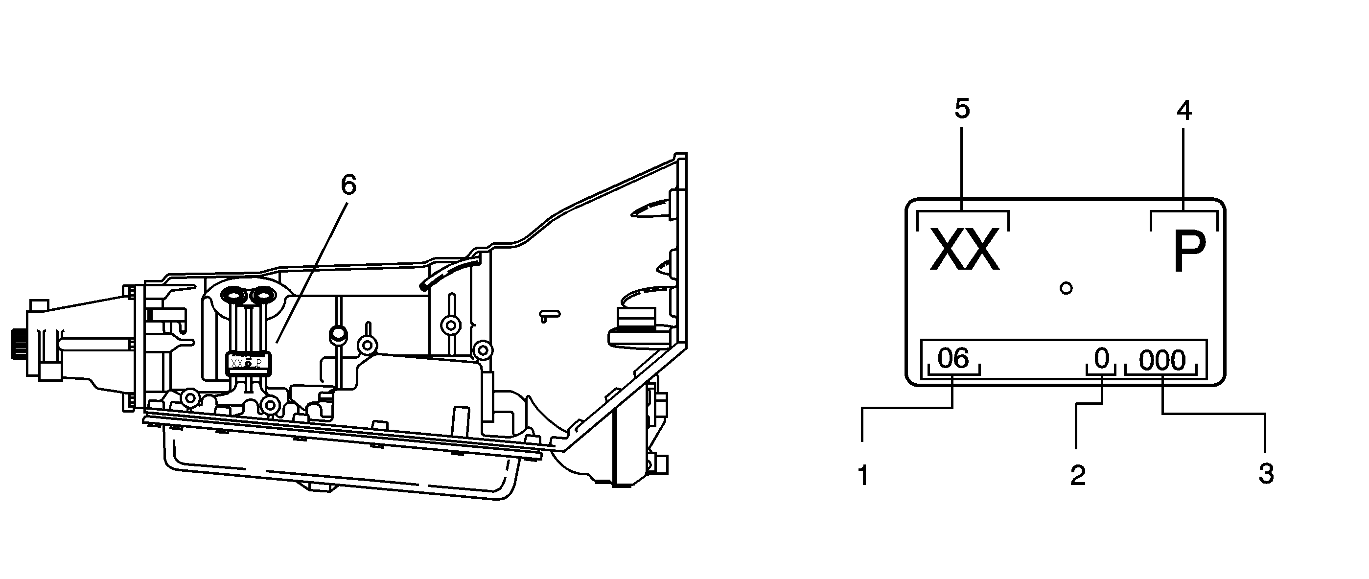
Figure
1:
ID Tag Information
(1)
Calendar Year
(2)
Julian Date of the Year
(3)
Shift and Line Number
(4)
Plant
(5)
Model
(6)
Location on Transmission
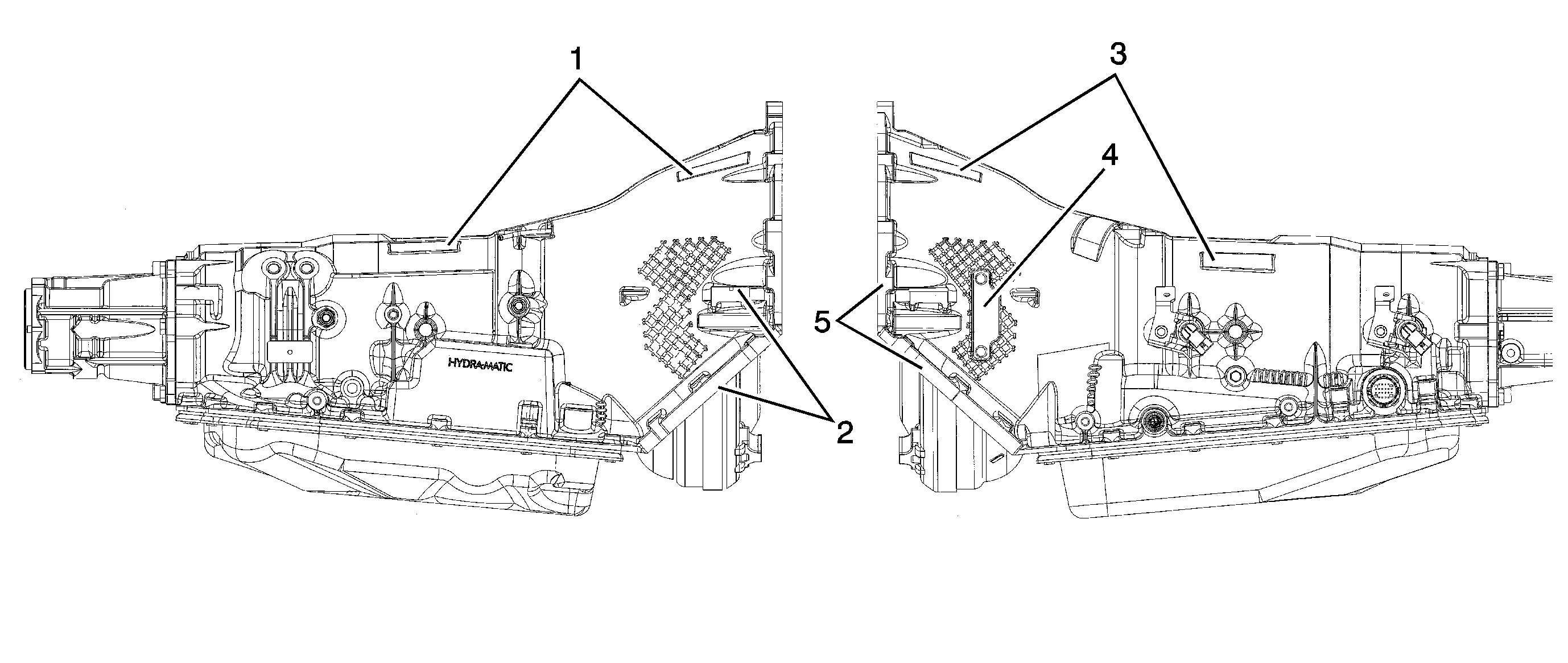
Figure
2:
VIN Locations
(1)
Optional VIN Location
(2)
Optional VIN Location
(3)
Optional VIN Location
(4)
Optional VIN Location
(5)
Optional VIN Location