|
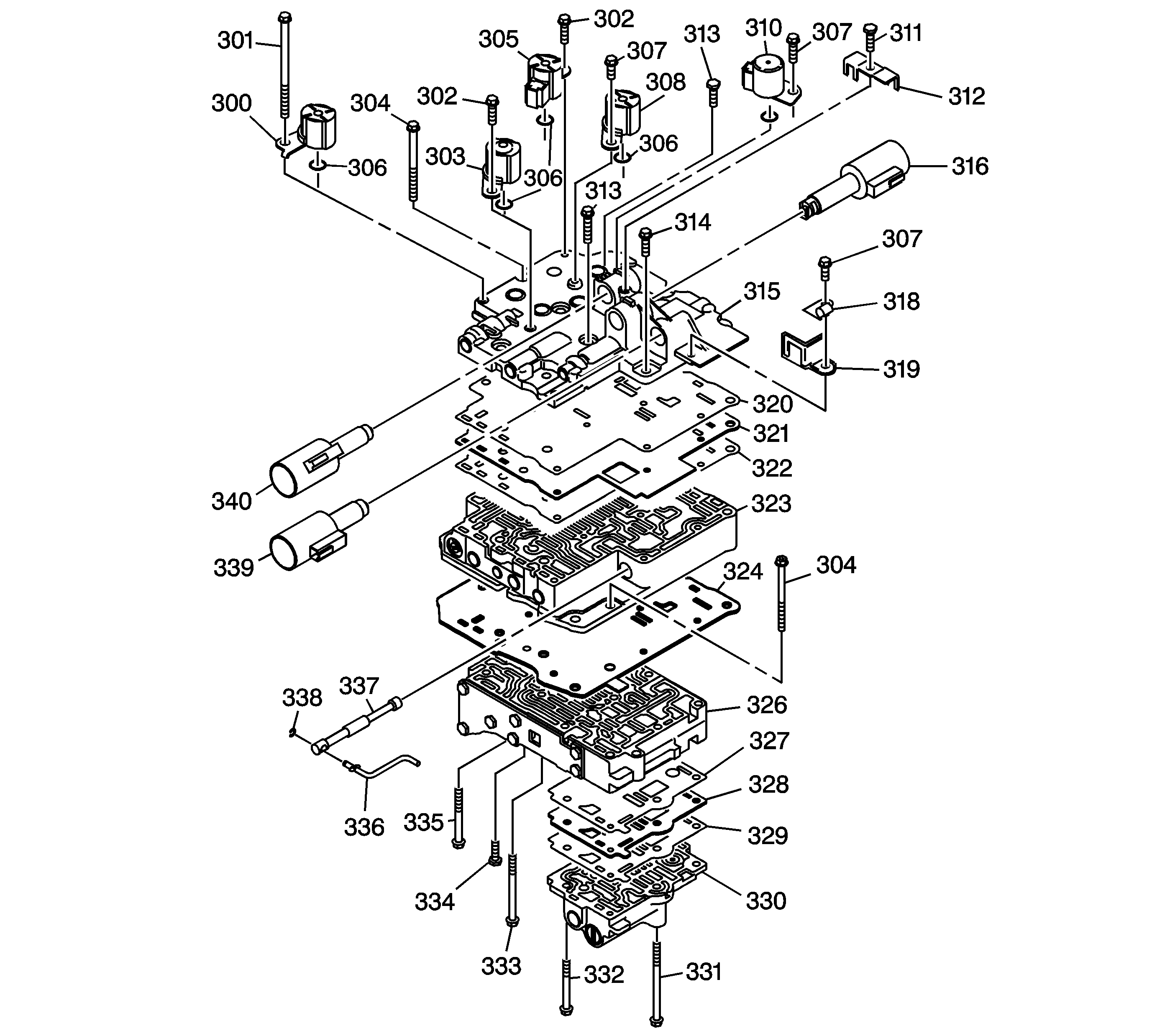
| (300) | 1-2,
2-3, Reverse Shift Solenoid Valve Assembly (S3) - Dark Gray |
| (301) | Control Valve
Body Bolt/Screw (M5 x 0.8 x 62) |
| (302) | Control Valve
Body Bolt/Screw (M5 x 0.8 x 28) (2) |
| (302) | Control Valve
Body Bolt/Screw (M5 x 0.8 x 28) (2) |
| (302) | Control
Valve Body Bolt/Screw (M5 x 0.8 x 28) (2) |
| (303) | 3-4,
4-5 Shift Solenoid Valve Assembly (S4) - Blue |
| (304) | Control Valve
Body Bolt/Screw (M5 x 0.8 x 50) (2) |
| (304) | Control
Valve Body Bolt/Screw (M5 x 0.8 x 50) (2) |
| (305) | Reverse Shift
Solenoid Valve Assembly (S5) - Brown |
| (306) | Shift Solenoid
Valve O-ring Seal (5) |
| (306) | Shift Solenoid
Valve O-ring Seal (5) |
| (306) | Shift Solenoid
Valve O-ring Seal (5) |
| (307) | Control Valve
Body Bolt/Screw (M5 x 0.8 x 10) (3) |
| (307) | Control
Valve Body Bolt/Screw (M5 x 0.8 x 10) (3) |
| (307) | Control Valve
Body Bolt/Screw (M5 x 0.8 x 10) (3) |
| (308) | 2-3,
3-4 Shift Solenoid Valve Assembly (S2) - Black |
| (310) | Reverse,
1st Shift Solenoid Valve Assembly (S1) - Black |
| (311) | Control
Valve Body Bolt/Screw (M5 x 0.8 x 13) |
| (312) | Control
Valve Body Solenoid Valve Retainer |
| (313) | Control Valve
Body Bolt/Screw (M5 x 0.8 x 20) (5) |
| (313) | Control Valve
Body Bolt/Screw (M5 x 0.8 x 20) (5) |
| (314) | Control
Valve Body Bolt/Screw (M5 x 0.8 x 16) (2) |
| (315) | Front Control
Valve Body Assembly |
| (316) | Line Pressure
Control Solenoid Valve Assembly (SLT) - Blue |
| (318) | Automatic
Transmission Wiring Harness Clip |
| (319) | TCC Lock
Up Control Solenoid Valve Retainer (SLU) |
| (320) | Front Control
Valve Body to Front Control Valve Body Spacer Plate Gasket |
| (321) | Front Control
Valve Body Spacer Plate |
| (322) | Front Control
Valve Body Spacer Plate to Middle Control Valve Body Gasket |
| (323) | Middle
Control Valve Body Assembly |
| (324) | Middle
Control Valve Body Assembly to Rear Control Valve Body Spacer Plate and Gasket Assembly |
| (326) | Rear
Control Valve Body Assembly |
| (327) | Rear
Control Valve Body to Rear Control Valve Body Spacer Plate Gasket |
| (328) | Rear
Control Valve Body Assembly Spacer Plate |
| (329) | Rear
Control Valve Body Assembly Spacer Plate to No. 2 Rear Control Valve Body Assembly
Gasket |
| (330) | No. 2
Rear Control Valve Body Assembly |
| (331) | Control
Valve Body Bolt/Screw (M5 x 0.8 x 76) |
| (332) | Control
Valve Body Bolt/Screw (M5 x 0.8 x 49.5) (4) |
| (333) | Control
Valve Body Bolt/Screw (M5 x 0.8 x 40) |
| (334) | Control
Valve Body Assembly Pressure Test Hole Bolt/Screw Pressure Tap (M6 x 1.0 x 12)
(1) |
| (335) | Control
Valve Body Bolt/Screw (M5 x 0.8 x 35) (2) |
| (336) | Manual
Valve Link |
| (337) | Manual Valve |
| (338) | Manual Valve
Link Retainer |
| (339) | TCC Lock
Up Pressure Control Solenoid Valve Assembly (SLU) - Black |
| (340) | Shift Pressure
Control Solenoid Valve Assembly (SLS) - Green |