GM Service Manual Online
For 1990-2009 cars only
Makes
🢒
Chevrolet
🢒
2000
🢒
Tahoe - 4WD
🢒
Transmission/Transaxle
🢒
Automatic Transmission - 4L80-E
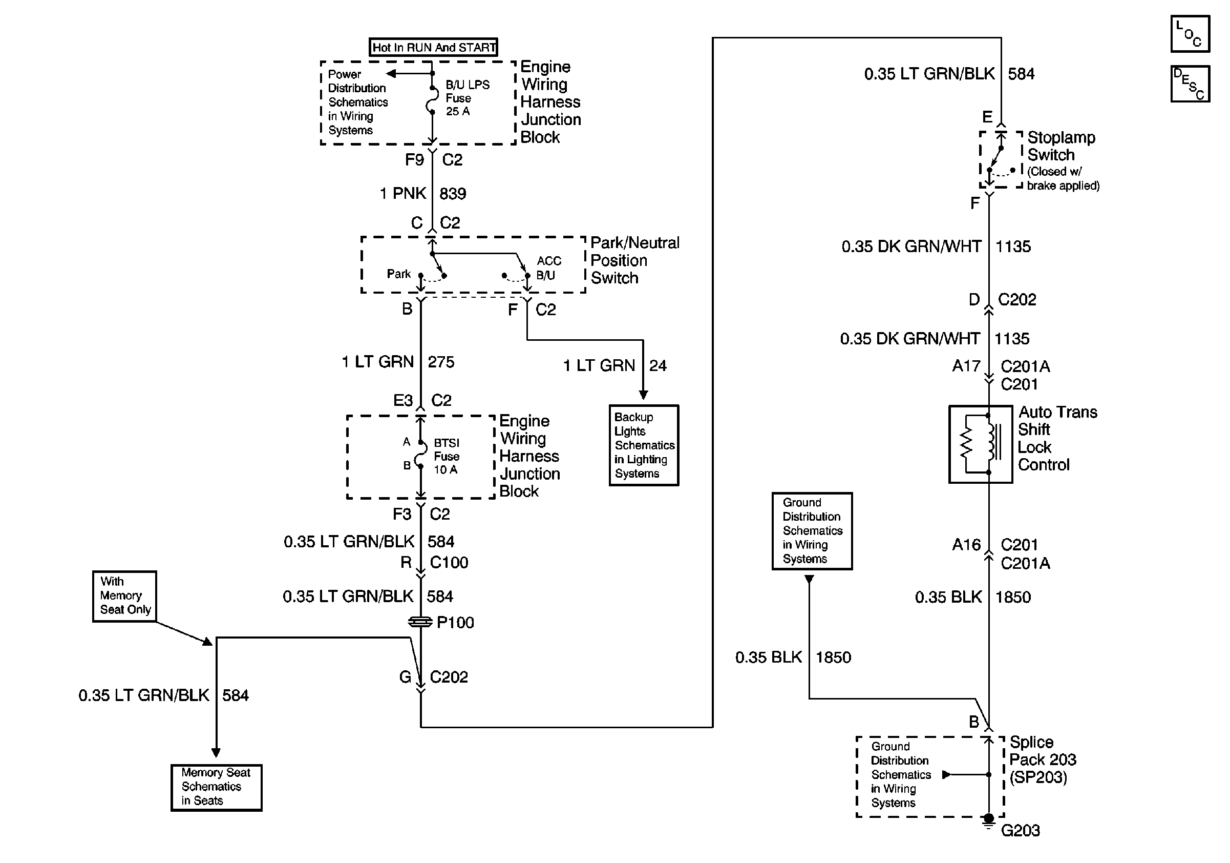
🢒 Shift Lock Control Schematics
BSTI Schematic
Power Distribution Schematics
Backup Lamp Schematics Pickup
Ground Distribution Schematics
Ground Distribution Schematics