GM Service Manual Online
For 1990-2009 cars only

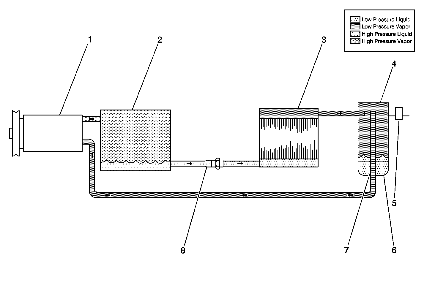
System Components


Object Number: 257927  Size: MF
(1)A/C Compressor
(2)A/C Condenser
(3)A/C Evaporator
(4)A/C Accumulator
(5)A/C Low Pressure Switch
(6)Dessicant Bag
(7)Oil Bleed Hole
(8)A/C Condenser Orifice

The cycling clutch orifice tube (CCOT) refrigerant system cycles a compressor (1) on and off in order to maintain the desired cooling. This cycling also prevents evaporator freeze-up. The temperature selector on the control assembly maintains comfort in the passenger compartment comfort.

A switch that senses low side pressure, as an indicator of the evaporator pressure, controls the refrigeration cycle, or the on and off operation of the compressor. The cycling pressure switch is the freeze protection device in the system. The switch also senses refrigerant pressure on the suction side of the system. This switch is located on a standard service low-side fitting. With air temperatures of 16-26°C (60-80°F), the equalized pressures within the charged air conditioning system closes the contacts of the pressure switch.

When an air conditioning mode is selected, the compressor clutch coil receives electrical energy. As the compressor reduces the evaporator pressure to approximately 175 kPa (25 psi), the pressure switch opens, de-energizing the compressor clutch. The system equalizes and the pressure reaches approximately 315 kPa (46 psi). Then, the pressure switch contacts close, re-energizing the clutch coil. The cycling continues and maintains the evaporator discharge air temperature at approximately 1°C (33°F).

Some slight increases and decreases of engine speed/power may occur under certain conditions, due to the cycling. This is normal. The system cycles in order to maintain the desired cooling, which prevents the evaporator freeze-up.

Additional compressor protection results from the operating characteristics of the low-side cycling pressure system. If a massive discharge occurs in the low side of the system, or the orifice tube becomes plugged, the contacts of the pressure switch may not close due to insufficient low-side pressures. If there is a low charge, insufficient cooling accompanied by rapid compressor clutch cycling is noticeable at high air temperatures.

When the engine is OFF while the air conditioning system is operating, the refrigerant in the system flows from the high-pressure side of the expansion tube (orifice) to the low pressure side until the pressure equalizes. This may be detected as a hissing sound for 30-60 seconds. The hissing is normal.

The air conditioning system available for the vehicle is C60 Front Manual Controls, HVAC System.