GM Service Manual Online
For 1990-2009 cars only
Figure 1:

Lower LF of the Radiator Support Components


Object Number: 310809  Size: MF
(1)LH Lower Radiator Support
(2)Forward Lamp Harness
(3)Negative Battery Cable (G100)
(4)Frame
(5)Ground 100 (G100)
Figure 2:

Auxiliary Battery Relay


Object Number: 349894  Size: MF
(1)Auxiliary Battery Relay
(2)A/C Accumulator
(3)A/C Compressor Low Pressure Cycling Switch
(4)Inner Wheel Well
(5)Engine Coolant Level Switch Electrical Connector
(6)Mass Air Flow (MAF) Sensor
(7)Air Cleaner Assembly
(8)Engine Coolant Recovery Reservoir
(9)Auxiliary Battery Relay Electrical Connector
Figure 3:

Engine Wiring Harness Junction Block


Object Number: 310806  Size: MF
(1)Engine Wiring Harness Junction Block Bracket
(2)Inflatable Restraint Harness
(3)Radiator Support
(4)Inflatable Restraint Electrical Connector (IP) (C103)
(5)Inflatable Restraint Electrical Connector (Sensor) (C103)
(6)LH Battery Tray
(7)Engine Wiring Harness Junction Block Bracket
(8)Engine Wiring Harness Junction Block Bracket
Figure 4:

Engine Wiring Harness Junction Block Connectors to Engine Wiring Junction Block


Object Number: 310798  Size: MF
(1)Engine Wiring Harness Junction Block
(2)C-4 (GRN)
(3)C-3 (RED)
(4)Engine Wiring Junction Block Bracket
(5)LH Inner Fender (Shield)
(6)LH Inner Fender
(7)C-1 (LT GRY)
(8)C-2 (BLK)
Figure 5:

Engine Wiring Harness Junction Block-C1 (LT GRY) and C6 (BRN)


Object Number: 404504  Size: MF
(1)Engine Wiring Harness Junction Block
(2)C7 (BLK) Cavity
(3)Engine Wiring Harness Junction Block Bracket
(4)C6 (BRN)
(5)Instrument Panel (IP) Harness
(6)C1 (LT GRY)
Figure 6:

Engine Wiring Harness Junction Block-C2 (BLK) and C5 (BLK)


Object Number: 404501  Size: MF
(1)C2 (BLK)
(2)Engine Wiring Harness Junction Block
(3)Engine Wiring Harness Junction Block Bracket
(4)C5 (BLK)
(5)Engine Harness
Figure 7:

Engine Wiring Harness Junction Block-C3 (RED) and C8 (LT GRY)


Object Number: 404499  Size: MF
(1)C3 (RED)
(2)Engine Wiring Harness Junction Block
(3)C8 (LT GRY)
(4)Engine Wiring Harness Junction Block Bracket
(5)Chassis Harness
Figure 8:

Engine Wiring Harness Junction Block-C4 and Inlines


Object Number: 404508  Size: MF
(1)C4 (GRN)
(2)Instrument Panel (IP) Inline Connectors
(3)Engine Wiring Harness Junction Block Bracket
(4)Connector Tether
(5)IP Harness Inline Connector
(6)C103 (IP Side)
(7)C103 (FWD Lamp Side)
(8)Forward Lamp Inline Connector
(9)Engine Wiring Harness Junction Block
Figure 9:

Lower LR of the Engine Components (4.8L/5.3L/6.0L)


Object Number: 310261  Size: LF
(1)Ground 103 (G103)
(1)Ground 103 (G103)
(2)Engine Harness- H02S
(3)HO2 Sensor connector- Bank 1, Sensor 1
(4)Fuel Line Bracket
(5)Ground 104 (G104)
(5)Ground 104 (G104)
(6)Oil Pressure Sensor Connector
(6)Oil Pressure Sensor
(7)Engine Ground Strap (G107)
(8)TP 1 Battery Cable (G106)
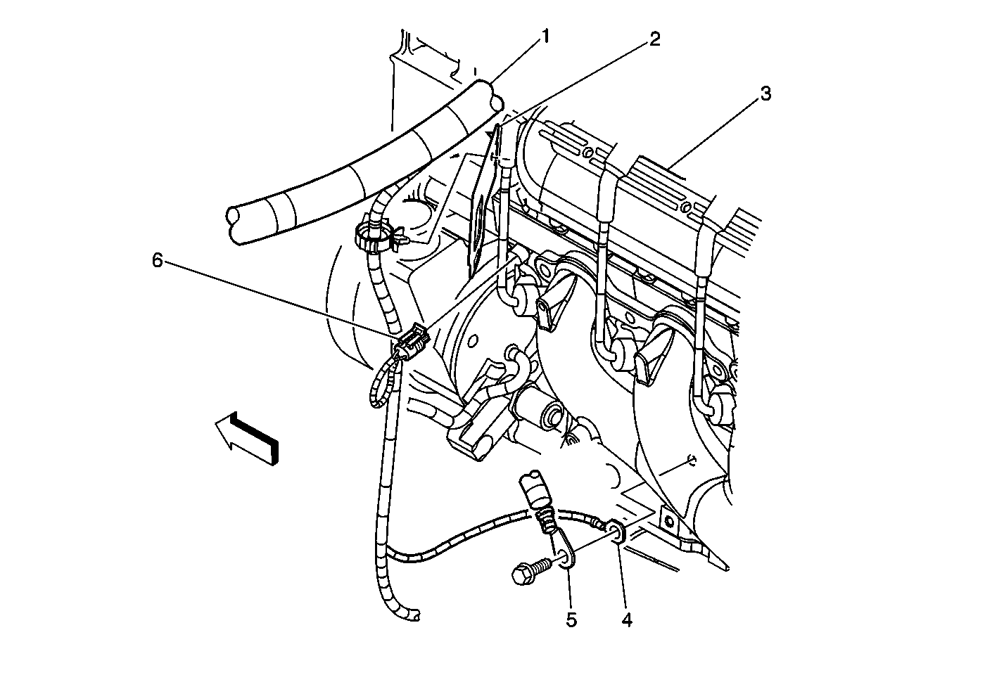
Figure 10:

Lower Left Side of the Engine Components (4.8L/5.3L/6.0L)


Object Number: 403980  Size: MF
(1)Engine Harness
(2)Battery Cable Junction Block Bracket
(3)LH Rocker Cover
(4)Ground 105 (G105)
(5)Negative Battery Cable
(6)Engine Coolant Temperature (ECT) Sensor Connector
Figure 11:

Lower LR of the Engine Components (4.8L/5.3L/6.0L)


Object Number: 310261  Size: LF
(1)Ground 103 (G103)
(1)Ground 103 (G103)
(2)Engine Harness- H02S
(3)HO2 Sensor connector- Bank 1, Sensor 1
(4)Fuel Line Bracket
(5)Ground 104 (G104)
(5)Ground 104 (G104)
(6)Oil Pressure Sensor Connector
(6)Oil Pressure Sensor
(7)Engine Ground Strap (G107)
(8)TP 1 Battery Cable (G106)
Figure 12:

Lower RF of the Engine Components (4.3L)


Object Number: 403977  Size: MF
(1)Ground 105 (G105)
(2)Crankshaft Position (CKP) Sensor
(3)Negative Battery Cable
(4)Engine Oil Level Switch
(5)Engine Harness
(6)Positive Battery Cable
Figure 13:

Right Side of the Engine Components (4.3L)


Object Number: 310504  Size: LF
(1)Coil - Ignition
(2)Generator
(3)Ignition Coil Driver
(4)Generator Connector
(5)RH Cylinder Head
(6)Ground 103 (G103)
(7)Map Sensor Connector
(8)Map Sensor
Figure 14:

LH Rear View of Engine-4.3L


Object Number: 310499  Size: MF
(1)Oil Pressure Sensor Connector
(2)Oil Pressure Sensor
(3)Ground 104 (G104)
(4)Engine Ground Strap (G107)
(5)Engine 4.3L
(6)Knock Sensor
(7)Knock Sensor Connector
(8)Distributor Connector
(9)Distributor
Figure 15:

Left Rear Underhood-Front of Dash


Object Number: 310036  Size: MF
(1)Windshield Wiper Motor Module Electrical Connector
(2)Cruise Control Module (CCM) Connector
(3)Plenum Panel
(4)Cruise Control Module
(5)P100
(6)Dash Panel
(7)Cap For Connector, Without Cruise Control
(8)Cruise Control Module (CCM) Connector
(9)Harness Pass Through
(10)Windshield Wiper Motor Module
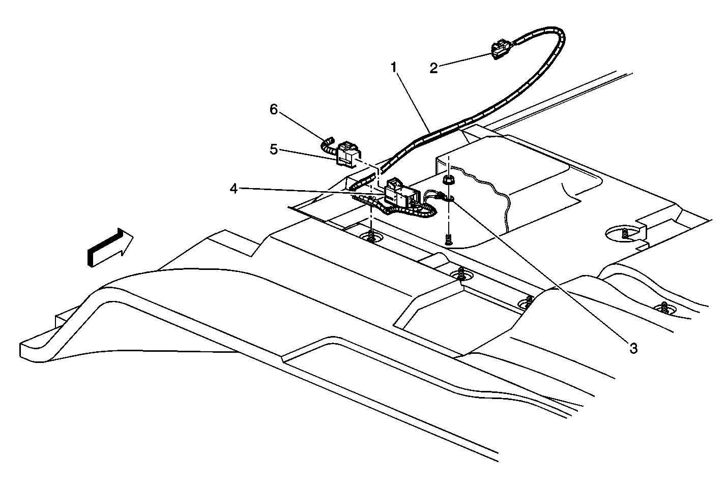
Figure 16:

Front Drive Axle Harness Routing (K15 Series)


Object Number: 310214  Size: LF
(1)Vent Tube
(2)Vent Tube Connection
(3)Front Axle Actuator/Switch
(4)Front Axle Actuator/Switch Connector
(5)Front Drive Axle Assembly (Mount)
(6)Ground 110 (G110)
(7)Left Inner Fender
Figure 17:

Front Drive Axle Harness Routing (K25 Series)


Object Number: 310212  Size: LF
(1)Ground 110 (G110)
(2)Vent Tube
(3)Vent Tube Connection
(4)Front Axle Actuator/Switch
(5)Front Axle Actuator/Switch Connector
(6)Left Inner Fender
Figure 18:

RH Upper Instrument Panel


Object Number: 403970  Size: MF
(1)Instrument Panel
(2)Ground 200 (G200)
(3)Ground Stud
Figure 19:

Lower Center of the I/P Components


Object Number: 310152  Size: MF
(1)Ashtray Lamp Socket
(2)Bulb
(3)Ashtray Lamp Shield
(4)Instrument Panel
(5)Accessory Power Outlet
(6)Cigar Lighter Assembly
Figure 20:

I/P Wiring Harness Junction Block


Object Number: 310167  Size: LF
(1)I/P Wiring Harness Junction Block)
(2)Instrument Panel (IP)
Figure 21:

HVAC Module Assembly (Connections)


Object Number: 310004  Size: MF
(1)Recirculation Door Motor Electrical Connector
(2)Instrument Panel
(3)Electrical Harness Connector
(4)Ground 200 (G200)
(5)Blower Motor Resistor/Relay Assembly
(6)Blower Motor Resistor/Relay Electrical Connector
(7)Harness Inline Connector (C296)
(8)Temperature Door Motor Electrical Connector
(9)Temperature Door Motor
(10)Mode Door Motor
Figure 22:

Upper Left of the I/P Components


Object Number: 310066  Size: MF
(1)Splice Pack 203 (SP203)
(2)Ground 203 (G203)
(3)Dash
(4) A-Pillar
Figure 23:

Left Hand Lower Dash


Object Number: 310145  Size: MF
(1)Fuse Block Connector
(2)Body Control Module (BCM) Connector
(3)Splice Pack 205 (SP205)
(4)Fuse Block
(5)Data Link Connector (DLC)
(6)LH IP Courtesy Lamp
(7)LH IP Courtesy Lamp Socket
(8)LH IP Support to Dash
(9)Left Windshield Pillar Trim Panel
Figure 24:

LH Frame Rail at Body Mount


Object Number: 574025  Size: MF
(1)Frame
(2)Electronic Brake Control Module Ground (GNO)
(3)Manual Selectable Ride Ground (G302)
(4)Automatic Transfer Case/ABS Ground (G110)
Figure 25:

Driver Side B-Pillar Wiring


Object Number: 623131  Size: MF
(1)LH B-Pillar
(2)G305
(3)LH Body Harness
Figure 26:

Left Side Frame Rail -- Brake Components


Object Number: 309937  Size: MF
(1)Ground 302 (G302)
(2)LH Body Mount
(3)Ground Screw
(4)Electronic Brake Control Module (EBCM)
(5)Fuel Tank
Figure 27:

RH "B" Pillar


Object Number: 573989  Size: LF
(1)Instrument Panel
(2)C4 (and C3)
(3)Instrument Panel Wiring Harness Junction Block
(4)C Pillar
(5)Ground 306 (G306)
(6)RH Body Harness
(7)I/P Harness Inline Connector C208
Figure 28:

Below Driver Seat Components (Driver Power Only)


Object Number: 309996  Size: MF
(1)Driver Power Seat Harness
(2)Driver Power Seat Connector
(3)Driver Power Seat Ground 304 (G304)
(4)Driver Power Seat Inline Connector
(5)Harness to IP Electrical Connector
(6)Harness to IP
Figure 29:

Below Front Seats Components (Both w/Power)


Object Number: 309991  Size: MF
(1)Driver Power Seat Electrical Connector
(2)Passenger Power Seat Wiring Harness
(3)Passenger Power Seat Electrical Connector
(4)Inline Wiring Connector (IP)
(5)Power Seat Wiring Harness Connector
(6)Ground 304 (G304)
Figure 30:

RR of the Cab Components (Regular Cab Pickup)


Object Number: 309985  Size: MF
(1)Right Rear Speaker Electrical Connection
(2)Rear Glass
(3)Rear Window Defogger Grid Electrical Connection
(4)Rear Window Defogger Grid Electrical Connector
(5)Rear Inner Body Panel
(6)Right Rear Speaker and Rear Window Defogger Grid Electrical Harness
(7)Ground 306 (G306)
(8)Side (RH) Inner Body Panel
(9)Access Hole (Panel)
(10)Right Rear Speaker Electrical Harness Connection
Figure 31:

Fuel Tank and Sensor (Typical)


Object Number: 309947  Size: MF
(1)Fuel Sender
(2)Ground 403 (G403)
(3)Fuel Filler Ground 302 (G-403)
(4)LH Frame
(5)Fuel Sender (Typical)
Figure 32:

LR of the Cab Components (Regular Cab Pickup)


Object Number: 309987  Size: MF
(1)Left Rear Speaker Electrical Connection
(2)Left Rear Speaker Electrical Harness Connection
(3)Access Hole (Panel)
(4)Left Rear Speaker and Rear Window Defogger Grid Electrical Harness
(5)Left Rear Speaker and Rear Window Defogger Grid Electrical Harness
(6)Rear Inner Body Panel
(7)Rear Window Defogger Grid Electrical Connector
(8)Rear Window Defogger Grid Electrical Connection
(9)Rear Glass
Figure 33:

Rear HVAC Harness


Object Number: 573929  Size: LF
(1)Inner Body Side Panel
(2)Splice Pack 410 (SP410)
(3)Splice Pack 410A (SP410A)
(4)Blower Motor Connector
(5)Auxiliary HVAC Module
(6)Heater Temperature Sensor
(7)Mode Door Connector
(8)Inline Connector 350 (Auxiliary HVAC Harness Side)
(9)Inline Connector 350 (Headliner Harness Side)
(10)Inline Connector 397 (Auxiliary HVAC Harness Side)
(11)Inline Connector 397 (RH Body Harness Side)
Figure 34:

Trailer Receptacle


Object Number: 349942  Size: MF
(1)Platform Assembly Trailer Weight Distribution Hitch
(1)Platform Assembly Trailer Weight Distribution Hitch
(2)Trailer Wiring Receptacle
(3)Trailer Wiring Receptacle Bracket
(3)Trailer Wiring Receptacle Bracket
Figure 35:

Trailer Wiring Harness


Object Number: 349960  Size: MF
(1)Trailer Wiring Connector
(2)Trailer Wiring Receptacle
(3)Frame
(4)Trailer Hitch Receiver
Figure 36:

Rear Frame -- Rear Lamp Components


Object Number: 309877  Size: MF
(1)Rear Lamp Bussing Block Bracket
(2)Rear Lamp Bussing Block
(3)Rear Cross Sill
(4)Rear Lamps Bussing Block Electrical Connector
Figure 37:

LR Frame -- Camper Provision


Object Number: 309959  Size: MF
(1)Camper Wiring Harness
(2)Frame
(3)Camper Wiring Harness Connector