GM Service Manual Online
For 1990-2009 cars only
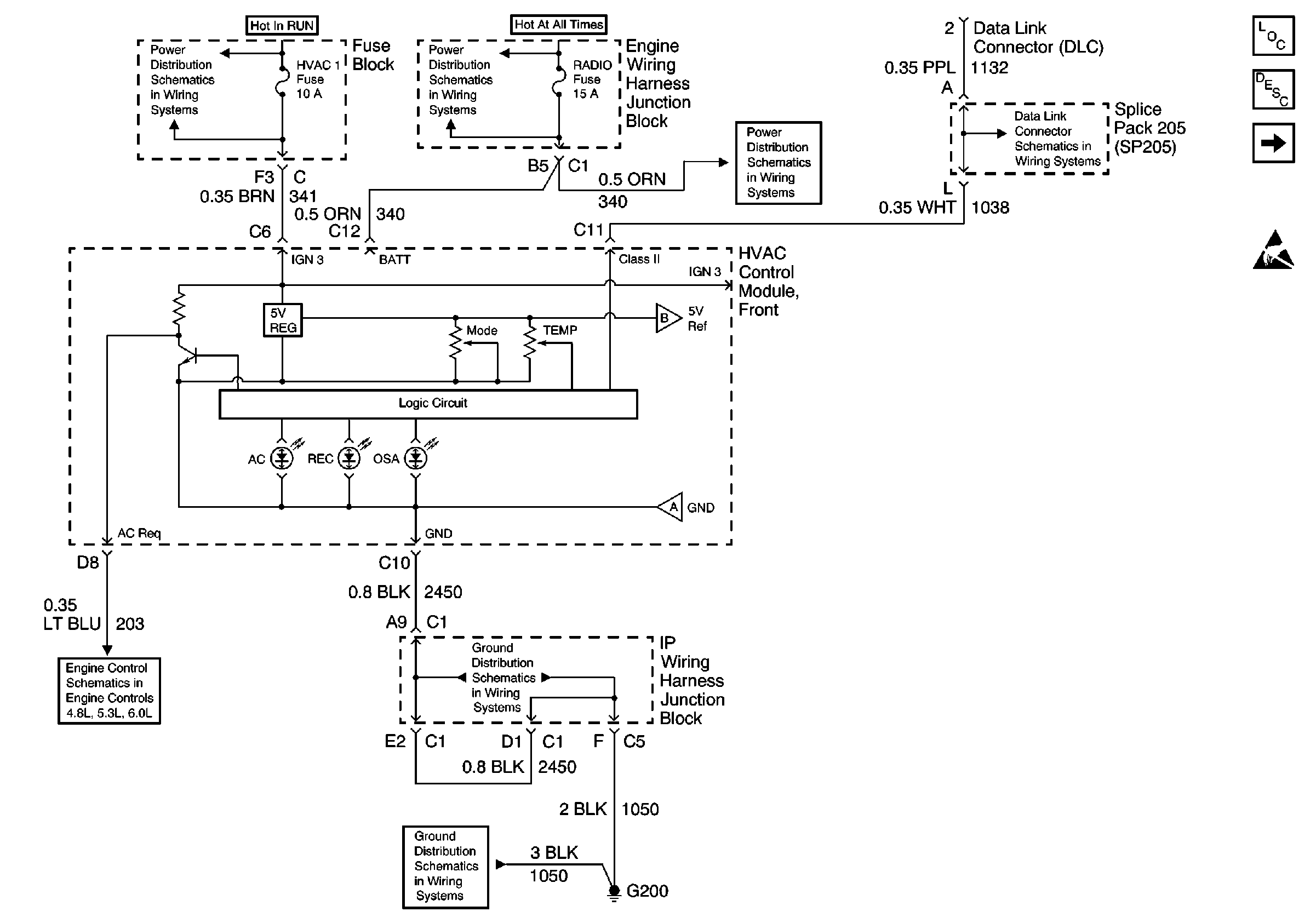
Figure 1:

HVAC Control Module, DLC, G200


Object Number: 527963  Size: FS
HVAC Components
HVAC Air Delivery/Temperature Control Circuit Description
Mode Door Motors, HVAC Control Module
Handling ESD Sensitive Parts Notice
Power Distribution Schematics
Power Distribution Schematics
Power Distribution Schematics
Ground Distribution Schematics
Ground Distribution Schematics
Data Link Connector Schematics
Engine Controls Schematics
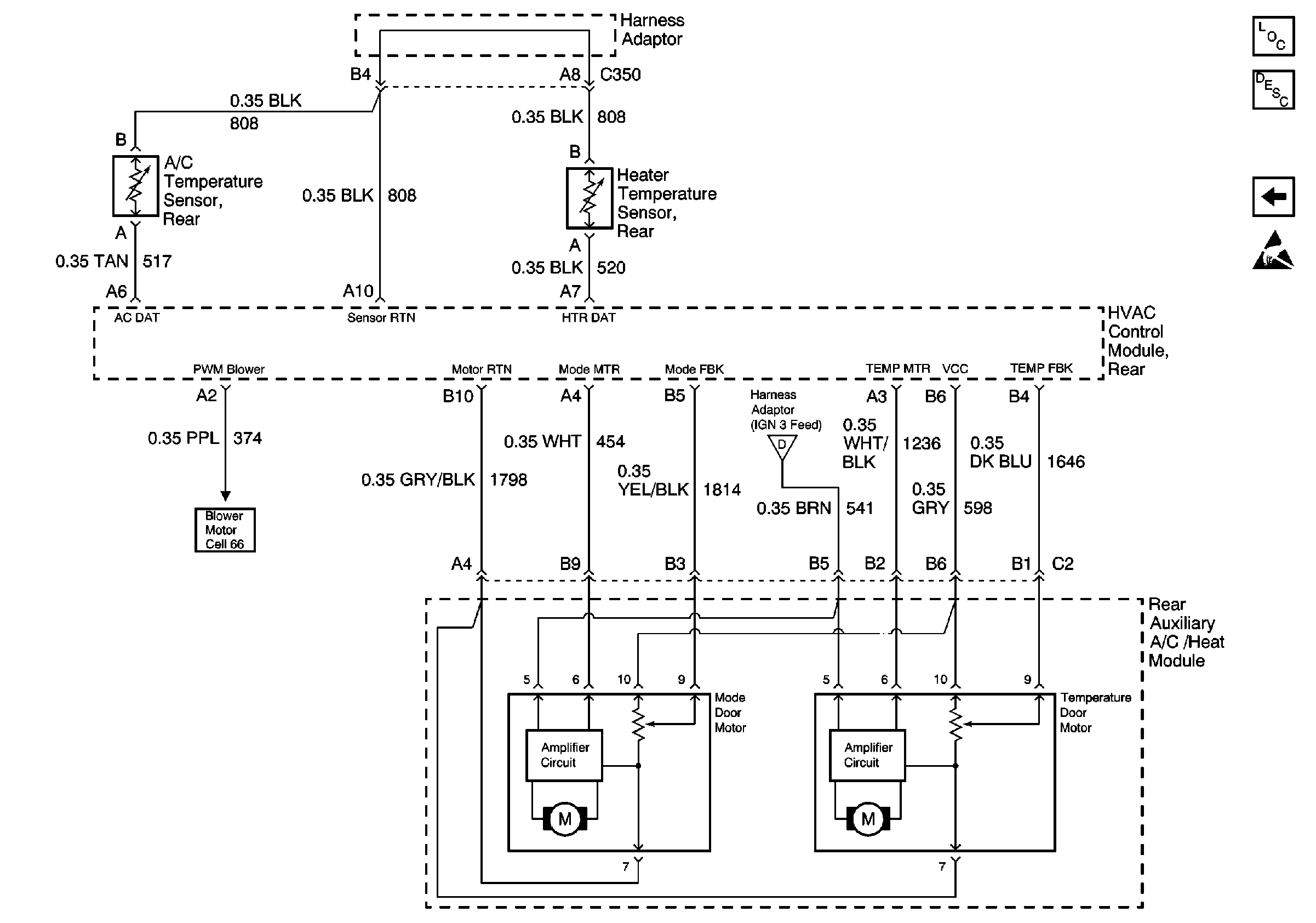
Figure 2:

Mode Door Motors, HVAC Control Module


Object Number: 527997  Size: FS
HVAC Components
HVAC Air Delivery/Temperature Control Circuit Description
HVAC Control Module Rear, Rear Auxiliary HVAC, Control Front -
HVAC Control Module, DLC, G200
Handling ESD Sensitive Parts Notice
Power Distribution Schematics
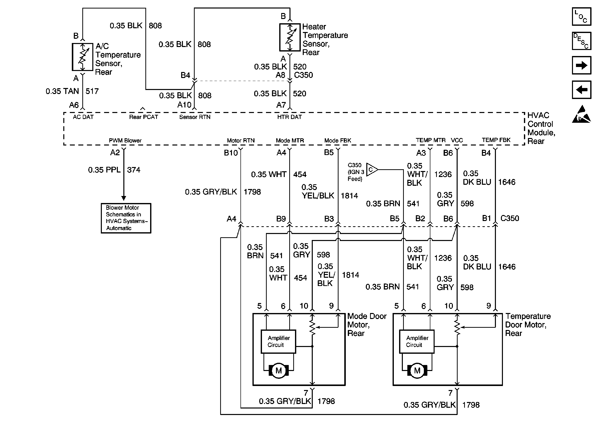
Figure 3:

HVAC Control Module Rear, Rear Auxiliary HVAC, Control Front --


Object Number: 528003  Size: FS
HVAC Components
HVAC Air Delivery/Temperature Control Circuit Description
HVAC Control Module Rear, Rear Auxiliary HVAC, Control Front - Suburban/Yukon XL
Mode Door Motors, HVAC Control Module
Handling ESD Sensitive Parts Notice
Power Distribution Schematics
Power Distribution Schematics
Power Distribution Schematics
Ground Distribution Schematics
Ground Distribution Schematics
Figure 4:

HVAC Control Module Rear, Rear Auxiliary HVAC, Control Front -- Suburban/Yukon XL


Object Number: 528051  Size: FS
HVAC Components
HVAC Air Delivery/Temperature Control Circuit Description
Mode Door Motors Rear, A/C and Heater Temp Sensors - Suburban/Yukon XL
HVAC Control Module Rear, Rear Auxiliary HVAC, Control Front -
Handling ESD Sensitive Parts Notice
Power Distribution Schematics
Power Distribution Schematics
Ground Distribution Schematics
Interior Lights Dimming Schematics Pickup
Figure 5:

Mode Door Motors Rear, A/C and Heater Temp Sensors -- Suburban/Yukon XL


Object Number: 528064  Size: FS
HVAC Components
HVAC Air Delivery/Temperature Control Circuit Description
HVAC Contro Module Rear, Rear Auxiliary, HVAC Control Front, G410 - Suburban/Yukon XL
HVAC Control Module Rear, Rear Auxiliary HVAC, Control Front - Suburban/Yukon XL
Handling ESD Sensitive Parts Notice
Figure 6:

HVAC Contro Module Rear, Rear Auxiliary, HVAC Control Front, G410 -- Suburban/Yukon XL


Object Number: 528069  Size: FS
HVAC Components
HVAC Air Delivery/Temperature Control Circuit Description
Mode Door Motors, A/C and Heater Temp Sensors - Tahoe/Yukon
Mode Door Motors Rear, A/C and Heater Temp Sensors - Suburban/Yukon XL
Handling ESD Sensitive Parts Notice
Power Distribution Schematics
Power Distribution Schematics
Ground Distribution Schematics
Interior Lights Dimming Schematics Pickup
Figure 7:

Mode Door Motors, A/C and Heater Temp Sensors -- Tahoe/Yukon


Object Number: 528074  Size: FS
HVAC Components
HVAC Air Delivery/Temperature Control Circuit Description
HVAC Contro Module Rear, Rear Auxiliary, HVAC Control Front, G410 - Suburban/Yukon XL
Handling ESD Sensitive Parts Notice