GM Service Manual Online
For 1990-2009 cars only
Figure 1:

Driver Door Panel Components (w/o Power Windows)


Object Number: 327887  Size: LF
(1)Door Lock Switch
(2)Door Panel
(3)Door Lock Switch Harness
(4)Armrest
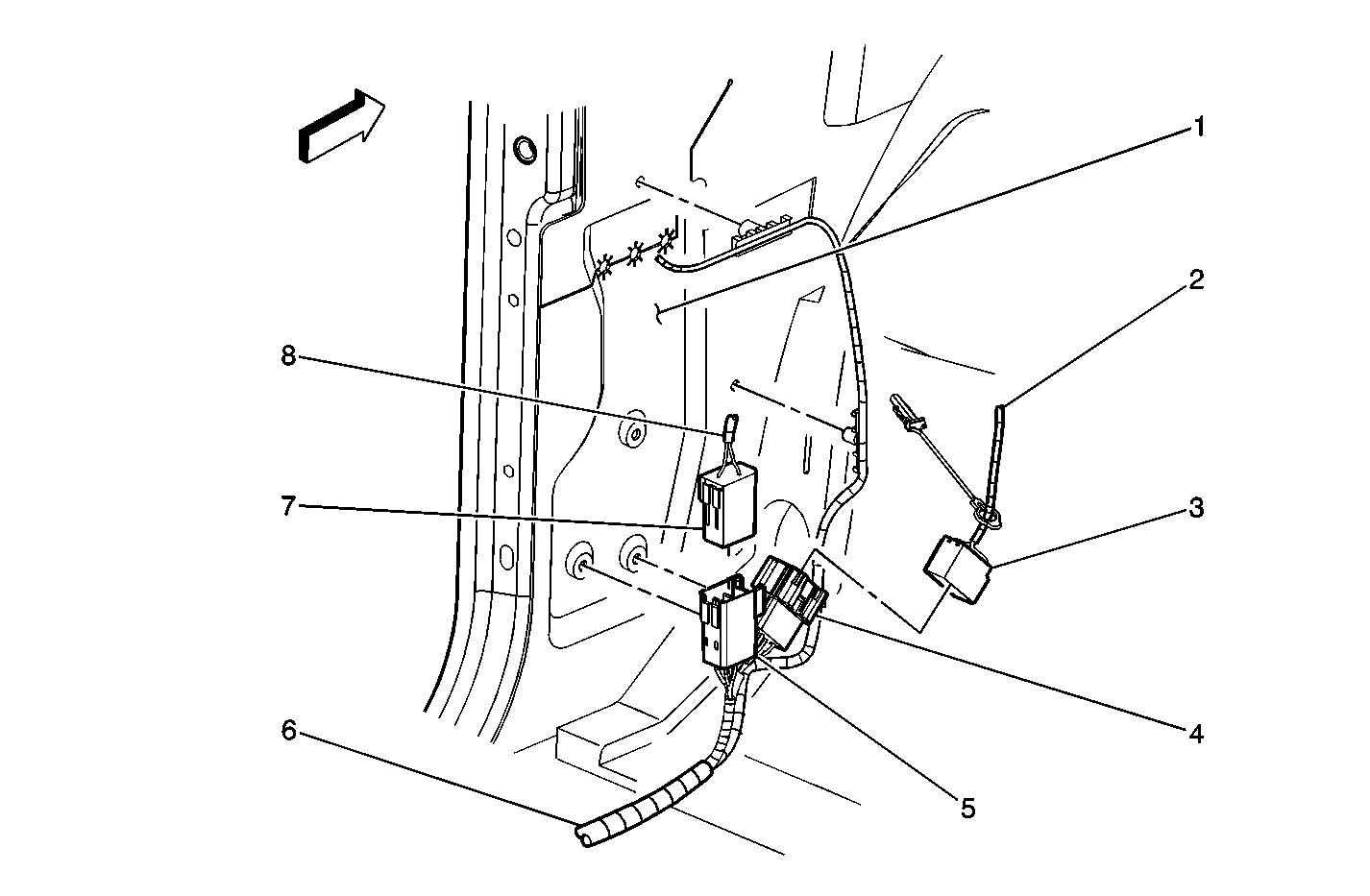
Figure 2:

RH Door Latch Assembly (LH Similar)


Object Number: 349984  Size: MF
(1)Latch Assembly
(2)Door
(3)Harness
(4)Door Handle Switch Connector
(5)Mini-Wedge (Door Jamb Switch) Connector
(6)Power Door Lock Actuator Connector
Figure 3:

Left Outside Power Mirror (RH Opposite)


Object Number: 349975  Size: MF
(1)Outside Power Mirror Electrical Connector
(2)Door
(3)Outside Power Mirror
Figure 4:

Left Door Power Window Motor (RH Opposite)


Object Number: 349981  Size: MF
(1)Speaker Connector
(2)Inside Door Panel
(3)Power Window Motor Electrical Connector
(4)Power Window Motor
Figure 5:

Left Door Panel (RH Opposite)


Object Number: 350036  Size: MF
(1)Heated Seat Switch
(2)Heated Seat Switch Electrical Connector
(3)Left Door Panel
(4)Speaker (Tweeter)
Figure 6:

Left Door, Inside View (RH Similar)


Object Number: 309973  Size: MF
(1)Outside Power Mirror Connector
(2)Harness Inline Connector
(3)Pass Through 500 (P500)
(4)Inline Connector- C200
(5)Harness Inline Connector
(6)Speaker Connector
(7)Door
(8)Power Window Motor Electrical Connector
(9)Power Window Motor Electrical Connector
(10)Power Door Lock Switch Electrical Connector
(11)Power Window Switch Electrical Connector
(12)Power Mirror Switch Electrical Connector
(13)Outside Power Mirror
Figure 7:

Liftgate Wiring Harness to Liftgate


Object Number: 573926  Size: LF
(1)Liftgate with Liftglass
(2)Liftglass Defog Connector
(3)Liftgate Latch Connector
(4)Liftgate Lower Latch Connector
(5)Liftgate Latch Connector
(6)Liftgate Lower Latch Connector
(7)Liftgate Latch Connector
(8)Wiper Motor Connector
(9)Inline Connector Harness
Figure 8:

RR Cargo Door Components (Utility)


Object Number: 573904  Size: LF
(1)Rear Defog Connector
(2)Rear Door Upper Latch
(3)Rear Door Lock Cylinder Connector
(4)Rear Door Lock Actuator Connector
(5)Rear Door Inner Panel
Figure 9:

Rear Cargo-Door Ajar Contact Indicators


Object Number: 573973  Size: MF
(1)Rear Door Inner Panel
(2)RH Door Ajar Connector
(3)Contact Plate
(4)Contact Plate
(5)Rear Door Inner Panel
(6)LH Door Ajar Connectors
Figure 10:

Rear Side Door (Utility)


Object Number: 623033  Size: MF
(1)Door Panel
(2)Power Window Switch
(3)Door Harness Connector
(4)Speaker Connector
(5)Power Window Regulator Connector
(6)Door Lock Connectors
(7)Courtesy Lamp Connector
Figure 11:

LR Door (Suburban) (RR Similar)


Object Number: 623032  Size: MF
(1)Door Panel
(2)Power Window Switch Connector
(3)Door Harness Connector
(4)Speaker Connector
(5)Power Window Connector
(6)Door Lock Connectors
(7)Courtesy Lamp Connector
Figure 12:

Left Kick Panel (2 of 2)


Object Number: 623154  Size: MF
(1)LH Dash Panel Insulator
(2)Door Wiring Harness -LH
(3)Inline Connector C205 (Door Harness Side)
(4)Inline Connector C205 (LH Body Wiring Harness Side)
(5)Inline Connector C204 (LH Body Wiring Harness Side)
(6)Body Wiring Harness-LH
(7)Inline Connector C204 (I/P Harness Side)
(8)Body Harness-LH