GM Service Manual Online
For 1990-2009 cars only

Front Side Door Upper Hinge and Lower Hinge Replacement Bodyside

Doorside Removal Procedure


    Object Number: 383427  Size: SH
  1. Remove all related panels and components.
  2. Remove any excess sealer surrounding the existing hinge and scribe the location of the hinge on the hinge pillar.
  3. Lightly hand-sand the existing hinge with 100 grit or finer sandpaper in order to locate the 4 welds that attach the hinge to the pillar.
  4. Important: Punch the center of the weld so that as much of the weld as possible is removed during the drilling.

  5. Center punch each of the four weld marks on the original hinge base.

  6. Object Number: 383434  Size: SH

    Important: Do not drill into the door (1).

  7. Drill through the hinge base (2) only, at each punch location. Use a 13 mm (1/2 in) rotabroach hole saw (3) or equivalent.
  8. Remove the hinge. If necessary, use a chisel in order to separate the hinge from the door.
  9. Remove all of the remaining weld from the door surface in order to ensure a flush fit of the service hinge.

Installation Procedure


    Object Number: 383439  Size: SH
  1. Repair any damage done to the door during the drilling or the removal of the hinge.
  2. Clean and prepare the backing plate mounting surfaces in order to ensure a flush fit of the backing plate.
  3. Position the service hinge within the scribe marks on the door.
  4. Center punch each hole location on the door according to the service hinge.
  5. Drill a 3 mm (1/8 in) pilot hole at each center punch location.
  6. Important: Drill must be exact size.

  7. Drill an 11.5 mm (29/64 in) hole at the pilot locations.
  8. Clean and prepare all of the bare metal surfaces.
  9. Important: Prior to refinishing, refer to the publication GM 4901M-D-2000 "GM Approved Refinish Materials" for recommended products. Do not combine paint systems. Refer to paint manufacturer's recommendations.

  10. Apply approved anti-corrosion primer.
  11. Apply a full-bodied caulk to the entire hinge mounting surface in order to ensure a proper seal.

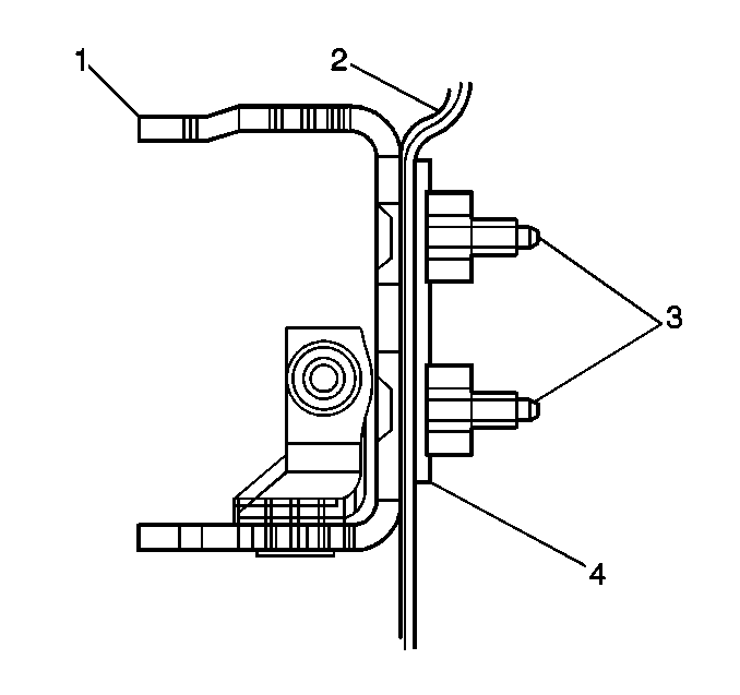
  12. Object Number: 383444  Size: SH
  13. Align the hinge (1) and the backing plate (4) with the holes in the door (2).
  14. Tighten
    Install the bolts (3). Tighten the bolts to 25N·m (18 lb ft).

  15. Apply the sealers.
  16. refinish the metal surfaces as necessary.
  17. Install and align all of the related panels and the components.

Bodyside Removal Procedure


    Object Number: 383394  Size: SH
  1. Remove all related panels and components.
  2. Remove any excess sealer surrounding the existing hinge and scribe the location of the hinge on the hinge pillar.
  3. Lightly hand-sand the existing hinge with 100 grit or finer sandpaper in order to locate the 4 welds that attach the hinge to the pillar.
  4. Important: Punch the center of the weld so that as much of the weld as possible is removed during the drilling.

  5. Center punch each of the four weld marks on the original hinge.

  6. Object Number: 671119  Size: SH

    Important: Do not drill into the hinge pillar (1).

  7. Drill through the hinge base (2)only, at each punch location. Use a 13 mm (1/2 in) rotabroach hole saw (3) or equivalent.
  8. Remove the hinge. If necessary, use a chisel in order to separate the hinge from the pillar.
  9. Remove all of the remaining weld from the pillar surface in order to ensure a flush fit of the service hinge.

Installation Procedure


    Object Number: 383412  Size: SH
  1. Repair any damage done to the pillar during the drilling or the removal of the hinge.
  2. Position the service hinge within the scribe marks on the pillar.
  3. Center punch each stud location on the hinge pillar according to the service hinge.
  4. Drill a 3 mm (1/8 in) pilot hole at each center punch location.
  5. Important: Drill must be exact size.

  6. Drill an 11.5 mm (29/64 in) hole at the pilot locations for the studs.
  7. Clean and prepare all of the bare metal surfaces.
  8. Important: Prior to refinishing, refer to the publication GM 4901M-D-2000 "GM Approved Refinish Materials" for recommended products. Do not combine paint systems. Refer to paint manufacturer's recommendations.

  9. Apply approved anti-corrosion primer.

  10. Object Number: 383416  Size: SH
  11. Feed fish wire (1) , GM P/N  15017229 or the equivalent, through the hinge, the hinge stud hole and out of the conduit hole in the pillar
  12. Install stud (2), GM P/N 15017230, supplied with the service hinge into the wire end. Pull the stud into position.
  13. Hold the stud in position with the hinge and remove the fish wire.
  14. Draw the stud tight through the pillar. Use the nuts GM P/N 11516746 supplied.
  15. Repeat steps 8-11 on the remaining stud locations.
  16. Remove each service nut.
  17. Apply a full-bodied caulk to the entire hinge mounting surface in order to ensure a proper seal.

  18. Object Number: 383424  Size: SH
  19. Install the hinge (2) to the pillar (3). Use the supplied nuts(1).
  20. Tighten
    Tighten the hinge nuts (4) to 25N·m (18 ft lb).

  21. Clean and prepare all of the surfaces a necessary for refinishing.
  22. Apply the sealers. Refinish the surfaces as necessary.
  23. Install and align all of the related panels and the components.

Front Side Door Upper Hinge and Lower Hinge Replacement Doorside

Removal Procedure


    Object Number: 383427  Size: SH
  1. Remove all related panels and components.
  2. Remove any excess sealer surrounding the existing hinge and scribe the location of the hinge on the hinge pillar.
  3. Lightly hand-sand the existing hinge with 100 grit or finer sandpaper in order to locate the 4 welds that attach the hinge to the pillar.
  4. Important: Punch the center of the weld so that as much of the weld as possible is removed during the drilling.

  5. Center punch each of the four weld marks on the original hinge base.
  6. Important: Do not drill into the door.


    Object Number: 383434  Size: SH
  7. Drill through the hinge base only, at each punch location. Use a 13 mm (1/2 in) rotabroach hole saw or equivalent.
  8. Remove the hinge only. If necessary, use a chisel in order to separate the hinge from the door.
  9. Remove all of the remaining weld from the door surface in order to ensure a flush fit of the service hinge.

Installation Procedure


    Object Number: 383439  Size: SH
  1. Repair any damage done to the door during the drilling or the removal.
  2. Clean and prepare the backing plate mounting surfaces in order to ensure a flush fit of the backing plate.
  3. Position the service hinge within the scribe marks on the door.
  4. Center punch each hole location on the door according to the service hinge.
  5. Important: Drill must be exact size.

  6. Drill a 3 mm (1/8 in) pilot hole at each center punch location.
  7. Drill an 11.5 mm (29/64 in) hole at the pilot locations.
  8. Important: Prior to refinishing, refer to the publication GM 4901M-D-2000 "GM Approved Refinish Materials" for recommended products. Do not combine paint systems. Refer to paint manufacturer's recommendations.

  9. Clean and prepare all of the bare metal surfaces.

  10. Object Number: 383444  Size: SH
  11. Apply approved anti-corrosion primer.
  12. Apply a full-bodied caulk to the entire hinge mounting surface in order to ensure a proper seal.
  13. Align the hinge and the backing plate with the holes in the door.
  14. Install the bolts. tighten the bolts to 25N·m (20 lb ft).
  15. Apply the sealers.
  16. refinish the metal surfaces as necessary.
  17. Install and align all of the related panels and the components.