GM Service Manual Online
For 1990-2009 cars only

Front Case Half


    Object Number: 801254  Size: SH
  1. Clean the front case half in cleaning solvent and air dry.
  2. Notice:  Do not nick, scratch or damage the sealing surface. The sealing surface is a machined surface. Damage to the machined surface can cause leakage.

  3. Remove the sealer from the case sealing surfaces.
  4. Inspect the case for being broken or cracked.
  5. Inspect the front output shaft front bearing bore (8) for:
  6. • Spun bearing
    • Cracks
  7. Inspect the input shaft bearing bore (5) for:
  8. • Spun bearing
    • Cracks
  9. Replace the front case half if any of the above is found.
  10. Inspect the sealing surfaces (1) for damage.
  11. Repair small scratches or nicks with a soft stone.
  12. Inspect the front case to transmission case mounting surface for damage.
  13. Inspect the case threaded bolt holes (2) for damage.
  14. Repair any damaged threads.
  15. Inspect the transmission to transfer case studs (4) for damage.
  16. Replace any damaged studs. Refer to Transfer Case Assemble .
  17. Inspect the retaining ring (3) of the annulus gear to ensure it is properly seated.
  18. Inspect the annulus gear (6) for the following:
  19. • Damage or wear
    • Chipped gear teeth
    • Debris embedded in the root of the teeth
  20. Replace the front case half if the annulus gear is damaged.
  21. Inspect the control actuator lever shaft bearing and seal (7) for the following:
  22. • Roughness
    • Pitted rollers
    • Seal torn or damaged
  23. Replace the control actuator lever shaft bearing if it is faulty. Refer to Transfer Case Disassemble and Transfer Case Assemble .
  24. Inspect the dowel pins for being loose or missing.
  25. Repair or replace any damaged dowel pins.
  26. Inspect the front output shaft front bearing and the input shaft bearing for the following:
  27. • Roughness
    • Brinelling
    • Pitting
  28. Replace the bearings if any of the above conditions are found. Refer to Transfer Case Disassemble and Transfer Case Assemble .

Rear Case Half


    Object Number: 801255  Size: SH
  1. Clean the rear case half in cleaning solvent and air dry.
  2. Notice:  Do not nick, scratch or damage the sealing surface. The sealing surface is a machined surface. Damage to the machined surface can cause leakage.

  3. Remove the sealer from the case sealing surfaces.
  4. Inspect the case for being broken or cracked.
  5. Replace the case if it is broken or cracked.
  6. Inspect the sealing surfaces (1) for damage.
  7. Repair small scratches or nicks with a soft stone.
  8. Inspect the case threaded bolt holes for damage.
  9. Repair any damaged threads.
  10. Inspect the oil pump retainer (3) for wear or damage.
  11. Replace the oil pump retainer if faulty.
  12. Inspect the front output shaft rear bearing (2) for the following:
  13. • Roughness
    • Brinelling
    • Pitting
  14. Replace the front output shaft rear bearing if any of the above conditions are found. Refer to Transfer Case Disassemble and Transfer Case Assemble .
  15. Inspect the rear output shaft bearing for the following:
  16. • Roughness
    • Brinelling
    • Pitting
  17. Inspect for a spun bearing bore for the rear output shaft rear bearing.
  18. Replace the case if a bearing has spun.
  19. Inspect the retaining ring (5) for the rear output shaft rear bearing for being bent or twisted.
  20. Replace a faulty retaining ring.
  21. Inspect the rear output shaft bushing (4) for scoring or wear.
  22. Replace a faulty rear output shaft bushing. Refer to Transfer Case Disassemble and Transfer Case Assemble .

  23. Object Number: 765981  Size: SH
  24. Remove the oil pump suction pipe and the oil pump suction hose from the oil pump screen.
  25. Clean the pipe, hose, and screen in cleaning solvent and air dry.
  26. If the screen is embedded with debris, replace the screen.
  27. Inspect the hose for cracking or tears.
  28. Replace the hose if it is faulty.
  29. Inspect the oil pump for free movement.
  30. Replace the oil pump if there is any binding. Do not disassemble the oil pump. The oil pump is serviced as a unit.

Rear Output Shaft


    Object Number: 857317  Size: SH
  1. Clean the rear output shaft in cleaning solvent.
  2. Clean the rear output shaft oil galleries (1) and air dry.
  3. Important: Do not attempt to smooth any roughness in the bearing journals.

  4. Inspect the input gear pilot bearing surface (2) and the clutch housing bearing surface (3) for the following:
  5. • Scoring
    • Pitting
    • Brinelling
    • Excessive wear
  6. Inspect the splines on the rear output shaft for damage or excessive wear. Witness marks at the location of the gears is normal.
  7. Replace the rear output shaft if any of the above conditions are found.

Clutch Components


    Object Number: 801265  Size: SH
  1. Do not clean the inner clutch discs (2) in cleaning solvent.
  2. Inspect the inner clutch discs (2), with the friction material, for the following:
  3. • Worn friction material
    • Grooved or scored friction material
    • Warped
    • Burnt
  4. Inspect the outer clutch discs (3) steel plates for being worn or warped.
  5. Replace the clutch discs if any of the above conditions are found.
  6. Inspect the clutch backing plate (1) for wear.
  7. Replace the clutch backing plate if worn.

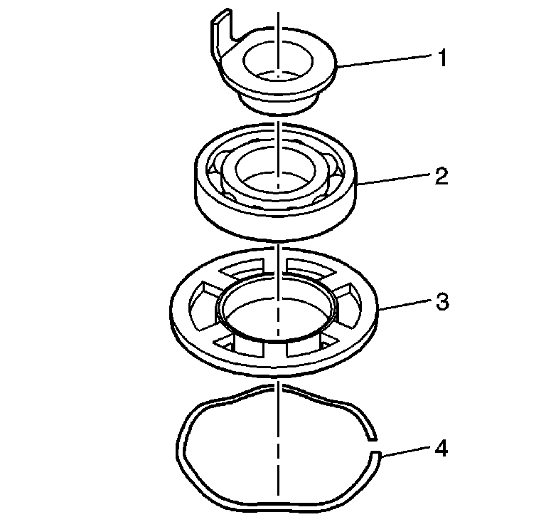
  8. Object Number: 801258  Size: SH
  9. Clean the clutch pressure plate (3), the clutch pressure plate bearing (2) and the clutch pressure plate hub (1) in cleaning solvent and air dry.
  10. Inspect the pressure plate bearing (2) for the following:
  11. • Roughness
    • Brinelling
    • Pitting
    • Broken bearing cage
  12. Replace the pressure plate bearing if it is damaged or worn.
  13. Inspect the clutch pressure plate (1) for wear or damage.
  14. Replace a faulty clutch pressure plate.
  15. Inspect the clutch pressure plate bearing hub (1) for wear or damage.
  16. Replace a faulty clutch pressure plate bearing hub.
  17. Inspect for a damaged clutch spring (4)
  18. Replace a faulty clutch spring.

  19. Object Number: 765988  Size: SH
  20. Clean the clutch housing, with the bearing, in cleaning solvent.
  21. Air dry, and ensure all solvent is removed from the bearing.
  22. Inspect the bearing for wear or damage.
  23. Replace the clutch housing bearing if faulty. Refer to Transfer Case Disassemble and Transfer Case Assemble .
  24. Inspect the clutch housing disc teeth for excessive wear. Excessive wear can be identified by the steps in the teeth, which prevents the clutch disc from moving freely.
  25. Replace the clutch housing if the clutch disc teeth cannot be deburred.

  26. Object Number: 801259  Size: SH
  27. Clean the clutch hub in cleaning solvent and air dry.
  28. Inspect the inner splines of the clutch hub for wear or damage.
  29. Inspect the rear output shaft to the clutch inner hub splines for excessive looseness.
  30. Inspect the clutch hub teeth for excessive wear. Excessive wear can be identified by the steps in the teeth, which prevents the clutch disc from moving freely.
  31. Replace the clutch hub if any of the above conditions are found.

High/Low Planetary Carrier


    Object Number: 886583  Size: SH

    Important: Depending on the version of the NVG 246 transfer case, it may have either a 4 pinion gear or 6 pinion gear planetary carrier assembly. The 4 pinion gear planetary carrier is used with transmission RPO M30 and the input gear splines are 27 teeth. The 6 pinion gear planetary carrier is used with transmission RPO MT1 and MN8 and the input gear splines are 32 teeth. The NVG 236 transfer case uses a 4 pinion carrier assembly. The repair procedures are the same for both planetary carriers.

  1. Clean the high/low planetary carrier in cleaning solvent. Do not disassemble the planetary carrier.
  2. Air dry and ensure all cleaning solvent is removed from the bearings in the planetary gears (3). Do not spin the planetary gears with compressed air.
  3. Inspect the planetary gears for chipped teeth.
  4. Inspect the planetary gears for debris embedded in the root of the teeth.
  5. Inspect for a washer (4) being on each side of the planetary gears.
  6. Inspect the low range teeth (1) for damage or excessive wear.
  7. Inspect the thrust washer surface (2) for scoring or excessive wear.
  8. Replace the high/low planetary carrier if any of the above conditions are found.

Drive Chain and Sprockets


    Object Number: 801261  Size: SH
  1. Clean the drive chain (1), drive sprocket (3), and driven sprocket (2) in cleaning solvent and air dry.
  2. Inspect the drive chain (1) for the following:
  3. • Loose link pins
    • Binding or stiff links
    • Debris embedded in the links
    • Worn teeth surfaces
  4. Replace the chain if any of the above conditions are found.
  5. Inspect the driven sprocket (2) and the drive sprocket (3) for the following:
  6. • Chipped teeth
    • Excessive worn gear surfaces, slight wear marks are normal
    • Debris embedded in the root of the teeth
  7. Replace the sprocket if any of the above conditions are found. The chain and sprockets may be replaced separately.

Front Output Shaft - NVG 246


    Object Number: 801263  Size: SH
  1. Clean the front output shaft in cleaning solvent and air dry.
  2. Inspect the teeth on the speed sensor reluctor wheel (3) for damage.
  3. Replace the speed sensor reluctor wheel if it is damaged. Refer to Transfer Case Disassemble and Transfer Case Assemble .
  4. Inspect the front output shaft rear bearing race (1) for the following:
  5. • Scoring
    • Pitting
    • Brinelling
    • Excessive wear
  6. Inspect the front output shaft splines (2) for damage.
  7. Replace the front output shaft if it is damaged.

Front Output Shaft - NVG 236


    Object Number: 804196  Size: SH
  1. Clean the front output shaft in cleaning solvent and air dry.
  2. Inspect the teeth on the speed sensor reluctor wheel (2) for damage.
  3. Replace the speed sensor reluctor wheel if it is damaged. Refer to Transfer Case Disassemble and Transfer Case Assemble .
  4. Inspect the front output shaft rear bearing race (1) for the following:
  5. • Scoring
    • Pitting
    • Brinelling
    • Excessive wear
  6. Inspect the front output shaft splines (3) for damage.
  7. Inspect the front output shaft seal surface (4) for wear or roughness.
  8. Replace the front output shaft if any of the above conditions are found.

Input Gear


    Object Number: 801264  Size: SH
  1. Clean the input gear, with pilot bearing, in cleaning solvent.
  2. Air dry, and ensure all solvent is removed from the pilot bearing.
  3. Inspect the pilot bearing (1) for the following:
  4. • Pitted
    • Wear
    • Corrosion
  5. Replace the input gear pilot bearing if any of the above conditions are found. Refer to Transfer Case Disassemble and Transfer Case Assemble .
  6. Inspect the input gear engagement teeth (2) for chips.
  7. Inspect the input gear for broken or damaged planetary teeth (3).
  8. Inspect the input gear for debris embedded in the root of the teeth.
  9. Inspect the input gear seal surface for pitting or excessive wear.
  10. Replace the input gear if any of the above conditions are found.

Shift System Components


    Object Number: 801266  Size: SH
  1. Clean the following shift system components in cleaning solvent and air dry:
  2. • The high/low shift fork (1)
    • The range sleeve (2)
    • The clutch lever (3)
    • The shift fork shaft (4)
    • The control actuator lever shaft (5)
  3. Inspect the shift fork shaft for straightness (4).
  4. Replace the shift fork shaft if it is not straight.

  5. Object Number: 801267  Size: SH
  6. Inspect the pads (2) on the shift fork for wear.
  7. Replace the worn pads .
  8. Inspect the roller (1) on the shift fork for wear.
  9. Replace the shift fork if the roller is worn.

  10. Object Number: 801268  Size: SH

    Important: Only disassemble the shift fork assembly if replacing a faulty component.

  11. Inspect the following components of the shift fork assembly for wear or damage:
  12. • The bushing (1)
    • The springs (2)
    • The washer (3)
    • The outer bracket (4)
    • The shift fork (5)
    • The inner bracket (6)

    Object Number: 801270  Size: SH
  13. Inspect the clutch lever roller (2) for the following:
  14. • Wear
    • Rotates easily
  15. Inspect the clutch lever for worn wear pads (1).
  16. Inspect the clutch lever for wear at the pivot pin holes (3).
  17. Replace the clutch lever if the above conditions are found.

  18. Object Number: 801271  Size: SH
  19. Inspect the range sleeve for chipped or excessive worn teeth (1).
  20. Inspect the shift fork collar (2) on the range sleeve for wear.
  21. Inspect the inner splines (3) of the range sleeve for excessive looseness on the input shaft.
  22. Replace the range sleeve if the above conditions are found.

  23. Object Number: 801272  Size: SH
  24. Inspect the shift fork roller slot (1) on the control actuator lever shaft for wear or roughness.
  25. Inspect the bearing (2) and the seal surface on the control actuator lever shaft for the following:
  26. • Pitted
    • Wear
    • Corrosion
  27. Inspect the clutch lever cam lobes (3) on the control actuator lever shaft for wear or roughness.
  28. Replace the control actuator lever shaft if any of the above conditions are found.