GM Service Manual Online
For 1990-2009 cars only

Product Safety Recall-Rearward Folding Head Restraints Pinch Point

Subject:02039 -- Rearward Folding Head Restraints Pinch Point

Models:2000-2002 Chevrolet Tahoe
2000-2002 GMC Yukon
2001-2002 GMC Yukon Denali
2002 Cadillac Escalade



Condition

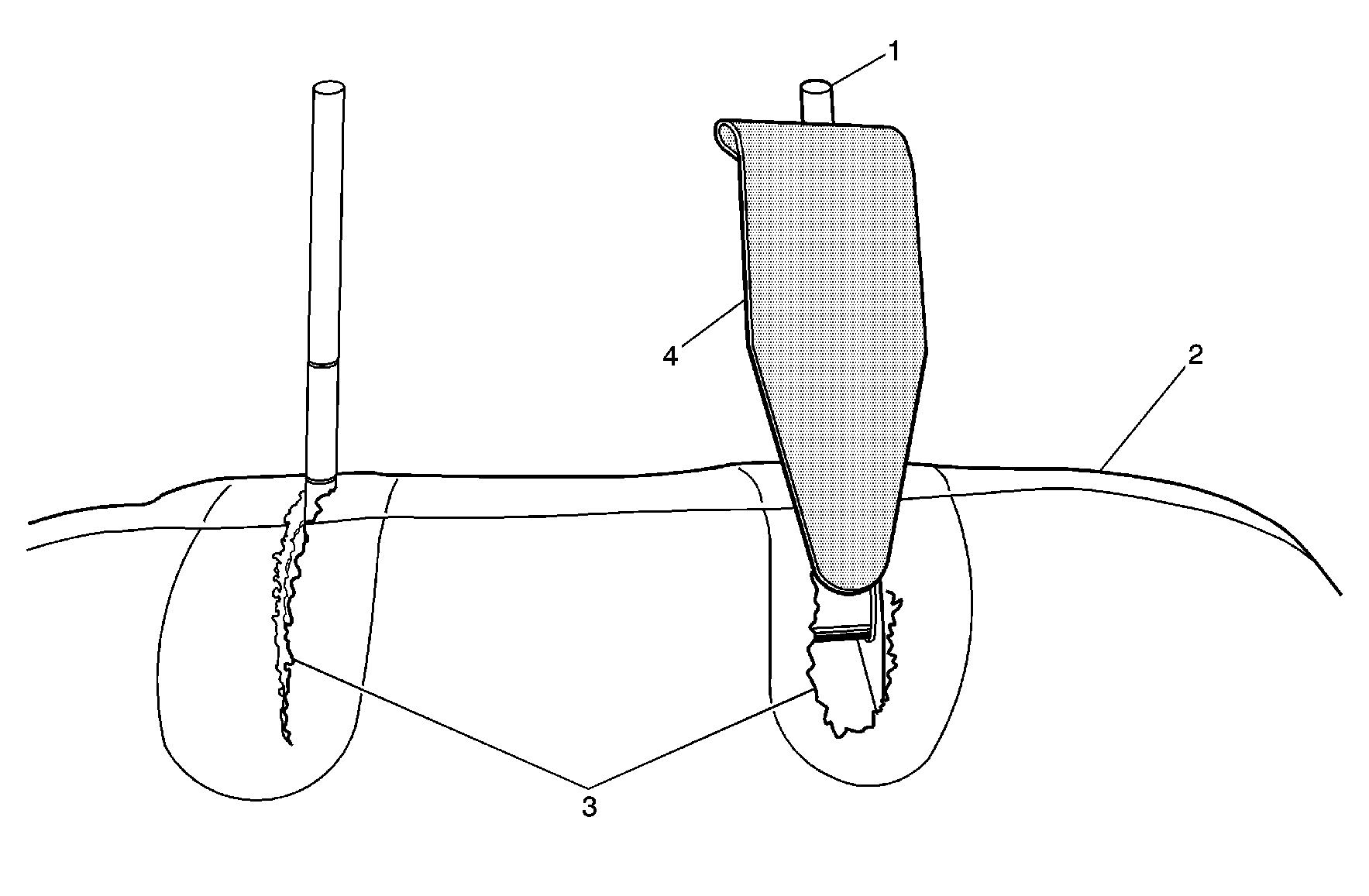
General Motors has decided that a defect which relates to motor vehicle safety exists in certain 2000-2002 Chevrolet Tahoes; 2000-2002 GMC Yukons; 2001-2002 GMC Yukon Denalis; and 2002 Cadillac Escalades equipped with rearward folding head restraints on the second row seats. Two potential pinch points exist on each of the folding head restraints when the head restraint(s) are folded rearward as the seatback is folded down. If a person were to insert their finger(s) into the pinch point when the head restraint folds, it could trap and pinch the finger(s) causing injury.

Correction

Dealers are to install protective covers over the pinch points.

Vehicles Involved

Involved are certain 2000-2002 Chevrolet Tahoes; 2000-2002 GMC Yukons; 2001-2002 GMC Yukon Denalis; and 2002 Cadillac Escalades equipped with rearward folding head restraints on the second row seat and built within these VIN breakpoints:

Year

Division

Model

Plant

From

Through

2000

Chevrolet

Tahoe

Janesville

YJ100004

YJ211878

2001

Chevrolet

Tahoe

Janesville

1J100002

1J318222

Arlington

1R100001

1R228123

2002

Chevrolet

Tahoe

Janesville

2J100001

2J240536

Arlington

2R109204

2R244410

2000

GMC

Yukon

Janesville

YJ100002

YJ211863

2001

GMC

Yukon/Denali

Janesville

1J100005

1J318223

Arlington

1R100002

1R228119

2002

GMC

Yukon/Denali

Janesville

2J100008

2J240555

Arlington

2R109200

2R244411

2002

Cadillac

Escalade

Arlington

2R100001

2R244407

Important: Dealers should confirm vehicle eligibility through GMVIS (GM Vehicle Inquiry System) or GM Access Screen (Canada only) or DCS Screen 445 (IPC only) before beginning recall repairs. [Not all vehicles within the above breakpoints may be involved.]

Involved vehicles have been identified by Vehicle Identification Number. Computer listings containing the complete Vehicle Identification Number, customer name and address data have been prepared, and are being furnished to involved dealers with the recall bulletin. The customer name and address data furnished will enable dealers to follow-up with customers involved in this recall. Any dealer not receiving a computer listing with the recall bulletin has no involved vehicles currently assigned.

These dealer listings may contain customer names and addresses obtained from Motor Vehicle Registration Records. The use of such motor vehicle registration data for any other purpose is a violation of law in several states/provinces/countries. Accordingly, you are urged to limit the use of this listing to the follow-up necessary to complete this recall.

Parts Information

Parts Pre-Ship Information -- For US and Canada

 

Important: An initial supply of parts required to complete this program will be pre-shipped to involved dealers of record. This pre-shipment is scheduled to begin the week of October 28, 2002. Pre-shipped parts will be charged to dealer's open parts account.

Additional parts, if required, are to be obtained from General Motors Service Parts Operations (GMSPO). Please refer to your "involved vehicles listing" before ordering parts. Normal orders should be placed on a DRO = Daily Replenishment Order. In an emergency situation, parts should be ordered on a CSO = Customer Special Order.

Part Number

Description

Qty

88880048

Cover, R/Seat H/Rst Supt (kit of 4 pcs)

1

Service Procedure

The following are instructions for installing support covers on the SECOND ROW rear seat head restraints. There are a total of four (4) covers to be installed (two per head restraint).

  1. Open the rear side doors for access to the second row seat.
  2. Release both rear seat cushions by pulling up on the strap loops located at the rear center of each seat cushion. Once released, continue pulling the seat cushion up and then fold it forward.
  3. Caution: Keep fingers away from the pinch points when the head restraints fold rearward as the seatback is being lowered in the next step.

  4. Raise both second row rear seat head restraints to the full up position and tilt both rear seatbacks forward.

  5. Object Number: 931267  Size: SH
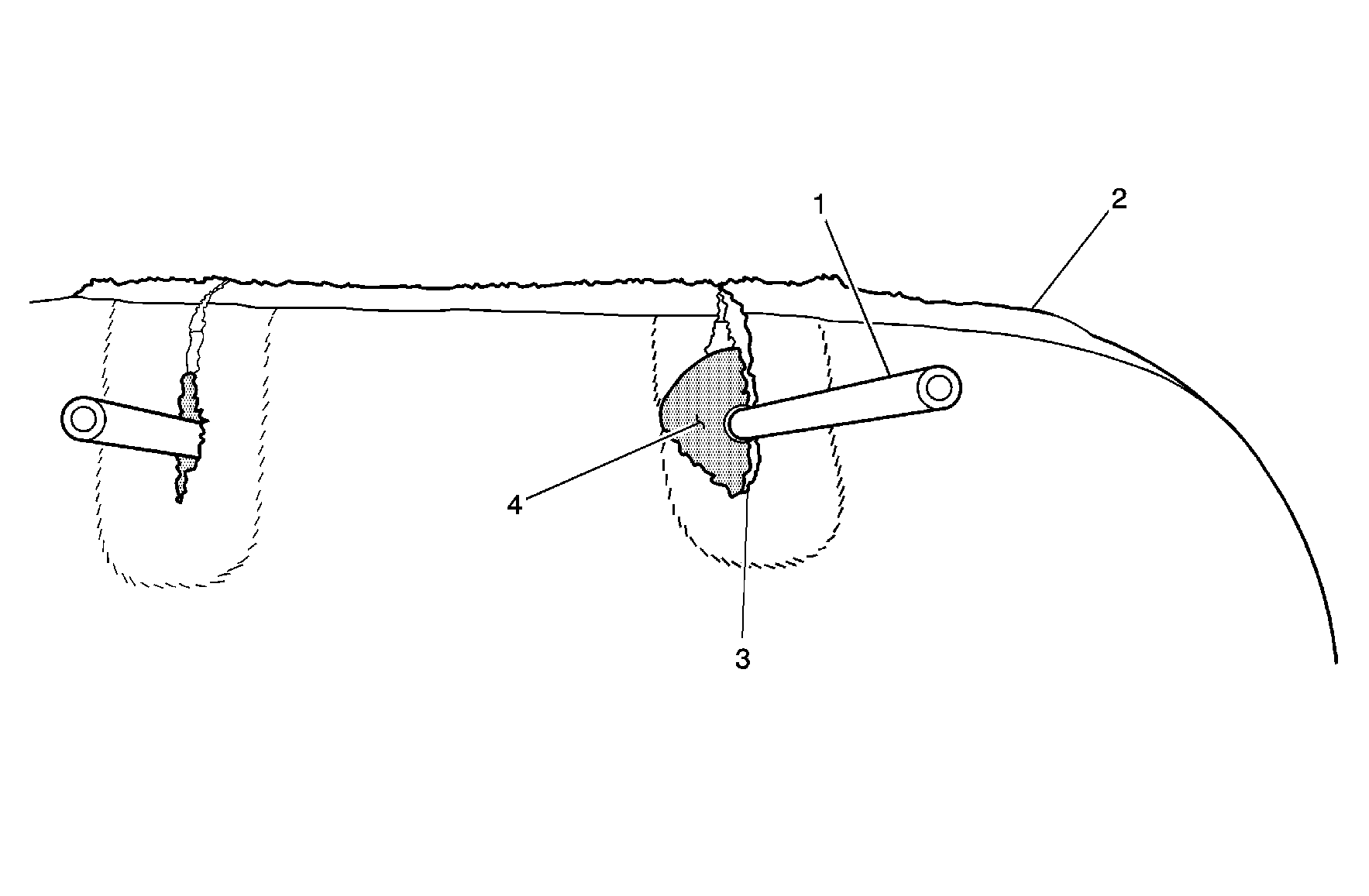
  6. Insert an awl or pointed tool into the small hole (1) in the retainer located at the bottom of the head restraint while slightly pulling upward on the restraint. Repeat this step on the second support of the head restraint.
  7. Remove the head restraint.

  8. Object Number: 922587  Size: MH
  9. Raise the head restraint supports (1) to a vertical position and carefully open the slit (3) in the seatback fabric (2). The illustration shows the left slit being closed and the right slit when open.

  10. Object Number: 922588  Size: MH
  11. Install one support cover (4) on the head restraint (1) with the support going through the hole in the cover.

  12. Object Number: 922590  Size: MH
  13. While holding the slit (3) in the seatback fabric open, begin sliding the cover down inside the seatback as shown.

  14. Object Number: 922591  Size: MH
  15. When the support cover (4) is all the way down on the head restraint support (1), fold (tilt) the head restraint support rearward as shown.

  16. Object Number: 922592  Size: MH
  17. With the head restraint support (1) folded rearward, finish inserting the support cover (4) inside the slit (3) in the seatback. Reposition the seatback fabric as necessary to close the slit in the fabric.
  18. Install a support cover on the other head restraint support.
  19. Install the head restraint on the supports and verify that the head restraint supports fold properly.
  20. Repeat the above procedure on the other second row head restraint supports.
  21. Return the seatbacks and cushions to their normal positions.
  22. Install the GM Recall Identification Label.

Recall Identification Label -- For US and IPC

Place a Recall Identification Label on each vehicle corrected in accordance with the instructions outlined in this Product Recall Bulletin. Each label provides a space to include the program number and the five (5) digit dealer code of the dealer performing the recall service. This information may be inserted with a typewriter or a ball point pen.

Put the Recall Identification Label on a clean and dry surface of the radiator core support in an area that will be visible to people servicing the vehicle. When installing the Recall Identification Label, be sure to pull the tab to allow the adhesion of the clear protective covering. Additional Recall Identification Labels for US dealers can be obtained from Dealer Support Materials by either ordering on the web from DWD Store, gm-dealerworld.com, or calling 1-866-700-0001 (Monday-Friday, 8:00 am to 5:00 pm EST). Request Item Number S-1015 when ordering.

Additional Recall Identification Labels for IPC dealers can be obtained from your Regional Marketing Office.

Recall Identification Label -- For Canada

Place a Recall Identification Label on each vehicle corrected in accordance with the instructions outlined in this Product Recall Bulletin. Each label provides a space to include the recall number and the five (5) digit dealer code of the dealer performing the recall service. This information may be inserted with a typewriter or a ball point pen. Put the Recall Identification Label on a clean and dry surface of the radiator core support in an area that will be visible to people servicing the vehicle. Additional Recall Identification Labels for Canadian dealers can be obtained from DGN by calling 1-800-668-5539 (Monday-Friday, 8:00 a.m. to 5:00 p.m. EST). Ask for Item Number GMP 91 when ordering.

Courtesy Transportation

The General Motors Courtesy Transportation program is intended to minimize customer inconvenience when a vehicle requires a repair that is covered by the New Vehicle Limited Warranty. The availability of courtesy transportation to customers whose vehicles are within the warranty coverage period and involved in a product program is very important in maintaining customer satisfaction. Dealers are to ensure that these customers understand that shuttle service or some other form of courtesy transportation is available and will be provided at no charge. Dealers should refer to the General Motors Service Policies and Procedures Manual for Courtesy Transportation guidelines.

Claim Information

Submit a Product Recall Claim with the information indicated below:

Repair Performed

Part Count

Part No.

Parts Allow

CC-FC

Labor Op

Labor Hours*

Net Item

Install Protective Covers

1

--

**

MA-96

V0894

0.2*

N/A

Courtesy Transportation

N/A

N/A

N/A

MA-96

***

N/A

****

* -- For Recall Administrative Allowance, add 0.1 hours to the "Labor Hours".

** -- The "Parts Allowance" should be the sum total of the current GMSPO Dealer net price plus applicable Mark-Up or Landed Cost Mark-Up (for IPC) for the cover kit needed to complete the repair.

*** -- Submit courtesy transportation using normal labor operations for courtesy transportation as indicated in the GM Service Policies and Procedures Manual.

**** -- The amount identified in the "Net Item" column should represent the actual dollar amount for courtesy transportation.

Refer to the General Motors WINS Claims Processing Manual for details on Product Recall Claim Submission.

Customer Notification -- For US and Canada

Customers will be notified of this recall on their vehicles by General Motors (see copy of customer letter included with this bulletin).

Customer Notification -- For IPC

Letters will be sent to known owners of record located within areas covered by the US National Traffic and Motor Vehicle Safety Act. For owners outside these areas, dealers should notify customers using the attached sample letter.

Dealer Recall Responsibility -- For US and IPC (US States, Territories, and Possessions)

The US National Traffic and Motor Vehicle Safety Act provides that each vehicle which is subject to a recall of this type must be adequately repaired within a reasonable time after the customer has tendered it for repair. A failure to repair within sixty days after tender of a vehicle is prima facie evidence of failure to repair within a reasonable time. If the condition is not adequately repaired within a reasonable time, the customer may be entitled to an identical or reasonably equivalent vehicle at no charge or to a refund of the purchase price less a reasonable allowance for depreciation. To avoid having to provide these burdensome remedies, every effort must be made to promptly schedule an appointment with each customer and to repair their vehicle as soon as possible. In the recall notification letters, customers are told how to contact the US National Highway Traffic Safety Administration if the recall is not completed within a reasonable time.

Dealer Recall Responsibility -- All

All unsold new vehicles in dealers' possession and subject to this recall MUST be held and inspected/repaired per the service procedure of this recall bulletin BEFORE customers take possession of these vehicles.

Dealers are to service all vehicles subject to this recall at no charge to customers, regardless of mileage, age of vehicle, or ownership, from this time forward.

Customers who have recently purchased vehicles sold from your vehicle inventory, and for which there is no customer information indicated on the dealer listing, are to be contacted by the dealer. Arrangements are to be made to make the required correction according to the instructions contained in this bulletin. This could be done by mailing to such customers a copy of the customer letter accompanying this bulletin. Recall follow-up cards should not be used for this purpose, since the customer may not as yet have received the notification letter.

In summary, whenever a vehicle subject to this recall enters your vehicle inventory, or is in your dealership for service in the future, please take the steps necessary to be sure the recall correction has been made before selling or releasing the vehicle.

November, 2002

Dear General Motors Customer:

This notice is sent to you in accordance with the requirements of the National Traffic and Motor Vehicle Safety Act.

Reason For This Recall

General Motors has decided that a defect which relates to motor vehicle safety exists in certain 2000-2002 Chevrolet Tahoes; 2000-2002 GMC Yukons; 2001-2002 GMC Yukon Denalis; and 2002 Cadillac Escalades equipped with rearward folding head restraints on the second row seats. Two potential pinch points exist on each of the folding head restraints when the head restraint(s) are folded rearward as the seatback is folded down. If a person were to insert their finger(s) into the pinch point when the head restraint folds, it could trap and pinch the finger(s) causing injury.

What Will Be Done

Your GM dealer will install protective covers over the pinch point. This service will be performed for you at no charge .

How Long Will The Repair Take?

The length of time required to perform this service correction is approximately 15 minutes. Additional time may be required to schedule and process your vehicle. If you dealer has a large number of vehicles awaiting service, this additional time may be significant. Please ask your dealer if you wish to know how much additional time will be needed to schedule, process and repair your vehicle.

Contacting Your Dealer

Please contact your dealer as soon as possible to arrange a service date. Parts are available and instructions for making this correction have been sent to your dealer.

Your dealer is best equipped to obtain parts and provide services to correct your vehicle as promptly as possible. Should your dealer be unable to schedule a service date within a reasonable time, you should contact the appropriate Customer Assistance Center at the number listed below:

Division

Number

Deaf, Hearing Impaired, or Speech Impaired*

Cadillac

1-800-458-8006

1-800-833-2622

Chevrolet

1-800-222-1020

1-800-833-2438

GMC

1-800-462-8782

1-800-462-8583

GMODC

(905)644-4112

 

Puerto Rico - English

1-800-496-9992

 

Puerto Rico - EspaƱol

1-800-496-9993

 

Virgin Islands

1-800-496-9994

 

* Utilizes Telecommunication Devices for the Deaf/Text Telephones (TDD/TTY)

If, after contacting the appropriate customer assistance center, you are still not satisfied that we have done our best to remedy this condition without charge and within a reasonable time, you may wish to write the Administrator, National Highway Traffic Safety Administration, 400 Seventh Street SW, Washington, DC 20590 or call 1-888-327-4236.

Customer Reply Card

The attached customer reply card identifies your vehicle. Presentation of this card to your dealer will assist in making the necessary correction in the shortest possible time. If you no longer own this vehicle, please let us know by completing the attached and mailing it in the postage paid envelope.

Courtesy Transportation

If your vehicle is within the New Vehicle Limited Warranty, your dealer may provide you with shuttle service or some other form of courtesy transportation while our vehicle is at the dealership for this repair. Please refer to your Owner's Manual and your dealer for details on Courtesy Transportation.

We are sorry to cause you this inconvenience; however, we have taken this action in the interest of your safety and continued satisfaction with our products.

General Motors Corporation

Enclosure