GM Service Manual Online
For 1990-2009 cars only

Product Safety - Front Brake PipeContact with Body Cross Sill

Subject:00093A -- Front Brake Pipe Contact with Body Cross Sill

Models:1999-2000 Chevrolet Silverado and GMC Sierra
2000 Chevrolet Tahoe, Suburban and GMC Yukon, Yukon XL



DUE TO THE AVAILABILITY OF PARTS, THIS CAMPAIGN IS BEING ADMINISTERED IN TWO PHASES. THE FIRST PHASE CONSISTED OF 3/4 TON VEHICLES. THE SECOND AND FINAL PHASE CONSISTS OF 1/2 TON VEHICLES. ENCLOSED IS THE DEALER LISTING FOR INVOLVED VEHICLES IN THIS SECOND PHASE. THIS REVISED CAMPAIGN BULLETIN INCLUDES INFORMATION TO SERVICE THE 1/2 TON VEHICLES. DISCARD CAMPAIGN BULLETIN 00093, DATED JANUARY, 2001.


Condition

General Motors has decided that a defect which relates to motor vehicle safety exists in certain 1999-2000 Chevrolet Silverado and GMC Sierra pickup trucks; and 2000 Chevrolet Tahoe and Suburbans, and GMC Yukon and Yukon XL vehicles. Some of these vehicles have a clearance condition between the front right-hand brake pipe and the body cross sill that may decrease to the point of allowing contact during the life of the vehicle. If contact occurs and the brake pipe becomes damaged, in half of the brake system there can be a loss of brake fluid and pressure. The brake warning lamp will be activated when the brake fluid level reaches the indicator limit. During braking, the pedal will be lower than normal and stopping distances will be longer. If this occurs when stopping distance is limited, a crash could occur.

Correction

Dealers are to inspect the front right-hand brake pipe for wear. If there are signs of wear, dealers are to replace this section of brake pipe with a new brake pipe section. If there are no signs of wear on the brake pipe, dealers are to install a spacer clip to ensure sufficient clearance between the brake pipe and the body cross sill. All 1/2 ton vehicles will have a bracket installed to ensure sufficient clearance between the brake pipe and the body cross sill.

Vehicles Involved

Involved are certain 1999-2000 Chevrolet Silverado and GMC Sierra pickup trucks, and 2000 Chevrolet Tahoe and Suburbans, and GMC Yukon and Yukon XL vehicles built within these VIN breakpoints:

Year

Division

Model

Plant

From

Through

1999

GMC

1500

Oshawa

X1500001

X1571405

1999

GMC

1500

Pontiac East

XE500001

XE851659

1999

GMC

1500

Ft. Wayne

XZ500001

XZ540998

2000

GMC

1500

Oshawa

Y1100003

Y1384256

2000

GMC

1500

Pontiac East

YE100014

YE388894

2000

GMC

1500

Ft. Wayne

YZ100002

YZ344205

2000

GMC

1500

Janesville

YJ100002

YJ181581

2000

GMC

1500

Silao

YG100003

YG205260

1999

GMC

2500

Pontiac East

XE500005

XE555871

1999

GMC

2500

Ft. Wayne

XZ503455

XZ540927

2000

GMC

2500

Pontiac East

YE100001

YE225535

2000

GMC

2500

Ft. Wayne

YZ100158

YZ194084

1999

Chevrolet

1500

Oshawa

X1100001

X1299265

1999

Chevrolet

1500

Pontiac East

XE100002

XE256732

1999

Chevrolet

1500

Ft. Wayne

XZ100001

XZ214624

2000

Chevrolet

1500

Oshawa

Y1100002

Y1384257

2000

Chevrolet

1500

Pontiac East

YE100002

YE388905

2000

Chevrolet

1500

Ft. Wayne

YZ100001

YZ344202

2000

Chevrolet

1500

Janesville

YJ100001

YJ181588

2000

Chevrolet

1500

Silao

YG100004

YG205271

1999

Chevrolet

2500

Pontiac East

XE100001

XE256729

1999

Chevrolet

2500

Ft. Wayne

XZ102058

XZ214601

2000

Chevrolet

2500

Pontiac East

YE100004

YE225562

2000

Chevrolet

2500

Ft. Wayne

YZ100159

YZ194112

Important: Dealers should confirm vehicle eligibility through GMVIS (GM Vehicle Inquiry System) or GM Access Screen (Canada only) or DCS Screen 445 (IPC Only) before beginning campaign repairs. [Not all vehicles within the above breakpoints may be involved.]

Involved vehicles have been identified by Vehicle Identification Number. Computer listings containing the complete Vehicle Identification Number, customer name and address data have been prepared, and are being furnished to involved dealers with the campaign bulletin. The customer name and address data furnished will enable dealers to follow-up with customers involved in this campaign. Any dealer not receiving a computer listing with the campaign bulletin has no involved vehicles currently assigned.

These dealer listings may contain customer names and addresses obtained from Motor Vehicle Registration Records. The use of such motor vehicle registration data for any other purpose is a violation of law in several states/provinces/countries. Accordingly, you are urged to limit the use of this listing to the follow-up necessary to complete this campaign.

Parts Information

Parts required to complete this campaign are to be obtained from General Motors Service Parts Operations (GMSPO). Please refer to your "involved vehicles listing" before ordering parts. Normal orders should be placed on a DRO = Daily Replenishment Order. In an emergency situation, parts should be ordered on a CSO = Customer Special Order.

1500 Series

Part Number

Description

Quantity/Vehicle

15070819

Bracket, Frt Brk C/Ovr Pipe Clip

1

11516569

Bolt, Hex Hd W/Flat Wa

1

12337820

Strap, Adj Tie (4WD Only)

2

15070818

Pipe, Asm Frt Brk Frt (2WD Pickup)

1 (If Required)

15070816

Pipe, Asm Frt Brk Frt (4WD Pickup)

1 (If Required)

15070817

Pipe, Asm Frt Brk Frt (Utility)

1 (If Required)

*15724652

Nut

2 (If Pipe Replaced)

*15758797

Fitting

1 (If Pipe Replaced)

*12377967

Fluid, Hyd Brk

0.5L/1 Pint (If Pipe Replaced)

2500 Series

Part Number

Description

Quantity/Vehicle

15054936

Clip, Front Brake Pipe (2500 Series)

1 (If No Pipe Wear)

15064301

Pipe Asm, Frt Brk Frt (2500 Series)

1 (If Required)

*15724652

Nut

2 (If Pipe Replaced)

*15758797

Fitting

1 (If Pipe Replaced)

*12377967

Fluid, Hyd Brk

0.5L/1 Pint (If Pipe Replaced)

*Part used for both 1500 and 2500 Series vehicles

Service Procedure

1500 Series (1/2 Ton) Vehicles

  1. Raise and support the vehicle.
  2. Figure 1


    Object Number: 769840  Size: SF
    (a)51mm (2 in)
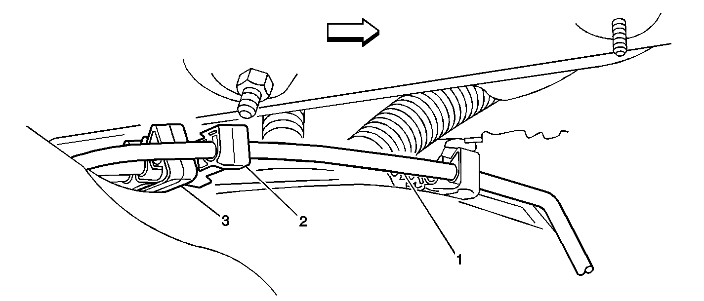
  3. Locate the area just rearward of the driver side front wheel well opening, where the brake pipes leading from the brake pressure modulator valve (BPMV) cross over from the outboard to the inboard side of the frame rail. Refer to Figure 1.
  4. Inspect the brake pipe (1) that leads to the right front brake caliper for any indication that it has been contacted by the body in the area (3) where it is routed over the frame rail.
  5. Based on the results of the inspection performed in Step 3, proceed as indicated below:
  6.  - No brake pipe to body contact -- proceed to Step 19 and install a new additional brake pipe bracket.
     - Brake pipe contacted by body -- proceed to Step 5 and replace the brake pipe section, and then install a new additional brake pipe bracket.
  7. Measure and mark a point on the brake pipe (1) that is 50mm (2 in) forward of the brake pipe clip (2) as shown in Figure 1.
  8. Disconnect the brake pipe (1) leading to the right front brake caliper at the BPMV.
  9. Unclip the disconnected brake pipe (1) from the brake clips located forward of the BPMV.
  10. Position the brake pipe away from the rail and cut/deburr the pipe at the point located in Step 5.
  11. Remove and discard the rear section of the brake pipe (1).
  12. Remove and discard the rear section of the brake pipe (1).
  13. Figure 2


    Object Number: 769847  Size: SF
  14. Install the new brake fitting (2) onto the portion of the brake pipe (1) remaining in the vehicle and double flare the end of the pipe as shown in Figure 2.
  15. Position the new brake pipe (3) in the vehicle and mark it at the point where it is in alignment with the end of the flare on the existing brake pipe (1) as shown in Figure 2.
  16. Remove the new brake pipe (3) and cut/deburr it at the point determined in the previous step.
  17. Install the new brake pipe fitting (2) onto the brake pipe (3) and double flare the end of the pipe.
  18. Figure 3


    Object Number: 769852  Size: SF
  19. Install the new brake pipe (1) in the vehicle and connect it to the existing pipe (3) by hand starting the union (4) to the fittings (2) as shown in Figure 3.
  20. Hand start the fitting on the opposite end of the new brake pipe (1) to the BPMV.
  21. Install the brake pipes (1 & 3) into the seven brake pipe clips to ensure that the pipes are positioned correctly.
  22. Tighten the brake pipe fittings (2) and the fitting at the BPMV using a back-up wrench on the union (4) when tightening the fittings (2).
  23. Tighten
    Tighten the fittings to 30 N·m (22 lb ft).

  24. Bleed the brake system. Refer to the Automated Bleed Procedure in the applicable Service Manual.
  25. Figure 4


    Object Number: 782554  Size: MH
    (a)20mm
    (b)26mm
  26. On the body-mount-frame bracket, located just rearward of the left (driver's side) front wheel well opening, locate and mark a point on the bracket's surface, as shown in Figure 4.
  27. Important: To protect the brake pipes and the wiring harnesses during drilling operations, insert a thin, piece of sheet metal between the mount bracket and the brake pipes.

  28. Being careful not to damage or displace the brake pipes, drill an 8mm hole through the mount bracket at the point located in the previous step.
  29. Figure 5


    Object Number: 782556  Size: SH
  30. Position the new brake pipe bracket (6) over the brake pipes as shown in Figure 5, and hand start the new brake pipe bracket retaining bolt (7) through the mount bracket and into the pipe bracket (6).
  31. Maintaining the bracket (6) in the position shown in Figure 5, tighten the bolt (7).
  32. Tighten
    Tighten the bolt to 7 N·m (5 lb ft).

    Figure 6


    Object Number: 782559  Size: SH
  33. Secure the 4X4 harness to the chassis harness (9) with tie straps (8), P/N 12337820, fore and aft of the frame body mount bracket as shown in Figure 6. If the truck is 2WD, tie straps are not required.
  34. Inspect the wiring harness routing to ensure that there is no contact between the harness and the new brake pipe bracket retaining bolt.
  35. Lower the vehicle.
  36. Install the GM Campaign Identification Label.

2500 Series (3/4 Ton) Vehicles

  1. Raise and support the vehicle.
  2. Figure 1


    Object Number: 769840  Size: SF
    (a)51mm (2 in)
  3. Locate the area just rearward of the driver side front wheel well opening, where the brake pipes leading from the brake pressure modulator valve (BPMV) cross over from the outboard to the inboard side of the frame rail. Refer to Figure 1.
  4. Inspect the brake pipe (1) that leads to the right front brake caliper, for any indication that it has been contacted by the body in the area (3) where it is routed over the frame rail.
  5. Based on the results of the inspection performed in Step 3, proceed as indicated below:
  6.  - No brake pipe to body contact -- proceed to Step 5 and install new additional brake pipe clip.
     - Brake pipe contacted by body -- proceed to Step 8 and replace the brake pipe section.

    Figure 2


    Object Number: 769846  Size: SF
  7. Cut off the most inboard retaining feature of the brake pipe bundle clip (3) as shown in Figure 2.
  8. Position the new brake pipe bundle clip (2) directly forward of the existing brake clip (3) and install the clip over the three pipes that are routed outboard of the brake pipe (1) as shown in Figure 2.
  9. Insert the brake pipe (1) into the inboard retaining feature of the new brake clip (2) and snap the clip closed. Proceed to Step 22.
  10. Measure and mark a point on the brake pipe (1) that is 51mm (2 in) forward of the brake pipe clip (2) as shown in Figure 1.
  11. Disconnect the brake pipe (1) leading to the right front brake caliper at the BPMV.
  12. Unclip the disconnected brake pipe (1) from the seven brake clips located forward of the BPMV.
  13. Position the pipe away from the frame rail and cut/deburr the pipe at the point located in Step 8.
  14. Remove and discard the rear section of the brake pipe (1).
  15. Figure 3


    Object Number: 769847  Size: SF
  16. Install the new brake fitting (2) onto the portion of the brake pipe (1) remaining in the vehicle and double flare the end of the pipe as shown in Figure 3.
  17. Position the new brake pipe (3) in the vehicle and mark it at the point where it is in alignment with the end of the flare on the existing brake pipe (1) as shown in Figure 3.
  18. Remove the new brake pipe (3) and cut/deburr it at the point determined in the previous step.
  19. Install the new brake pipe fitting (2) onto the brake pipe (3) and double flare the end of the pipe.
  20. Figure 4


    Object Number: 769852  Size: SF
  21. Install the new brake pipe (1) in the vehicle and connect it to the existing pipe (3) by hand starting the union (4) to the fittings (2) as shown in Figure 4.
  22. Hand start the fitting on the opposite end of the new brake pipe (1) to the BPMV.
  23. Install the brake pipes (1 & 3) into the seven brake pipe clips to ensure that the pipes are positioned correctly.
  24. Tighten the brake pipe fittings (2) and the fitting at the BPMV using a back-up wrench on the union (4) when tightening the fittings (2).
  25. Tighten
    Tighten the fittings to 30 N·m (22 lb ft).

  26. Bleed the brake system. Refer to the Automated Bleed Procedure in the applicable Service Manual.
  27. Lower the vehicle.
  28. Install the GM Campaign Identification Label.

Campaign Identification Label

FOR US AND IPC

Place a Campaign Identification Label on each vehicle corrected in accordance with the instructions outlined in this Product Campaign Bulletin. Each label provides a space to include the campaign number and the five (5) digit dealer code of the dealer performing the campaign service. This information may be inserted with a typewriter or a ball point pen.

Put the Campaign Identification Label on a clean and dry surface of the radiator core support in an area that will be visible to people servicing the vehicle. When installing the Campaign Identification Label, be sure to pull the tab to allow the adhesion of the clear protective covering. Additional Campaign Identification Labels for US dealers can be obtained from Dealer Support Material by calling 1-888-549-6152 (Monday-Friday, 8:00 am to 5:00 pm EST). Ask for Item Number S-1015 when ordering.

Additional Campaign Identification Labels for IPC dealers can be obtained from your Regional Marketing Office.

Campaign Identification Label

FOR CANADA

Place a Campaign Identification Label on each vehicle corrected in accordance with the instructions outlined in this Product Campaign Bulletin. Each label provides a space to include the campaign number and the five (5) digit dealer code of the dealer performing the campaign service. This information may be inserted with a typewriter or a ball point pen.

Put the Campaign Identification Label on a clean and dry surface of the radiator core support in an area that will be visible to people servicing the vehicle. Additional Campaign Identification Labels for Canadian dealers can be obtained from DGN by calling 1-800-668-5539 (Monday-Friday, 8:00 am to 5:00 pm EST). Ask for Item Number GMP 91 when ordering.

Claim Information

Submit a Product Campaign Claim with the information indicated below:

Repair Performed

Part Count

Part No.

Parts Allow

CC-FC

Labor Op

Model

Labor Hours*

Inspect Brake Pipe and Install Spacer Clip/Bracket - (No Brake Pipe Wear)

1

--

**

MA-96

V0609

1500

0.3

2500

0.2

Inspect and Repair Brake Pipe (Inc. Bracket Installation on 1500)

1

--

**

MA-96

V0610

1500

1.1

2500

1.0

* -- For Campaign Administrative Allowance, add 0.1 hours to the "Labor Hours".

** -- The "Parts Allowance" should be the sum total of the current GMSPO Dealer net price plus applicable Mark-Up or Landed Cost Mark-Up (for IPC) for parts needed to complete the repair.

Refer to the General Motors WINS Claims Processing Manual for details on Product Campaign Claim Submission.

Customer Notification

FOR US AND CANADA

Customers will be notified of this campaign on their vehicles by General Motors (see copy of customer letter included with this bulletin).

Customer Notification

FOR IPC

Letters will be sent to known owners of record located within areas covered by the US National Traffic and Motor Vehicle Safety Act. For owners outside these areas, dealers should notify customers using the attached suggested dealer letter.

Dealer Campaign Responsibility

FOR US AND IPC (US States, Territories, and Possessions)

The US National Traffic and Motor Vehicle Safety Act provides that each vehicle which is subject to a recall campaign of this type must be adequately repaired within a reasonable time after the customer has tendered it for repair. A failure to repair within sixty days after tender of a vehicle is prima facie evidence of failure to repair within a reasonable time. If the condition is not adequately repaired within a reasonable time, the customer may be entitled to an identical or reasonably equivalent vehicle at no charge or to a refund of the purchase price less a reasonable allowance for depreciation. To avoid having to provide these burdensome remedies, every effort must be made to promptly schedule an appointment with each customer and to repair their vehicle as soon as possible. In the recall campaign notification letters, customers are told how to contact the US National Highway Traffic Safety Administration if the campaign is not completed within a reasonable time.

Dealer Campaign Responsibility

FOR ALL

All unsold new vehicles in dealers' possession and subject to this campaign MUST be held and inspected/repaired per the service procedure of this campaign bulletin BEFORE customers take possession of these vehicles.

Dealers are to service all vehicles subject to this campaign at no charge to customers, regardless of mileage, age of vehicle, or ownership, from this time forward.

Customers who have recently purchased vehicles sold from your vehicle inventory, and for which there is no customer information indicated on the dealer listing, are to be contacted by the dealer. Arrangements are to be made to make the required correction according to the instructions contained in this bulletin. This could be done by mailing to such customers a copy of the customer letter accompanying this bulletin. Campaign follow-up cards should not be used for this purpose, since the customer may not as yet have received the notification letter.

In summary, whenever a vehicle subject to this campaign enters your vehicle inventory, or is in your dealership for service in the future, please take the steps necessary to be sure the campaign correction has been made before selling or releasing the vehicle.

February, 2001

Dear General Motors Customer:

This notice is sent to you in accordance with the requirements of the National Traffic and Motor Vehicle Safety Act.

Reason For This Recall

General Motors has decided that a defect which relates to motor vehicle safety exists in certain 1999-2000 Chevrolet Silverado and GMC Sierra pickup trucks; and 2000 Chevrolet Tahoe and Suburbans, and GMC Yukon and Yukon XL vehicles. Some of these vehicles have a clearance condition between the front right-hand brake pipe and the body cross sill that may decrease to the point of allowing contact during the life of the vehicle. If contact occurs and the brake pipe becomes damaged, in half of the brake system there can be a loss of brake fluid and pressure. The brake warning lamp will be activated when the brake fluid level reaches the indicator limit. During braking, the pedal will be lower than normal and stopping distances will be longer. If this occurs when stopping distance is limited, a crash could occur.

What Will Be Done

Your dealer will inspect the front right-hand brake pipe and ensure sufficient clearance between the brake pipe and the body cross sill. During this inspection, if the brake pipe shows signs of wear, your dealer will replace this section of brake pipe. This service will be performed for you at no charge .

How Long Will The Repair Take?

The length of time required to perform this service procedure is approximately twenty minutes. If the brake pipe should require replacement, another 50 minutes will be required. Additional time may be required to schedule and process your vehicle. If you dealer has a large number of vehicles awaiting service, this additional time may be significant. Please ask your dealer if you wish to know how much additional time will be needed to schedule, process and repair your vehicle.

Contacting Your Dealer

Please contact your dealer as soon as possible to arrange a service date. Parts are available and instructions for making this correction have been sent to your dealer.

Your dealer is best equipped to obtain parts and provide services to correct your vehicle as promptly as possible. Should your dealer be unable to schedule a service date within a reasonable time, you should contact the appropriate Customer Assistance Center at the number listed below:

Division

Number

Deaf, Hearing Impaired, or Speech Impaired*

Chevrolet

1-800-222-1020

1-800-833-2438

GMC

1-800-462-8782

1-800-462-8583

GMODC

(905)644-4112

 

Puerto Rico - English

1-800-496-9992

 

Puerto Rico - EspaƱol

1-800-496-9993

 

Virgin Islands

1-800-496-9994

 

* Utilizes Telecommunication Devices for the Deaf/Text Telephones (TDD/TTY)

If, after contacting the appropriate customer assistance center, you are still not satisfied that we have done our best to remedy this condition without charge and within a reasonable time, you may wish to write the Administrator, National Highway Traffic Safety Administration, 400 Seventh Street SW, Washington, DC 20590 or call 1-888-327-4236.

Customer Reply Card

The attached customer reply card identifies your vehicle. Presentation of this card to your dealer will assist in making the necessary correction in the shortest possible time. If you no longer own this vehicle, please let us know by completing the attached and mailing it in the postage paid envelope.

We are sorry to cause you this inconvenience; however, we have taken this action in the interest of your safety and continued satisfaction with our products.

General Motors Corporation

Enclosure