GM Service Manual Online
For 1990-2009 cars only

Object Number: 337361  Size: MF
Engine Controls Components
MAP, TPS, MAF, IAC, ECT
OBD II Symbol Description Notice
Handling ESD Sensitive Parts Notice
Handling ESD Sensitive Parts Notice

Circuit Description

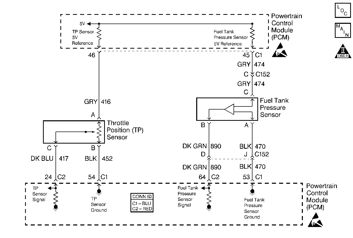
The powertrain control module (PCM) uses a common 5 volt reference circuit as a sensor feed to the fuel tank pressure sensor and the throttle position (TP) sensor.

The PCM monitors the voltage on the 5 volt reference circuit. This diagnostic trouble code DTC sets if the voltage is out of range.

Conditions for Running the DTC

The engine operating.

Conditions for Setting the DTC

    • The 5 volt reference circuit is out of range.
    • The above condition is present for more than 2 seconds.

Action Taken When the DTC Sets

    • The PCM illuminates the malfunction indicator lamp (MIL) on the second consecutive ignition cycle that the diagnostic runs and fails.
    • The PCM records the operating conditions at the time the diagnostic fails. The first time the diagnostic fails, the PCM stores this information in the Failure Records. If the diagnostic reports a failure on the second consecutive ignition cycle, the PCM records the operating conditions at the time of the failure. The PCM writes the conditions to the Freeze Frame and updates the Failure Records.

Conditions for Clearing the MIL/DTC

    • The PCM turns OFF the malfunction indicator lamp (MIL) after 3 consecutive ignition cycles that the diagnostic runs and does not fail.
    • A last test failed, or current DTC, clears when the diagnostic runs and does not fail.
    • A history DTC clears after 40 consecutive warm-up cycles, if no failures are reported by this or any other emission related diagnostic.
    • Use a scan tool in order to clear the MIL and the DTC.

Diagnostic Aids

Important: Remove any debris from the PCM connector surfaces before servicing the PCM. Inspect the PCM connector gaskets when diagnosing or replacing the PCM. Ensure that the gaskets are installed correctly. The gaskets prevent water intrusion into the PCM.

Using the Freeze Frame and/or Failure Records data may aid in locating an intermittent condition. If you cannot duplicate the DTC, the information included in the Freeze Frame and Failure Records data can help determine how many miles since the DTC set. The Fail Counter and Pass Counter can also help determine how many ignition cycles the diagnostic reported a pass and a fail. Operate the vehicle within the same Freeze Frame conditions such as RPM, load, vehicle speed, temperature etc. that you observed. This will isolate when the DTC failed. For an intermittent condition, refer to Symptoms .

Test Description

The numbers below refer to the step numbers on the diagnostic table.

  1. The 5  volt reference circuits for the sensors are connected together inside the PCM. Both DTCs P1635 and P1639 set at the same time, indicates a 5 volt reference circuit is shorted to a voltage.

  2. The 5 volt reference circuits for the sensors are connected together inside the PCM. When only P1639 is set, this indicates a short to ground on one of the 5 volt reference circuits.

  3. This step determines if a 5 volt reference circuit is shorted to ground.

  4. The 5 volt reference circuits may be shorted to another PCM circuit. The shorted circuit may not be apparent when the PCM harness connector is disconnected. Testing continuity from each 5 volt reference circuit isolates the shorted circuit.

Step

Action

Value(s)

Yes

No

1

Did you perform the Powertrain On-Board Diagnostic (OBD) System Check?

--

Go to Step 2

Go to Powertrain On Board Diagnostic (OBD) System Check

2

  1. Install a scan tool.
  2. Start the engine.
  3. Idle the engine for 2 minutes.
  4. Monitor the DTCs using a scan tool.

Did both DTCs P1635 and P1639 fail this ignition?

--

Go to DTC P1635 5 Volt Reference 1 Circuit

Go to Step 3

3

Did DTC P1639 fail this ignition?

--

Go to Step 5

Go to Step 4

4

  1. Turn ON the ignition, leaving the engine OFF.
  2. Review the Freeze Frame and Failure Records data for this DTC and observe the parameters.
  3. Turn OFF the ignition for 15 seconds.
  4. Start the engine.
  5. Operate the vehicle within the conditions required for this diagnostic to run, and as close to the conditions recorded in the Freeze Frame and Failure Records as possible. Special operating conditions that you need to meet before the PCM will run this diagnostic, where applicable, are listed in the Conditions for Running the DTC.
  6. Select the Diagnostic Trouble Code (DTC) option, the Specific DTC option, then enter the DTC number using the scan tool.

Does the scan tool indicate the DTC set this ignition?

--

Go to Step 5

Go to Diagnostic Aids

5

  1. Turn OFF the ignition.
  2. Disconnect the PCM connector C1. Refer to Powertrain Control Module Replacement .
  3. Connect the J 35616-200 Test Lamp to B+.
  4. Probe the PCM connector 5 volt reference circuits for the following components:
  5. • The TP sensor
    • The fuel tank pressure sensor

Does the test lamp illuminate for any of the circuits?

--

Go to Step 7

Go to Step 6

6

Test continuity from each 5 volt reference circuit to all other PCM circuits at the PCM harness connector using the DMM. Example: probe one lead to the TP sensor 5 volt reference at the PCM harness connector circuit and probe the other lead to each terminal at the PCM harness connector. This must be performed for each 5 volt reference circuit. Refer to Testing for Continuity in Wiring Systems .

Do any of the circuits indicate a resistance within the specified range?

0-2 ohms

Go to Step 8

Go to Step 9

7

Repair the short to ground on the appropriate 5 volt reference circuit. Refer to Wiring Repairs in Wiring Systems .

Is the action complete?

--

Go to Step 10

--

8

Repair the short between the appropriate 5 volt reference circuit and the PCM circuit that had continuity. Refer to Wiring Repairs in Wiring Systems.

Is the action complete?

--

Go to Step 10

--

9

Important:: Program the replacement PCM.

Replace the PCM. Refer to Powertrain Control Module Replacement .

Is the action complete?

--

Go to Step 10

--

10

  1. Select the Diagnostic Trouble Codes (DTC) option and the Clear DTC Information option using the scan tool.
  2. Idle the engine at the normal operating temperature.
  3. Select the Specific DTC option under the Diagnostic Trouble Code (DTC) option using a scan tool.
  4. Operate the vehicle within the Conditions for Running the DTC as specified in the supporting text, if applicable.

Does the scan tool indicate that this test ran and passed?

--

Go to Step 11

Go to Step 2

11

Select the Capture Info option and the Review Info option using the scan tool.

Are any DTCs displayed that you have not diagnosed?

--

Go to the applicable DTC table

System OK