GM Service Manual Online
For 1990-2009 cars only

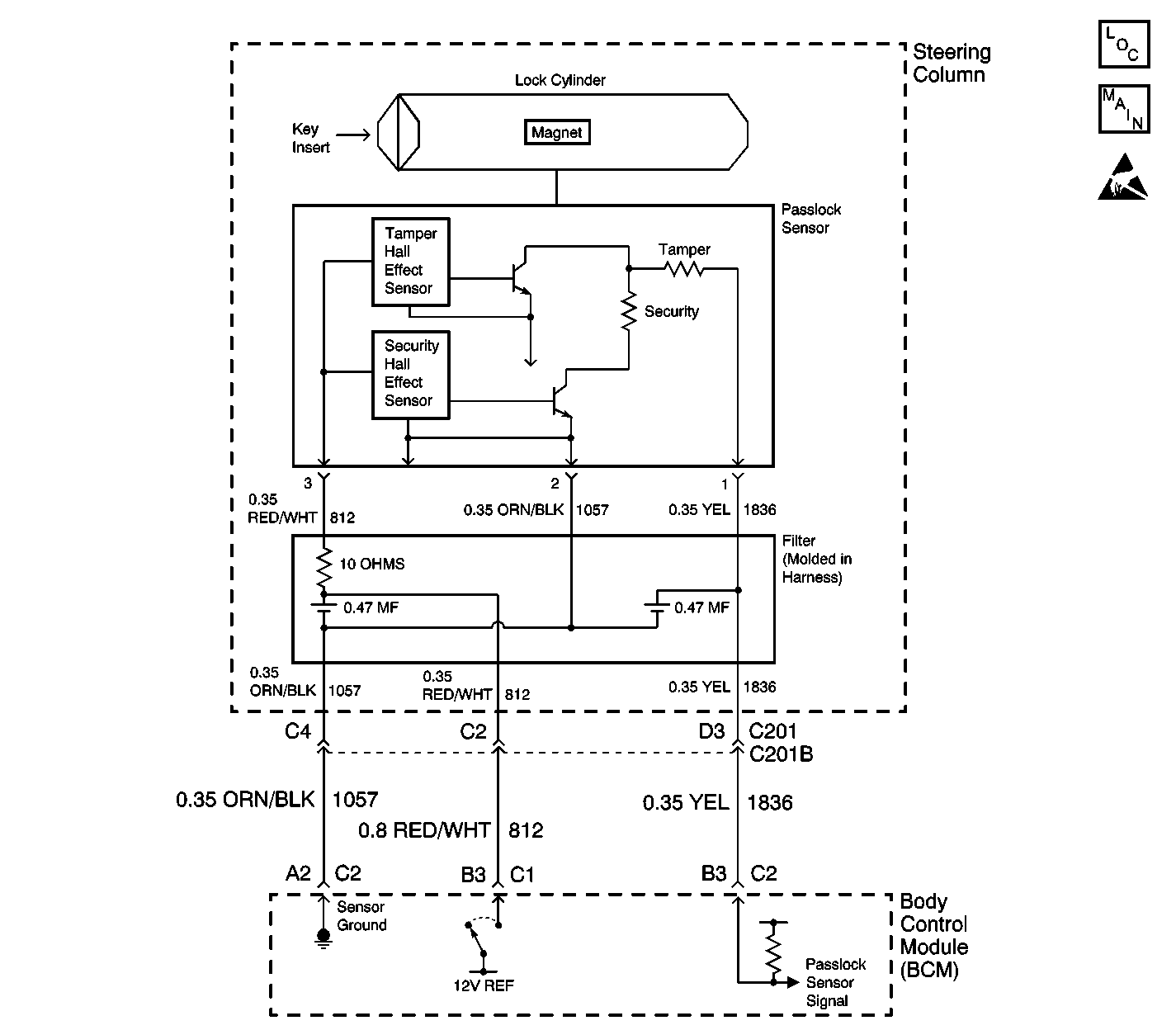
Object Number: 573265  Size: LF
Theft Deterrent System Components
Theft Deterrent System Schematics
Theft Deterrent System Schematic Icons

Circuit Description

The body control module (BCM) will read an analog voltage from the Passlock™ sensor. Based on the Passlock™ internal reference, the BCM will determine if the indicated voltage is one of the following conditions:

    • Open
    • Shorted to ground
    • A valid code
    • A tamper code

In the case of a tamper condition, the BCM will be reading a tamper code.

Conditions for Setting the DTC

    • The BCM will inspect for a tamper code when the ignition switch rotates from ON to CRANK and will continue to monitor the signal during the engine running period.
    • The BCM is reading a tamper code from the Passlock™ sensor for longer than 1.0 seconds.

Action Taken When the DTC Sets

    • The vehicle will not run. The security telltale will be flashing.
    • The Passlock™ state is Tamper.

Conditions for Clearing the DTC

    • The DTC will clear once an ignition cycle occurs without the fault recurring.
    • The BCM history codes will clear after 100  ignition cycles occur without the fault recurring.
    • Use a scan tool.

Diagnostic Aids

    • Prior to replacing a BCM, ensure that all of the diagnostics have been completed. Refer to Diagnostic Trouble Code (DTC) List/Type .
    • Inspect the Passlock™ sensor harness for intermittent or poor connections. Refer to Testing for Intermittent Conditions and Poor Connections in Wiring Systems.
    • The VTD internal diagnostics are not run while the tamper timer is active.

Test Description

The numbers below refer to the step numbers on the diagnostic table:

  1. Tests for a magnetic field near the ignition lock cylinder.

Step

Action

Value(s)

Yes

No

1

Did you perform the Theft Deterrent (VTD) Diagnostic System Check?

--

Go to Step 2

Go to Diagnostic System Check - Theft Deterrent

2

  1. Install a scan tool.
  2. Momentarily rotate the ignition switch to CRANK (do not start the vehicle).
  3. Release the ignition switch to ON.
  4. Select the body control module display DTCs function on the scan tool.

Does the scan tool display DTC B3033 as a current DTC?

--

Go to Step 3

Go to Testing for Intermittent Conditions and Poor Connections

3

Inspect the area around the ignition lock cylinder for any device which could create a magnetic field (audio speaker, magnet, etc...)

Is there a magnetic device near the ignition lock cylinder?

--

Go to Step 4

Go to Step 5

4

Remove the device creating the magnetic force.

Did you complete the repair?

--

Go to Step 8

--

5

Inspect for poor connections at the Passlock ™ sensor. Refer to Testing for Intermittent Conditions and Poor Connections and Connector Repairs in Wiring Systems.

Did you find and correct the condition?

--

Go to Step 8

Go to Step 6

6

Replace the Passlock™ sensor in the electronic column lock module assembly. Use the appropriate procedure from the following list:

    • Tilt Wheel
       - With column shift
             1. Disassemble Electronic Column Lock Module - Disassemble - Off Vehicle
             2. Assemble Electronic Column Lock Module - Assemble - Off Vehicle
       - With floor shift
             1. Disassemble Electronic Column Lock Module - Disassemble - Off Vehicle
             2. Assemble Electronic Column Lock Module - Assemble - Off Vehicle
       - Export
             1. Disassemble Electronic Column Lock Module - Disassemble - Off Vehicle
             2. Assemble Electronic Column Lock Module - Assemble - Off Vehicle
    • Standard Wheel
       - With column shift export
             1. Disassemble Electronic Column Lock Module - Disassemble - Off Vehicle
             2. Assemble Electronic Column Lock Module - Assemble - Off Vehicle
       - With floor shift export
             1. Disassemble Electronic Column Lock Module - Disassemble - Off Vehicle
             2. Assemble Electronic Column Lock Module - Assemble - Off Vehicle

Did you complete the replacement?

--

Go to Step 7

--

7

Perform one of the following Passlock™ learn procedures:

    •  PASSLOCK Reprogramming Seed and Key (10 minutes).
    •  PASSLOCK Reprogramming Auto Learn (30 minutes).

Is the repair complete?

--

Go to Step 8

--

8

You may have to wait up to 10 minutes in order to reset the BCM and synchronize all of the Passlock™ components.

  1. Use the scan tool in order to clear the DTCs.
  2. Turn OFF the ignition
  3. Momentarily rotate the ignition switch to CRANK (do not start the vehicle).
  4. Release the ignition switch to ON.
  5. Select the body control module display DTCs function on the scan tool.

Does the DTC reset?

--

Go to Step 3

System OK