GM Service Manual Online
For 1990-2009 cars only

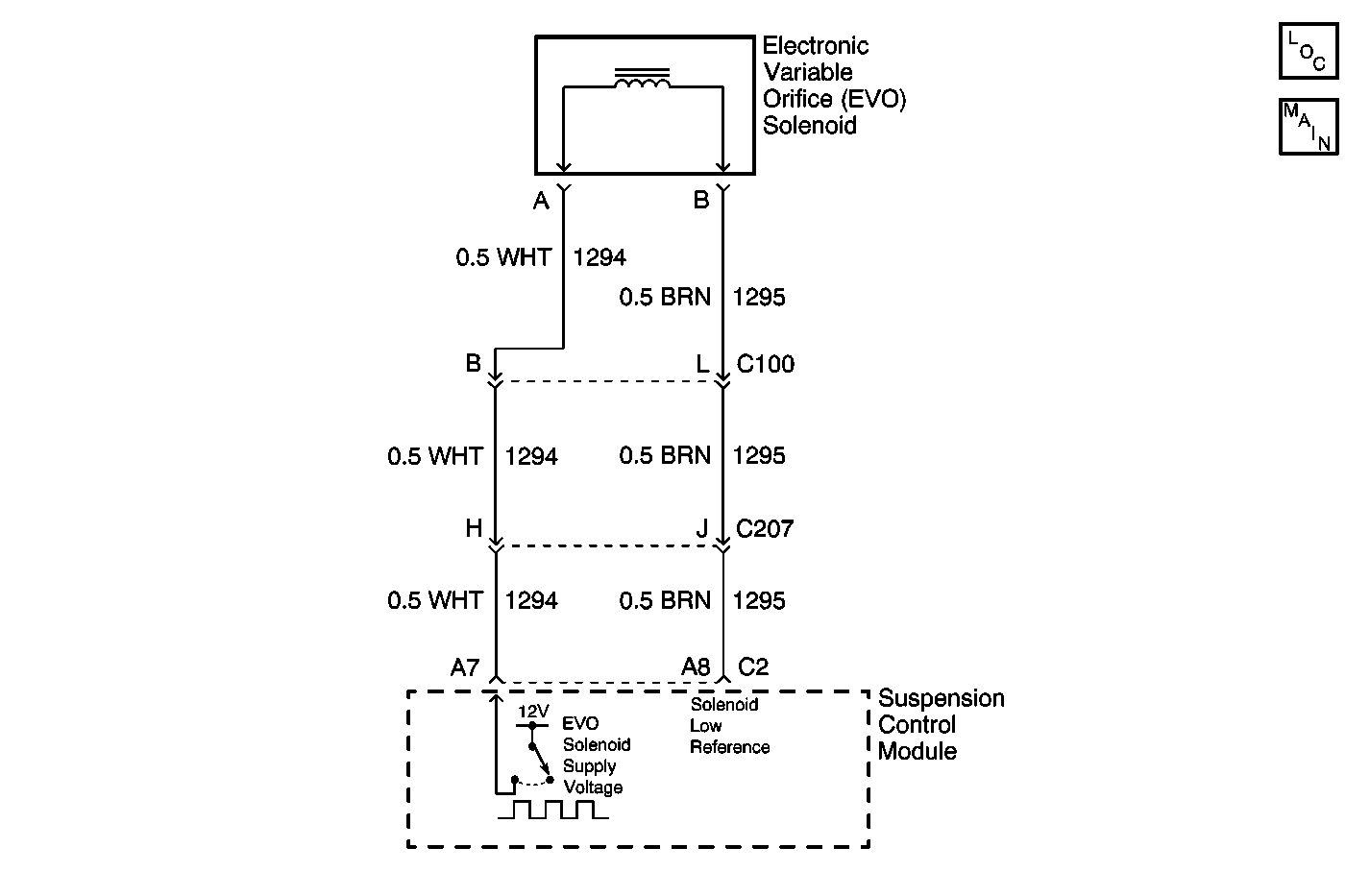
Object Number: 590555  Size: MF
Suspension Controls Components
Steering Handwheel Sensor, EVO Solenoid, VSS CKT

Circuit Description

The suspension control module supplies a PWM (pulse width modulated) voltage to the Electronic Variable Orifice (EVO) solenoid as well as a low reference path. The PWM voltage is used to control the current into the solenoid which controls the size of the orifice of the pressure output of the power steering pump. This results in a increase or decrease in steering wheel turning effort.

The suspension control module is constantly adjusting the PWM voltage and monitoring the current to achieve the desired PWM. The system uses inputs from VSS and the steering handwheel position/speed sensor for the desired PWM output. This provides the vehicle speed related steering assist.

Conditions for Running the DTC

Vehicle speed greater than 5 MPH.

EVO solenoid command greater than 5% PWM duty cycle.

Conditions for Setting the DTC

    • Vehicle speed greater than 5 MPH.
    • EVO output PWM greater than 5% duty cycle and EVO feed back voltage is less than battery voltage minus 4.0 volts.

Action Taken When the DTC Sets

    • DTC C0496 will be stored in memory.
    • The suspension control module will turn off both EVO solenoid outputs for the remainder of the ignition cycle.

Conditions for Clearing the MIL/DTC

    • A history DTC will clear after not seeing the malfunction for 100 consecutive ignition cycles.
    • Using a scan tool to clear the DTC.

Diagnostic Aids

    • A internal short of the electronic variable orifice (EVO) solenoid can cause this DTC to set.
    • Normal resistance of the EVO solenoid is from 11 to 13 ohms.

Test Description

The number(s) below refer to the step number(s) on the diagnostic table.

  1. Command both the ON and OFF states. Repeat the commands as necessary.

  2. Verifies that the suspension control module is providing voltage to the electronic variable orifice (EVO) solenoid.

  3. Tests for an open in the ground circuit to the electronic variable orifice (EVO) solenoid.

  4. Tests if voltage is constantly being applied to the electronic variable orifice (EVO) solenoid.

  5. Tests for a short to ground.

  6. Re-program the suspension control module when replacement is necessary.

Step

Action

Value(s)

Yes

No

1

Did you perform the RTD Diagnostic System Check?

--

Go to Step 2

Go to Diagnostic Starting Point

2

  1. Install a scan tool.
  2. Turn ON the ignition, with the engine OFF.
  3. With a scan tool, command the electronic variable orifice (EVO) solenoid ON and OFF.

Does the EVO solenoid turn ON and OFF with each command?

--

Go to Diagnostic Aids

Go to Step 3

3

  1. Turn OFF the ignition.
  2. Disconnect the electronic variable orifice (EVO) solenoid.
  3. Turn ON the ignition, with the engine OFF.
  4. Probe the EVO solenoid supply circuit of the electronic variable orifice (EVO) solenoid with a test lamp that is connected to a good ground.
  5. With a scan tool, command the electronic variable orifice (EVO) solenoid ON and OFF.

Does the test lamp turn ON and OFF with each command?

--

Go to Step 4

Go to Step 5

4

  1. Connect a test lamp between the EVO solenoid supply circuit and the solenoid low reference circuit of the electronic variable orifice (EVO) solenoid, harness side.
  2. With a scan tool, command the electronic variable orifice (EVO) solenoid ON and OFF.

Does the test lamp turn ON and OFF with each command?

--

Go to Step 8

Go to Step 10

5

Does the test lamp remain illuminated (continuously) with each command?

--

Go to Step 7

Go to Step 6

6

Test the EVO solenoid supply circuit of the electronic variable orifice (EVO) solenoid for a short to ground. Refer to Circuit Testing and Wiring Repairs in Wiring Systems.

Did you find and correct the condition?

--

Go to Step 14

Go to Step 9

7

Test the EVO solenoid supply circuit of the electronic variable orifice (EVO) solenoid for a short to voltage. Refer to Circuit Testing and Wiring Repairs in Wiring Systems.

Did you find and correct the condition?

--

Go to Step 13

Go to Step 9

8

Inspect for poor connections at the electronic variable orifice (EVO) solenoid. Refer to Testing for Intermittent Conditions and Poor Connections and Connector Repairs in Wiring Systems.

Did you find and correct the condition?

--

Go to Step 13

Go to Step 11

9

Inspect for poor connections at the harness connector of the suspension control module. Refer to Testing for Intermittent Conditions and Poor Connections and Connector Repairs in Wiring Systems.

Did you find and correct the condition?

--

Go to Step 14

Go to Step 13

10

Repair the solenoid low reference circuit of the electronic variable orifice (EVO) solenoid. Refer to Wiring Repairs in Wiring Systems.

Did you complete the repair?

--

Go to Step 14

--

11

Measure the resistance of the electronic variable orifice (EVO) solenoid.

Does the resistance measure within the specified value?

11-13 ohms

Go to Step 13

Go to Step 12

12

Replace the electronic variable orifice (EVO) solenoid. Refer to Power Steering Solenoid Actuator and Discharge Fitting Replacement .

Did you complete the replacement?

--

Go to Step 14

--

13

Important: Perform the set up procedure for the suspension control module when replacement is necessary.

Replace the suspension control module. Refer to Electronic Suspension Control Module Replacement .

Did you complete the replacement?

--

Go to Step 14

--

14

  1. Use the scan tool in order to clear the DTCs.
  2. Operate the vehicle within the Conditions for Running the DTC as specified in the supporting text.

Does the DTC reset?

--

Go to Step 2

System OK