GM Service Manual Online
For 1990-2009 cars only

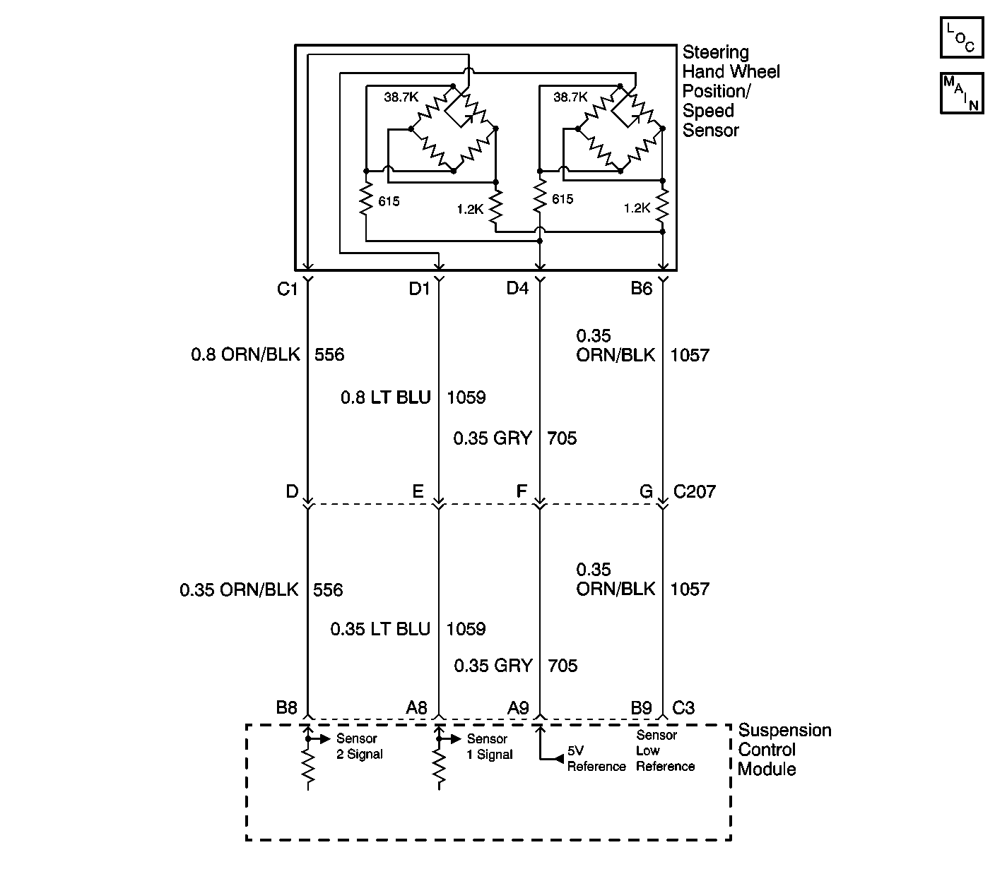
Object Number: 590556  Size: LF
Suspension Controls Components
Steering Handwheel Sensor, EVO Solenoid, VSS CKT

Circuit Description

The steering wheel position/speed sensor is a 0 to 5 volt device which is used to measure steering wheel position. The valid output voltage range from the sensor is 0.35 to 4.75 volts. The output voltage will increase or decrease within the valid voltage range as the steering wheel is rotated. The sensor has 2 output signals. Signal 1 and signal 2 are both used by the suspension control module, (RTD), on vehicles equipped with Z55 option. Vehicles not equipped with Z55 option only have signal 1 and is used by the body control module (BCM). The sensor is mounted at the base of the steering column.

Conditions for Running the DTC

Vehicle speed is greater than 50 MPH for at least 10 seconds.

Conditions for Setting the DTC

The suspension control module detects a steering handwheel position/speed sensor out-of-range condition when the vehicle speed is greater than 50 MPH for at least 10 seconds.

Action Taken When the DTC Sets

    • The electronic variable orifice (EVO) outputs will be disabled for the remainder of the ignition cycle.
    • DTC C0506 will be set.

Conditions for Clearing the MIL/DTC

    • The suspension control module no longer detects a steering wheel position/speed sensor out-of-range condition.
    • A history DTC will clear after not seeing the malfunction for 100 consecutive ignition cycles.
    • Using the scan tool.

Diagnostic Aids

Important: If DTC C0870 is present perform the diagnosis for DTC C0870 before proceeding.

The following conditions may cause the malfunction to occur:

    • There is a short to ground or voltage on the sensor 2 signal circuit.
    • There is a open in the sensor 2 signal circuit.
    • There is a loose or poorly seated connector.

Test Description

The number(s) below refer to the step number(s) on the diagnostic table.

  1. If DTC C0870 is present perform the diagnosis for DTC C0870 before proceeding.

  2. Check sensor voltage range.

  3. Tests for the proper operation of the circuit in the high voltage range.

  4. Tests for the proper operation of the circuit in the low voltage range. If the fuse in the jumper opens when you perform this test, the signal circuit is shorted to voltage.

  5. Tests for a short to ground and an open in the 5 volt reference circuit.

  6. Test for a short to voltage, a high resistance, or an open circuit.

  7. The control module must be re-calibrated when replacement is necessary.

Step

Action

Value(s)

Yes

No

1

If DTC C0870 is present perform the diagnosis for DTC C0870 before proceeding with this DTC diagnosis.

Did you perform the RTD Diagnostic System Check?

--

Go to Step 2

Go to Diagnostic System Check

2

  1. Install a scan tool.
  2. Turn ON the ignition, with the engine OFF.
  3. With a scan tool, observe the steering handwheel position/speed sensor 2 data parameter in the suspension Control Module data list.

Does the scan tool indicate that the steering position sensor 2 data parameter is within the specified range?

0.35 -4.7 volts

Go to Diagnostic Aids

Go to Step 3

3

  1. Turn OFF the ignition.
  2. Disconnect the steering handwheel position/speed sensor.
  3. Turn ON the ignition, with the engine OFF.
  4. With a scan tool, observe the steering handwheel position/speed sensor 2 data parameter.

Does the scan tool indicate that the steering handwheel position/speed sensor 2 data parameter is greater than the specified value?

4.7 volts

Go to Step 4

Go to Step 8

4

  1. Turn OFF the ignition
  2. Connect a 3 amp fused jumper wire between the sensor 2 signal circuit of the steering wheel position/speed sensor and the sensor low reference circuit of the steering wheel position/speed sensor.
  3. Turn ON the ignition, with the engine OFF.
  4. With a scan tool, observe the steering position sensor 2 data parameter.

Does the scan tool indicate that the steering position sensor 2 data parameter is less than the specified value?

0.35 volts

Go to Step 5

Go to Step 9

5

Test the 5 volt reference circuit of the steering handwheel position/speed sensor for a short to ground and an open. Refer to Circuit Testing and Wiring Repairs in Wiring Systems.

Did you find and correct the condition?

--

Go to Step 7

Go to Step 6

6

  1. Turn OFF the ignition.
  2. Disconnect the fused jumper wire.
  3. Connect a 3 amp fused jumper wire between the 5 volt reference circuit of the steering handwheel position/speed sensor and the sensor 2 signal circuit of the steering handwheel position/speed sensor.
  4. Turn ON the ignition, with the engine OFF.
  5. With a scan tool, observe the steering handwheel position/speed sensor 2 data parameter.

Does the scan tool indicate that the steering handwheel position/speed sensor 2 data parameter is greater than the specified value?

4.7 volts

Go to Step 15

Go to Step 12

7

Test the 5 volt reference circuit of the steering handwheel position/speed sensor for a short to voltage, a high resistance, and an open. Refer to Circuit Testing and Wiring Repairs in Wiring Systems.

Did you find and correct the condition?

--

Go to Step 15

Go to Step 11

8

Test the sensor 2 signal circuit of the steering handwheel position/speed sensor for a short to ground. Refer to Circuit Testing and Wiring Repairs in Wiring Systems.

Did you find and correct the condition?

--

Go to Step 15

Go to Step 12

9

Test the sensor 2 signal circuit of the steering handwheel position/speed sensor for a short to voltage, a high resistance, and an open circuit. Refer to Circuit Testing and Wiring Repairs in Wiring Systems.

Did you find and correct the condition?

--

Go to Step 15

Go to Step 10

10

Test the sensor low reference circuit of the steering handwheel position/speed sensor for a high resistance, a short to voltage and an open circuit. Refer to Circuit Testing , Testing for a Short to Voltage and Wiring Repairs in Wiring Systems.

Did you find and correct the condition?

--

Go to Step 15

Go to Step 12

11

Inspect for poor connections at the harness connector of the steering handwheel position/speed sensor. Refer to Testing for Intermittent Conditions and Poor Connections and Connector Repairs in Wiring Systems.

Did you find and correct the condition?

--

Go to Step 15

Go to Step 13

12

Inspect for poor connections at the harness connector of the suspension control module. Refer to Testing for Intermittent Conditions and Poor Connections and Connector Repairs in Wiring Systems.

Did you find and correct the condition?

--

Go to Step 15

Go to Step 14

13

Replace the steering handwheel position/speed sensor. Refer to Steering Wheel Position Sensor or Steering Shaft Lower Bearing Replacement .

Did you complete the replacement?

--

Go to Step 15

--

14

Important: Perform the set up procedure for the suspension control module when replacement is necessary.

Replace the suspension control module. Refer to Electronic Suspension Control Module Replacement .

Did you complete the replacement?

--

Go to Step 15

--

15

  1. Use the scan tool in order to clear the DTCs.
  2. Operate the vehicle within the Conditions for Running the DTC as specified in the supporting text.

Does the DTC reset?

--

Go to Step 2

System OK