GM Service Manual Online
For 1990-2009 cars only

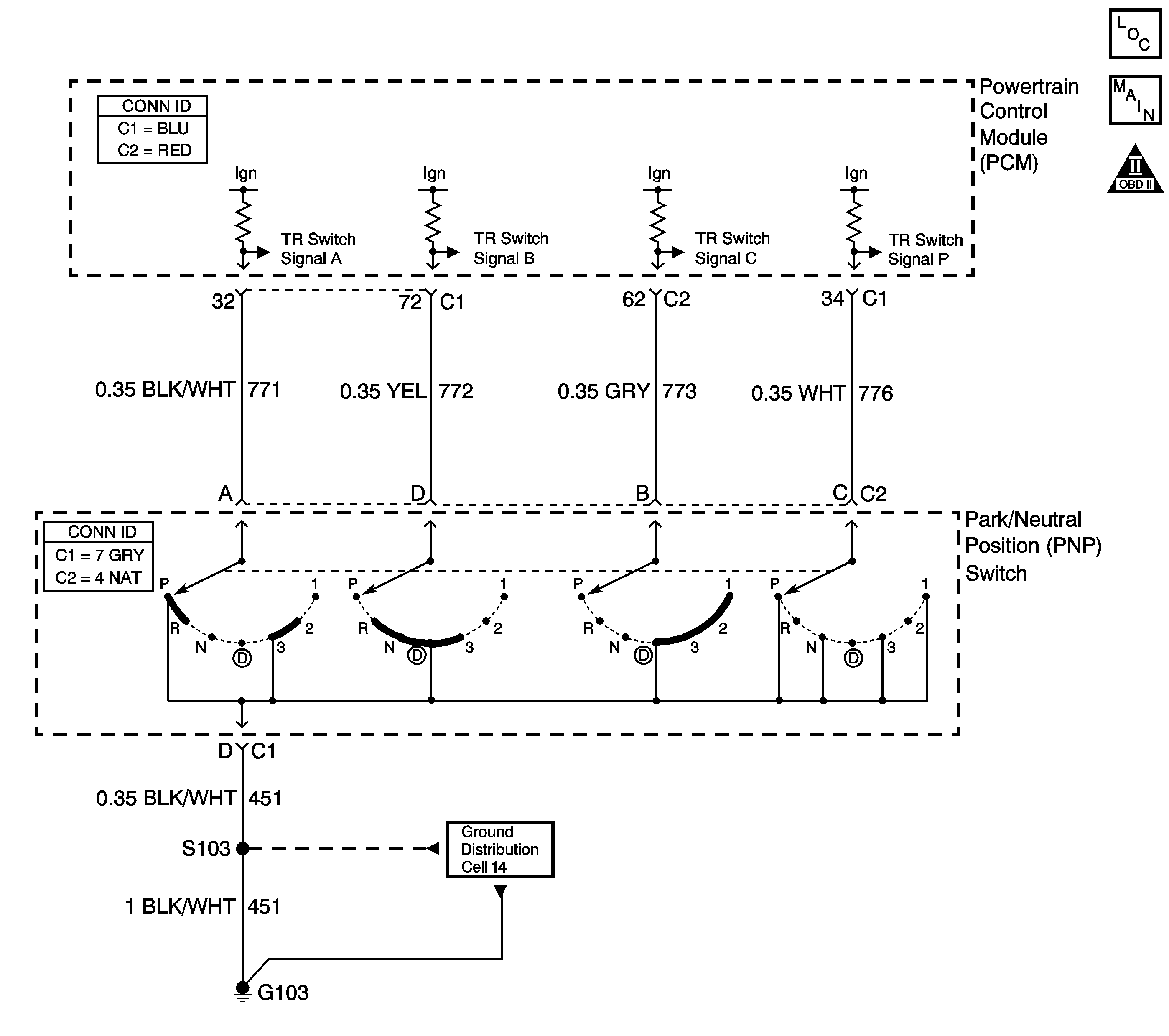
Object Number: 701139  Size: LF
Master Electrical Component List
Automatic Transmission Controls Schematics 4.3L
Automatic Transmission Controls Schematics 4.8, 5.3, 6.0L
OBD II Symbol Description Notice

Circuit Description

The transmission range (TR) switch is part of the park/neutral position (PNP) and back-up lamp switch assembly, which is externally mounted on the transmission manual shaft. The TR switch contains four internal switches that indicate the transmission gear range selector lever position. The PCM supplies ignition voltage to each switch circuit. As the gear range selector lever is moved, the state of each switch may change, causing the circuit to open or close. An open circuit or switch indicates a high voltage signal. A closed circuit or switch indicates a low voltage signal. The PCM detects the selected gear range by deciphering the combination of the voltage signals. The PCM compares the actual voltage combination of the switch signals to a TR switch combination chart stored in memory.

Diagnostic Aids

Refer to the Transmission Range Switch Logic table for valid combinations of switch signal circuits A, B, C and Parity. On the table, HI indicates an ignition voltage signal. LOW indicates a zero voltage signal.

Test Description

The numbers below refer to the step numbers on the diagnostic table.

  1. By disconnecting the TR switch, the ground path of all TR switch circuits is removed and the PCM should recognize all circuits as open. The scan tool should display HI for all range signal states.

  2. This step tests the TR switch wiring for an open or the lack of the signal voltage from the PCM.

  3. This step tests the TR switch wiring and the PCM by providing a ground path through a fused jumper wire. When grounded, the scan tool range signal states should change to LOW.

  4. This step tests the TR switch wiring and the PCM by providing a ground path through a fused jumper wire. When grounded, the scan tool range signal states should change to LOW.

  5. This step tests the TR switch wiring and the PCM by providing a ground path through a fused jumper wire. When grounded, the scan tool range signal states should change to LOW.

  6. This step tests the TR switch wiring and the PCM by providing a ground path through a fused jumper wire. When grounded, the scan tool range signal states should change to LOW.

Range Selector Display Inoperative or Displays Incorrect Range

Step

Action

Value(s)

Yes

No

1

  1. Install a Scan Tool .
  2. Turn ON the ignition, with the engine OFF.
  3. Select TR Sw. on the Scan Tool .
  4. With the Scan Tool , observe the TR Sw. display while selecting each transmission range: P, R, N, D4, D3, D2 and D1.

Does each selected transmission range match the Scan Tool TR Sw. display?

--

Go to Step 2

Go to Step 3

2

Observe the IPC gear range display while selecting each transmission range: P, R, N, D4, D3, D2, D1.

Does each selected transmission range match the IPC display?

--

Go to Intermittent Conditions in Engine Controls - 4.3 L or Intermittent Conditions in Engine Controls - 4.8 L, 5.3 L and 6.0 L

Go to Step 16

3

With the Scan Tool , observe the TR Sw. A/B/C/P display.

Does the Scan Tool TR Sw. A/B/C/P parameter indicate HI for all range signal states?

--

Go to Step 13

Go to Step 4

4

  1. Turn OFF the ignition.
  2. Disconnect the TR switch 4-way connector.
  3. Turn ON the ignition, with the engine OFF.

Does the Scan Tool TR Sw. A/B/C/P parameter indicate HI for all range signal states?

--

Go to Step 5

Go to Step 10

5

  1. Using the J 39200 digital multimeter (DMM) and the J 35616 connector test adapter kit, measure the voltage from terminal A of the TR switch 4-way connector to ground.
  2. Measure the voltage from terminal B of the TR switch 4-way connector to ground.
  3. Measure the voltage from terminal C of the TR switch 4-way connector to ground.
  4. Measure the voltage from terminal D of the TR switch 4-way connector to ground.

Does the voltage measure within the specified value at all four terminals?

10-12 V

Go to Step 6

Go to Step 11

6

Connect a fused jumper wire from terminal A of the TR switch 4-way connector (signal circuit A) to ground while monitoring the Scan Tool TR Sw. A/B/C/P parameter.

When signal circuit A (CKT 771) is grounded, do any other signal circuits indicate LOW?

--

Go to Step 12

Go to Step 7

7

Connect a fused jumper wire from terminal D of the TR switch 4-way connector (signal circuit B) to ground while monitoring the Scan Tool TR Sw. A/B/C/P parameter.

When signal circuit B (CKT 772) is grounded, do any other signal circuits indicate LOW?

--

Go to Step 12

Go to Step 8

8

Connect a fused jumper wire from terminal B of the TR switch 4-way connector (signal circuit C) to ground while monitoring the Scan Tool TR Sw. A/B/C/P parameter.

When signal circuit C (CKT 773) is grounded, do any other signal circuits indicate LOW?

--

Go to Step 12

Go to Step 9

9

Connect a fused jumper wire from terminal C of the TR switch 4-way connector (signal circuit P) to ground while monitoring the Scan Tool TR Sw. A/B/C/P parameter.

When signal circuit P (CKT 776) is grounded, do any other signal circuits indicate LOW?

--

Go to Step 12

Go to Step 13

10

Test the signal circuits (CKTs 771, 772, 773 and 776) of the TR switch that did not indicate HI for a short to ground.

Refer to Circuit Testing and Wiring Repairs in Wiring Systems.

Did you find and correct the condition?

--

Go to Step 17

Go to Step 15

11

Test the signal circuits (CKTs 771, 772, 773 and 776) of the TR switch that did not indicate proper voltage for an open.

Refer to Circuit Testing and Wiring Repairs in Wiring Systems.

Did you find and correct the condition?

--

Go to Step 17

Go to Step 15

12

Test the affected signal circuits of the TR switch for a shorted together condition.

Refer to Circuit Testing and Wiring Repairs in Wiring Systems.

Did you find and correct the condition?

--

Go to Step 17

Go to Step 15

13

Test the ground circuit (CKT 451) of the TR switch for an open.

Refer to Circuit Testing and Wiring Repairs in Wiring Systems.

Did you find and correct the condition?

--

Go to Step 17

Go to Step 14

14

Replace the TR switch (this switch is part of the park/neutral position switch).

Refer to Park/Neutral Position Switch Replacement .

Did you complete the replacement?

--

Go to Step 17

--

15

Replace the PCM.

Refer to Powertrain Control Module Replacement in Engine Controls - 4.3 L or Powertrain Control Module Replacement in Engine Controls - 4.8 L, 5.3 L and 6.0 L.

Did you complete the replacement?

--

Go to Step 17

--

16

Replace the IPC.

Refer to Instrument Cluster Replacement in Instrument Panel, Gauges and Console.

Did you complete the replacement?

--

Go to Step 17

Go to Step 2

17

  1. Turn ON the ignition, with the engine OFF.
  2. With the Scan Tool , observe the TR Sw. display while selecting each transmission range: P, R, N, D4, D3, D2 and D1.

Does each selected transmission range match the Scan Tool TR Sw. display?

--

System OK

Go to Step 2