GM Service Manual Online
For 1990-2009 cars only

Removal Procedure

  1. Remove the hood. Refer to Hood Replacement .
  2. Remove the hood link. Refer to Hood Link Replacement .
  3. Remove the hood bumper. Refer to Hood Bumper Replacement .

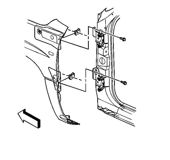
  4. Object Number: 349812  Size: SH
  5. Remove the fender to cowl support brace.

  6. Object Number: 401869  Size: SH
  7. Remove the wheelhouse panel bracket.
  8. Remove the battery tray, if applicable. Refer to Battery Tray Replacement in Engine Electrical.
  9. Remove the auxiliary battery tray, if applicable. Refer to Auxiliary Battery Tray Replacement in Engine Electrical.
  10. Remove the front grille. Refer to Grille Replacement in Exterior Trim.
  11. Remove the air filter housing. Refer to the appropriate procedure:
  12. •  Air Cleaner Assembly Replacement in Engine Controls - 4.3L
    •  Air Cleaner Assembly Replacement in Engine Controls - 4.8L, 5.3L and 6.0L
  13. Remove the coolant surge tank. Refer to Radiator Surge Tank Replacement in Engine Cooling.

  14. Object Number: 349786  Size: SH
  15. Disconnect the hood latch release cable from the clips.

  16. Object Number: 369708  Size: SH
  17. Disconnect the windshield washer hose.
  18. Remove the underhood electrical center. Refer to Underhood Electrical Center or Junction Block Replacement in Wiring Systems.
  19. Remove the wheelhouse panel. Refer to Wheelhouse Panel Replacement .

  20. Object Number: 401888  Size: SH
  21. Remove the fender to upper cowl bracket bolt.

  22. Object Number: 349818  Size: SH
  23. Remove the fender to door hinge bolts.

  24. Object Number: 349817  Size: SH
  25. Remove the fender to radiator support bolts and retainers.

  26. Object Number: 401886  Size: SH
  27. Remove the rear lower fender bolt.
  28. Remove the fender from the vehicle.

Installation Procedure


    Object Number: 401886  Size: SH
  1. Install the fender to the vehicle.
  2. Notice: Use the correct fastener in the correct location. Replacement fasteners must be the correct part number for that application. Fasteners requiring replacement or fasteners requiring the use of thread locking compound or sealant are identified in the service procedure. Do not use paints, lubricants, or corrosion inhibitors on fasteners or fastener joint surfaces unless specified. These coatings affect fastener torque and joint clamping force and may damage the fastener. Use the correct tightening sequence and specifications when installing fasteners in order to avoid damage to parts and systems.

  3. Install the rear lower fender bolt.
  4. Tighten
    Tighten the rear lower fender bolt to 25 N·m (18 lb ft).


    Object Number: 349817  Size: SH
  5. Install the fender to radiator support bolt and retainers.
  6. Tighten
    Tighten the radiator support bolts to 25 N·m (18 lb ft).


    Object Number: 349818  Size: SH
  7. Install the fender to door hinge bolts.
  8. Tighten
    Tighten the door hinge bolts to 25 N·m (18 lb ft).


    Object Number: 401888  Size: SH
  9. Install the fender to upper cowl bracket bolt.
  10. Tighten
    Tighten the upper cowl bracket bolt to 25 N·m (18 lb ft).

  11. Install the wheelhouse panel. Refer to Wheelhouse Panel Replacement .
  12. Install the underhood electrical center. Refer to Underhood Electrical Center or Junction Block Replacement in Wiring Systems.

  13. Object Number: 369708  Size: SH
  14. Connect the windshield washer hose to the clips.

  15. Object Number: 349786  Size: SH
  16. Connect the hood latch release cable to the clips.
  17. Install the coolant surge tank. Refer to Radiator Surge Tank Replacement in Engine Cooling.
  18. Install the air filter housing. Refer to the appropriate procedure:
  19. •  Air Cleaner Assembly Replacement in Engine Controls - 4.3L
    •  Air Cleaner Assembly Replacement in Engine Controls - 4.8L, 5.3L and 6.0L
  20. Install the front grille. Refer to Grille Replacement in Exterior Trim.
  21. Install the battery tray, if applicable. Refer to Battery Tray Replacement in Engine Electrical.
  22. Install the auxiliary battery tray, if applicable. Refer to Auxiliary Battery Tray Replacement in Engine Electrical.

  23. Object Number: 401869  Size: SH
  24. Install the wheelhouse panel bracket.
  25. Tighten
    Tighten the wheelhouse bracket nuts and bolts to 25 N·m (18 lb ft).


    Object Number: 349812  Size: SH
  26. Install the fender to cowl support brace.
  27. Tighten
    Tighten the cowl support brace bolts to 9 N·m (80 lb in).

  28. Install the hood bumper. Refer to Hood Bumper Replacement .
  29. Install the hood link. Refer to Hood Link Replacement .
  30. Install the hood. Refer to Hood Replacement .