GM Service Manual Online
For 1990-2009 cars only

Removal Procedure


    Object Number: 671224  Size: SH
  1. Remove all of the related panels and components.
  2. Remove any excess sealer surrounding the existing hinge and scribe the location of the hinge on the hinge pillar.
  3. Lightly hand-sand the existing hinge with 100 grit or finer sandpaper in order to locate the 4 welds that attach the hinge to the pillar.
  4. Important: It is critical to punch the center of the weld so that as much of the weld as possible is removed during the drilling.

  5. Center punch each of the 4 weld marks on the original hinge.

  6. Object Number: 383434  Size: SH

    Important: Do not drill into the door (1).

  7. Drill through the hinge (2) , at each punch location. Use a 13 mm (1/2 in) rotabroach hole saw (3) or equivalent.
  8. Remove the hinge. If necessary, use a chisel in order to separate the hinge from the door.
  9. Remove all of the remaining welds from the door surface in order to ensure a flush fit of the service hinge.

Installation Procedure


    Object Number: 671243  Size: SH
  1. Repair any damage done to the door during the drilling or the removal of the hinge.
  2. Clean and prepare the backing plate mounting surfaces in order to ensure a flush fit of the backing plate.
  3. Position the service hinge within the scribe marks on the door.
  4. Center punch each hole location on the door according to the service hinge.
  5. Drill a 3 mm (1/8 in) pilot hole at each center punch location.
  6. Important: Drill bit must be exact size.

  7. Drill an 11.5 mm (29/64 in) hole at the pilot locations for the studs.
  8. Clean and prepare all of the bare metal surfaces.
  9. Important: Prior to refinishing, refer to the publication GM 4901M-D-2000 GM Approved Refinish Materials for recommended products. Do not combine paint systems. Refer to paint manufacturer's recommendations.

  10. Apply approved anti-corrosion primer.
  11. Apply a full-bodied caulk to the entire hinge mounting surface in order to ensure a proper seal.

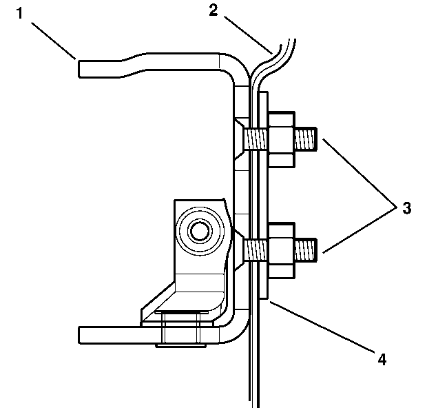
  12. Object Number: 671034  Size: SH

    Notice: Use the correct fastener in the correct location. Replacement fasteners must be the correct part number for that application. Fasteners requiring replacement or fasteners requiring the use of thread locking compound or sealant are identified in the service procedure. Do not use paints, lubricants, or corrosion inhibitors on fasteners or fastener joint surfaces unless specified. These coatings affect fastener torque and joint clamping force and may damage the fastener. Use the correct tightening sequence and specifications when installing fasteners in order to avoid damage to parts and systems.

  13. Align the hinge (1) and the backing plate (4) with the holes in the door (2) and install the bolts (3).
  14. Tighten
    Tighten the hinge to the pillar nuts to 25 N·m (18 lb ft).

  15. Clean and prepare all of the surfaces as necessary for refinishing.
  16. Apply the sealers. Refinish the surfaces as necessary.
  17. Install and align all of the related panels and the components.