GM Service Manual Online
For 1990-2009 cars only

Rear Rail End Replacement Utility only

Removal Procedure


Object Number: 1527057  Size: SH

The service assemblies for the left and the right rear frame rails are pre-sleeved, mild steel, hydro-formed parts. The assemblies include the body support mounting bracket, an all-tracker hitch and rear bumper mounting holes.


Object Number: 1527872  Size: SH

Important: The position of the rear cross-member (1) varies upon the wheel-base of the vehicle. This procedure applies to all vehicles.

  1. Disconnect the negative battery cable. Refer to Battery Negative Cable Disconnection and Connection in Engine Electrical.

  2. Object Number: 1527047  Size: SH
  3. Remove all of the related panels and components.
  4. Repair as much of the damage as possible to factory specifications.

  5. Object Number: 1527052  Size: SH
  6. Locate the sectioning location by measuring 13 mm forward from the shipping slot (1) or 330 mm forward of the frame rail end. Scribe a line around the rail.

  7. Object Number: 1527053  Size: SH
  8. Using a cut-off wheel or equivalent, remove the weld which attaches the rear cross-member to the damaged frame rail.

  9. Object Number: 1527054  Size: SH
  10. Move the cross-member clear of the damaged frame rail for access to the sectioning location.

  11. Object Number: 1527256  Size: SH

    Important: Align the edge of the masking tape with the sectioning location.

  12. Apply masking tape next to the sectioning location and around the frame as shown.

  13. Object Number: 1527702  Size: SH
  14. Cut the damaged frame rail along the sectioning location using a reciprocating saw or equivalent, as shown.

  15. Object Number: 1527064  Size: SH
  16. Remove the damaged frame section.

Installation Procedure


    Object Number: 1527065  Size: SH
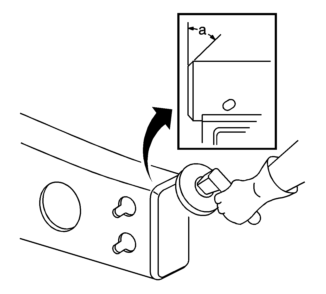
  1. Grind the existing frame rail sectioning location to a 45 degree angle.
  2. Prepare all of the attaching surfaces as necessary.

  3. Object Number: 1527069  Size: SH
  4. Position the service frame section to the existing frame and clamp in place.

  5. Object Number: 1527075  Size: SH

    Important: Inspect the frame measurements three-dimensionally to ensure proper position of the service frame prior to welding.

  6. Continuous-weld the sectioning location completely around the rail.
  7. Lower and clamp the rear cross-member in place.

  8. Object Number: 1527077  Size: SH

    Important: Inspect the frame measurements three-dimensionally to ensure the proper position of the rear cross-member.

  9. Continuous-weld the cross-member to the frame rail.

  10. Object Number: 1527079  Size: SH
  11. Clean and prepare all of the welded surfaces.
  12. Apply the sealers and anti-corrosion materials to the repair area, as necessary. Refer to Anti-Corrosion Treatment and Repair in Paint and Coatings.
  13. Install all of the related panels and components.
  14. Connect the negative battery cable. Refer to Battery Negative Cable Disconnection and Connection in Engine Electrical.