GM Service Manual Online
For 1990-2009 cars only
Makes
🢒
Chevrolet
🢒
2001
🢒
Tahoe - 4WD
🢒 Luxury
Luxury
Luxury
Master Electrical Component List
Except Luxury
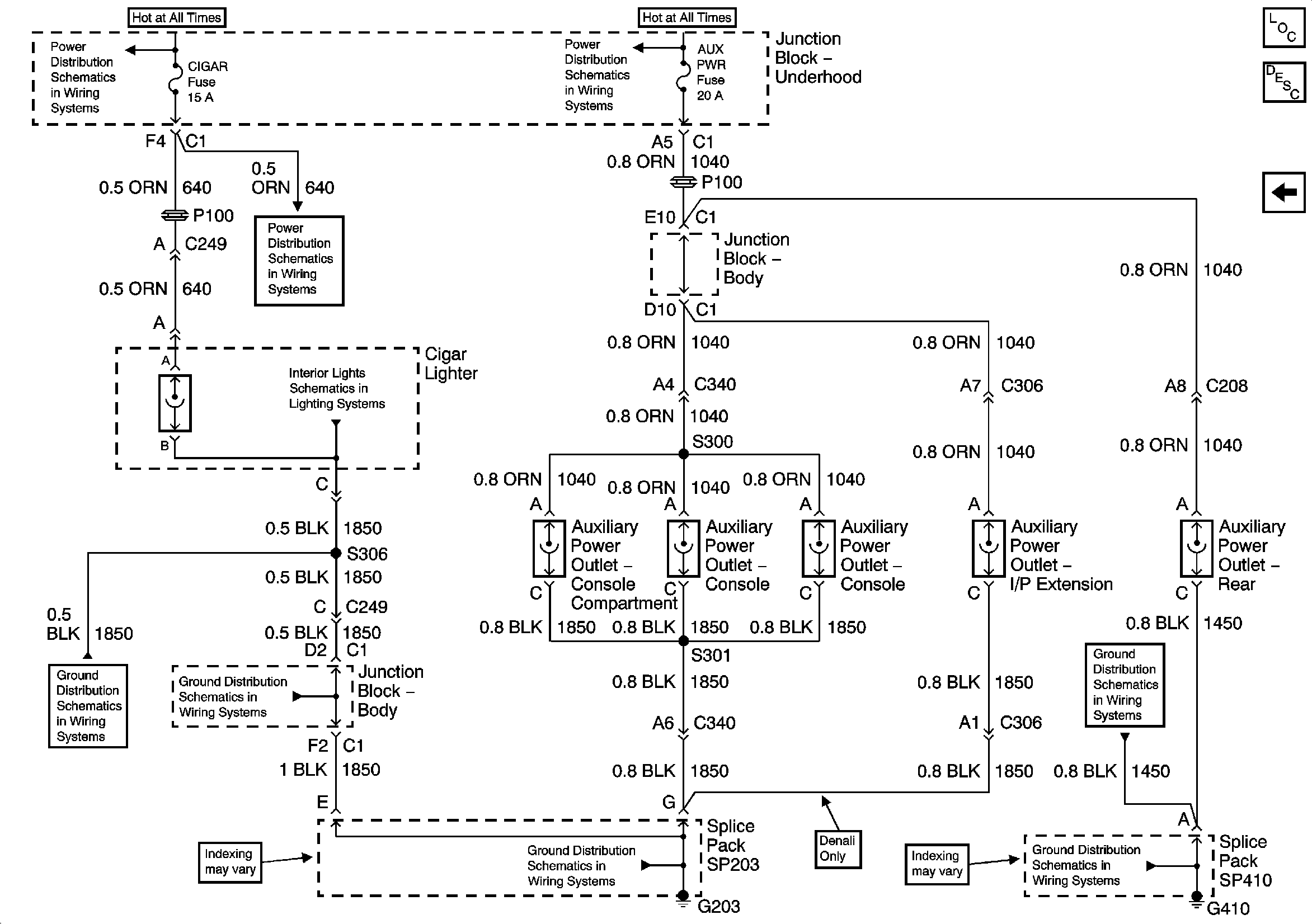
B+ Bus Bar
B+ Bus Bar
AIR, RADIO, ECM B, FRT HVAC, and CIGAR Fuses
Mini Wedge (Door Jamb Switch) LR, Mini Wedge (Door Jamb Switch) RR, Bezel Lamp, and Cigar Lighter
G203 - 4 of 4 - Utility and Uplevel Pickup
G203 - 4 of 4 - Utility and Uplevel Pickup
G203 - 1 of 4
G410 - 1 of 2
G410 - 1 of 2