 
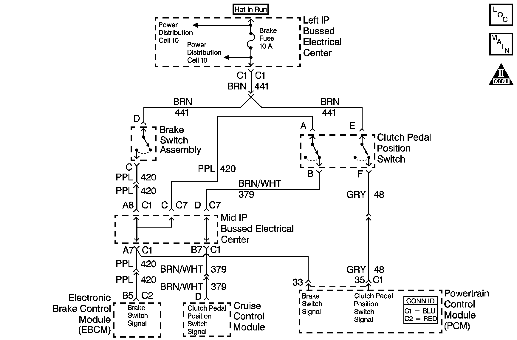
Battery voltage is supplied from the brake fuse to the clutch switch. The clutch switch is a normally-closed switch. When the clutch pedal is released, the clutch pedal position switch signal circuit is pulled up to B+. When the clutch pedal is applied, the switch opens, and the voltage drops to 0 volts.
If the powertrain control module (PCM) detects a specified number of vehicle speed transitions without detecting a clutch switch transition, DTC P0704 will set. DTC P0704 is a type B DTC.
No vehicle speed sensor (VSS) DTC P0500.
The PCM detects 7 changes in vehicle speed between 0 and 38 km/h (24 mph) without the PCM detecting a clutch pedal transition.
| • | (California Vehicles with Gasoline Engines) The PCM illuminates the malfunction indicator lamp (MIL) during the second consecutive trip in which the Conditions for Setting the DTC are met. | 
| • | (Federal Vehicles and Diesels, including California) The PCM does not illuminate the malfunction indicator lamp (MIL). | 
| • | The PCM disables cruise control. | 
| • | The PCM disables power take-off. | 
| • | The PCM records the operating conditions when the Conditions for Setting the DTC are met. The PCM records this information as Freeze Frame and Failure Records. | 
| • | The PCM stores DTC P0704 in PCM history. | 
| • | The PCM turns OFF the MIL during the third consecutive trip in which the diagnostic test runs and passes. | 
| • | The PCM cancels the DTC default actions when the ignition switch is OFF long enough in order to power down the PCM. | 
| • | A history DTC clears after 40 consecutive warm-up cycles, if no failures are present by this diagnostic or any other emission-related diagnostic. | 
| • | A scan tool can clear the MIL/DTC. | 
| Step | Action | Value(s) | Yes | No | 
|---|---|---|---|---|
| 1 | Did you perform A Diagnostic System Check - Engine Controls? | -- | Go to Diagnostic System Check - Engine Controls (6.6 L) or Diagnostic System Check - Engine Controls (8.1 L) | |
| 2 | 
 Does the scan tool indicate a change in state when the clutch pedal is either applied or released? | -- | Go to Intermittent Conditions (6.6 L) or Intermittent Conditions (8.1 L) | |
| 3 | Inspect the clutch pedal position switch. Refer to Clutch Pedal Engine Start Switch Replacement in Clutch. Did you find and correct a condition? | -- | ||
| 4 | 
 Caution: When you are performing service on or near the SIR components or the SIR wiring, you must disable the SIR system. Refer to Disabling the SIR System. Failure to follow the correct procedure could cause air bag deployment, personal injury, or unnecessary SIR system repairs. Does the J 39200 digital multimeter (DMM) indicate the specified value? | B+ | ||
| 5 | 
 Does the Scan Tool display that the clutch is released? | -- | ||
| 6 | 
 Did you detect continuity? | -- | ||
| 7 | Use the J 39200 DMM in order to test for continuity between Pin F of the clutch pedal position switch and a good ground. Refer to Testing for Continuity in Wiring Systems. Did you detect continuity? | -- | ||
| 8 | 
 Did you find and correct the condition? | -- | ||
| 9 | 
 Did you find and correct the condition? | -- | ||
| 10 | Repair the open or short to ground in the clutch position switch signal circuit (CKT 48). Refer to Wiring Repairs in Wiring Systems. Is the action complete? | -- | -- | |
| 11 | Repair the open in the clutch position switch feed circuit (CKT 441). Refer to Wiring Repairs in Wiring Systems. Is the action complete? | -- | -- | |
| 12 | Replace the clutch pedal position switch. Refer to Clutch Pedal Engine Start Switch Replacement in Clutch. Is the action complete? | -- | -- | |
| 13 | Replace the PCM. Refer to Powertrain Control Module (PCM) Replacement (6.6 L) or Powertrain Control Module Replacement (8.1 L) in Engine Controls. Is the action complete? | -- | -- | |
| 14 | 
 Has the test run and passed? | -- | System OK |