GM Service Manual Online
For 1990-2009 cars only
  1. Do a safety check before proceeding. See Changing a Flat Tire for more information.

  2. Object Number: 807780  Size: B3
  3. If your vehicle has a center cap that covers the wheel fasteners, place the chisel end of the wheel wrench in the slot on the wheel and gently pry the cap out.
  4. If the wheel has a bolt-on hub cap, loosen the plastic nut caps by turning the wheel wrench counterclockwise. The plastic nut caps will be retained in the hub cap after it is removed from the wheel.


    Object Number: 805765  Size: B3
  5. Use the wheel wrench to loosen all the wheel nuts. Turn the wheel wrench counterclockwise to loosen the wheel nuts. Do not remove the wheel nuts yet.
    1. Jacking Locations (Overall View)


      Object Number: 805155  Size: B3

      Front Position

      Rear Position

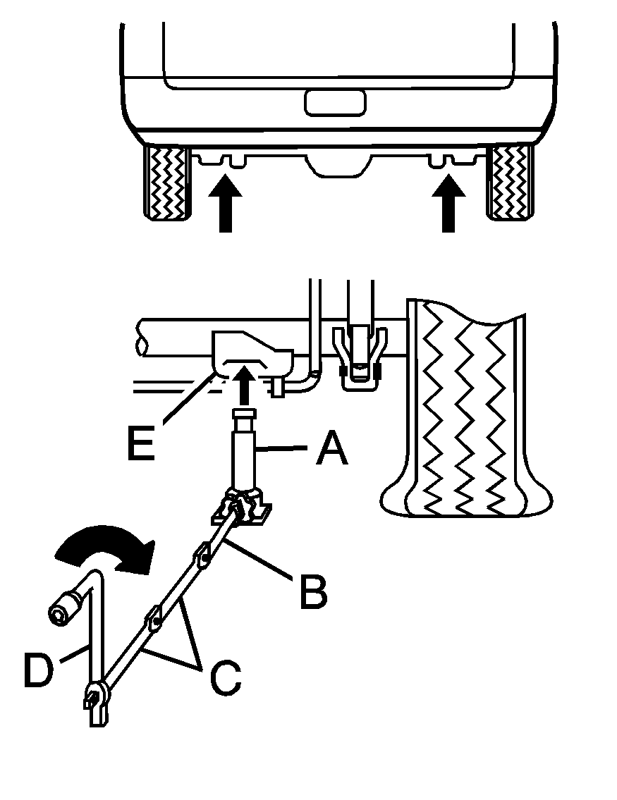
  6. Position the jack under the vehicle as shown.
  7. Front Position -- 1500 Models


    Object Number: 1685587  Size: B4

    Front Position -- 2500 Models


    Object Number: 1737904  Size: B4
  8. Front Tire Flat: If the flat tire is on a front tire of the vehicle, you will need to use the jack handle and only one jack handle extension. Attach the wheel wrench to the jack handle extension. Attach the jack handle to the jack (A). Position the jack on the frame behind the flat tire where the frame sections overlap. Turn the wheel wrench clockwise to raise the vehicle. Raise the vehicle far enough off the ground so there is enough room for the spare tire to clear the ground.
  9. Rear Position - 1500 Models


    Object Number: 1685590  Size: B4

    Rear Position - All Other Models


    Object Number: 1737912  Size: B4
  10. Rear Tire Flat: If the flat tire is on a rear tire of the vehicle, you will need to use the jack handle (B) and both jack handle extensions (C). Attach the wheel wrench (D) to the jack handle extensions (C). Attach the jack handle (B) to the jack (A). Use the jacking pad provided on the rear axle. Turn the wheel wrench (D) clockwise to raise the vehicle. Raise the vehicle far enough off the ground so there is enough room for the spare tire to clear the ground.
  11. Caution: Getting under a vehicle when it is jacked up is dangerous. If the vehicle slips off the jack, you could be badly injured or killed. Never get under a vehicle when it is supported only by a jack.

    Caution: Raising your vehicle with the jack improperly positioned can damage the vehicle and even make the vehicle fall. To help avoid personal injury and vehicle damage, be sure to fit the jack lift head into the proper location before raising the vehicle.


    Object Number: 1579723  Size: A3

    Remove all of the wheel nuts.

  12. Take off the flat tire.

  13. Object Number: 811105  Size: A2

    Remove any rust or dirt from the wheel bolts, mounting surfaces, and spare wheel.

    Caution: Rust or dirt on a wheel, or on the parts to which it is fastened, can make wheel nuts become loose after time. The wheel could come off and cause an accident. When changing a wheel, remove any rust or dirt from places where the wheel attaches to the vehicle. In an emergency, use a cloth or a paper towel to do this; but be sure to use a scraper or wire brush later, if needed, to get all the rust or dirt off. See Changing a Flat Tire .

  14. Put the wheel nuts back on with the rounded end of the nuts toward the wheel after mounting the spare tire.
  15. Caution: Never use oil or grease on bolts or nuts because the nuts might come loose. The vehicle's wheel could fall off, causing a crash.

  16. Tighten each wheel nut by hand. Then use the wheel wrench to tighten the nuts until the wheel is held against the hub.
  17. Turn the wheel wrench counterclockwise to lower the vehicle. Lower the jack completely.
  18. Tighten the nuts firmly in a crisscross sequence as shown by turning the wheel wrench clockwise.

  19. Object Number: 805321  Size: B2

Caution: Incorrect or improperly tightened wheel nuts can cause the wheel to come loose and even come off. This could lead to a crash. If you have to replace them, be sure to get new original equipment wheel nuts. Stop somewhere as soon as you can and have the nuts tightened with a torque wrench to the proper torque specification. See Capacities and Specifications for wheel nut torque specification.

Notice: Improperly tightened wheel nuts can lead to brake pulsation and rotor damage. To avoid expensive brake repairs, evenly tighten the wheel nuts in the proper sequence and to the proper torque specification. See Capacities and Specifications for the wheel nut torque specification.

When you reinstall the regular wheel and tire, you must also reinstall either the center cap or the bolt-on hub cap, depending on which your vehicle has.

    • For center caps, line up the tab on the center cap with the slot in the wheel. The cap only goes in one way. Place the cap on the wheel and press until it snaps into place.
    • For bolt-on hub caps, line up the plastic nut caps with the wheel nuts and tighten clockwise by hand to get them started. Then tighten with the wheel wrench until snug.