GM Service Manual Online
For 1990-2009 cars only

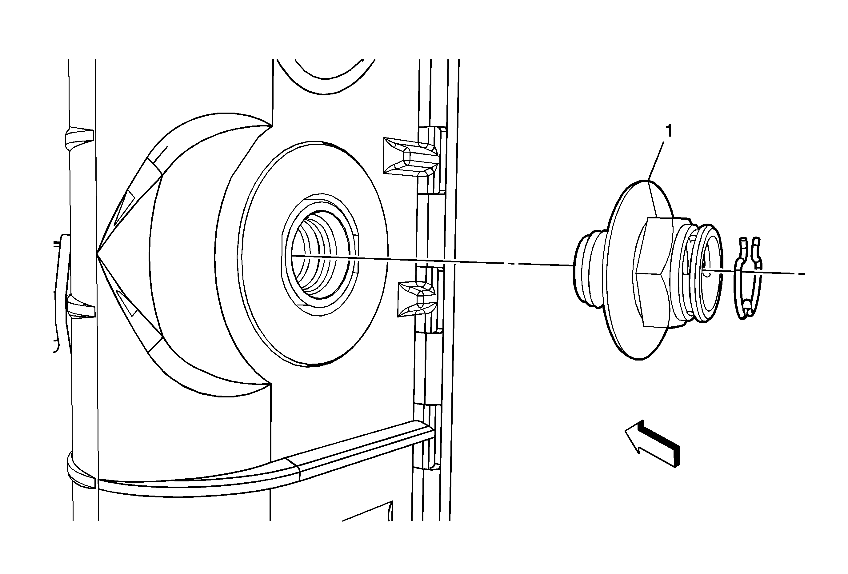
Engine Oil Cooler Connector Replacement Radiator


Object Number: 2150416  Size: MF

Callout

Component Name

Preliminary Procedures

  1. Drain the cooling system. Refer to Cooling System Draining and Filling.
  2. Remove the engine oil cooler pipe from the oil cooler fittings on the radiator. Refer to Engine Oil Cooler Hose/Pipe Quick-Connect Fitting Disconnection and Connection.

Note: Do not remove the upper and lower engine oil cooler fittings from the radiator at the same time other wise the engine oil cooler may fall inside the radiator end tank.

1

Eninge Oil Cooler Fitting

Procedure

Remove the plastic caps from the quick connect fittings by pulling the caps back along the pipe before installation.

Tip
The correct thread engagement is critical. Cross-threaded fittings can achieve proper tightness and still leak.

Notice: Refer to Fastener Caution in the Preface section.

Tighten
24 N·m (18 lb ft)