GM Service Manual Online
For 1990-2009 cars only

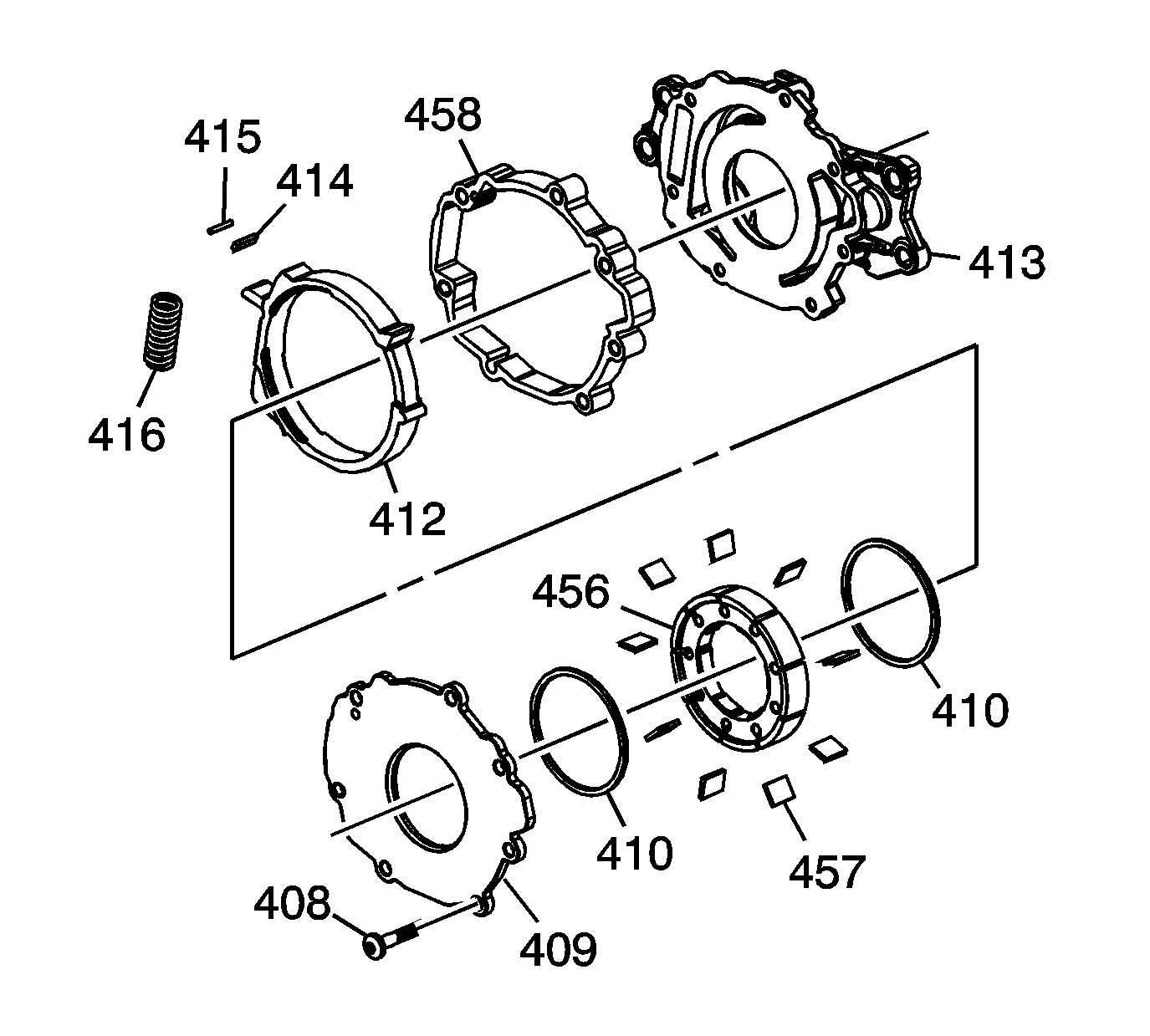
    Object Number: 1967325  Size: SH

    Note: Prior to assembling the oil pump, coat all wear or internal surfaces with clean engine oil.

  1. Install the pump housing (458) onto the pump housing (413).
  2. Install 2 of the cover bolts (408) to position and retain the body to the base.
  3. Insert the oil pump slide seal (415) and pump slide seal (414) into the pump housing (458).
  4. Insert the pump slide (412) into the pump housing (458).
  5. Install the slide spring (416) into the pump housing (458).
  6. Install the inner vane ring (410) into the pump housing (458).
  7. Insert the rotor (456) into the pump housing (458).
  8. Install the pump vanes (457) into the rotor (456). The pump vanes, when properly installed, must be flush with the top of the rotor (456).
  9. Install the outer vane ring (410) onto the top of the rotor (456).
  10. Install the oil pump cover (409) onto the oil pump housing (458).
  11. Caution: Refer to Fastener Caution in the Preface section.

  12. Install the oil pump cover bolts (408) and tighten to 12 N·m (106 lb in).