GM Service Manual Online
For 1990-2009 cars only
Figure 1:

Instrument Panel Overview (without YE9)


Object Number: 2047769  Size: LF
(1)Instrument Panel Cluster (IPC)
(2)Ambient Light/Sunload Sensor (CJ2)
(3)Automatic Transmission Shift Lever
(4)Radio
(5)Inflatable Restraint I/P Module
(6)HVAC Control Module
(7)Accessory Power Outlet - I/P 2
(8)Transfer Case Shift Control Switch (NQH)
(9)Steering Wheel Tilt Switch
(10)Trailer Brake Control Panel Switch (JL1)
(11)Headlamp and Panel Dimmer Switch
(12)Headlamp and Panel Dimmer Switch (Z75)
(13)Driver Information Center (DIC) Switch (UK3)
(14)Turn Signal/Multifunction Switch
Figure 2:

Instrument Panel Overview (YE9)


Object Number: 2047715  Size: LF
(1)Turn Signal/Multifunction Switch
(2)Automatic Transmission Shift Lever
(3)Ambient Light/Sunload Sensor (CJ2)
(4)Speaker - Center I/P(UQS)
(5)Clock (Z75)
(6)Radio
(7)Inflatable Restraint I/P Module
(8)Traction Control Switch (Z75)
(9)HVAC Control Module
(10)Multifunction Switch - I/P
(11)Driver Information Center (DIC) Switch (Z75)
(12)Noise Compensation Microphone
(13)Inflatable Restraint Steering Wheel Module
(14)Steering Wheel/Column Tilt Switch
(15)Transfer Case Shift Control Switch (NQH)
(16)Headlamp and Panel Dimmer Switch (Z75)
(17)Headlamp and Panel Dimmer Switch (except Z75)
(18)Instrument Panel Cluster (IPC)
Figure 3:

Steering Wheel Components


Object Number: 2047972  Size: LF
(1)Horn Switch
(2)Heated Steering Wheel Control Module (KA9)
(3)Steering Wheel Control Switch - Right (UK3)
(4)Horn Switch
(5)Steering Wheel Control Switch - Left (K34 or KA9)
Figure 4:

A - Pillar Speakers (UQ3/UQA)


Object Number: 2051484  Size: LF
(1)Speaker - Left Front Tweeter
(2)Speaker - Right Front Tweeter
Figure 5:

HVAC Module Components


Object Number: 2068694  Size: LF
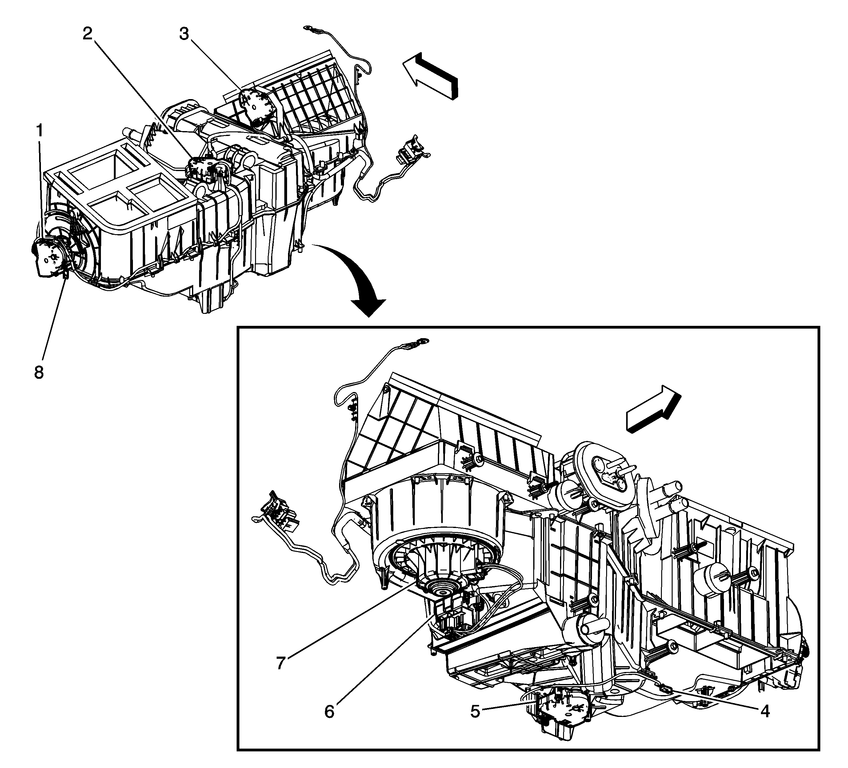
(1)Mode Actuator
(2)Air Temperature Actuator - Right
(3)Recirculation Actuator
(4)Air Temperature Sensor - Lower Right (CJ2)
(5)Air Temperature Actuator - Left
(6)Blower Motor Control Module
(7)Blower Motor
(8)Air Temperature Sensor - Lower Left (CJ2)
Figure 6:

Junction Block - Right I/P


Object Number: 2062300  Size: LF
(1)Junction Block - Right I/P
Figure 7:

Serial Data Gateway (SDG) Module (HP2)


Object Number: 1985289  Size: LF
(1)Serial Data Gateway (SDG) Module
Figure 8:

Steering Column Components


Object Number: 2047948  Size: LF
(1)Turn Signal/Multifunction Switch
(2)Hazard Switch
(3)Ignition Lock Cylinder
(4)Automatic Transmission Manual Shift Switch (MYC, MYD or M99)
(5)Automatic Transmission Shift Lever
(6)Tow/Haul Switch
(7)Steering Angle Sensor (JL4)
(8)Automatic Transmission Shift Lock Control Solenoid
(9)Tilt Wheel Actuator
(10)Theft Deterrent Module (TDM)
(11)Ignition Switch
(12)Inflatable Restraint Steering Wheel Module
Figure 9:

Lower Left Side of Instrument Panel


Object Number: 2051826  Size: LF
(1)Park Brake Switch
(2)Electronic Adjustable Pedal (EAP) Assembly (JF4)
(3)Stop Lamp Switch
(4)Accelerator Pedal Position (APP) Sensor
Figure 10:

Below the Left Side of the I/P Components


Object Number: 1714212  Size: LF
(1)I/P Trim
(2)I/P Cluster Trim
(3)Floor Panel
(4)Junction Block - Left I/P
(5)Body Control Module (BCM)
(6)Transfer Case Shift Control Module (NQH)
(7)Fuse Block - I/P
Figure 11:

Behind the Instrument Panel Components (Z75)


Object Number: 2047866  Size: LF
(1)Digital Radio Receiver (U2K)
(2)Vehicle Communication Interface Module (VCIM) (UE1)
(3)Fuse Block - I/P
(4)Body Control Module (BCM)
(5)Navigation Antenna (UVB)
Figure 12:

Front Floor Console (without D07)


Object Number: 2048063  Size: LF
(1)Rear Seat Audio (RSA) Control (UK6)
(2)Inflatable Restraint Vehicle Rollover Sensor (ASF)
(3)Yaw and Lateral Accelerometer Sensor
(4)Audio Amplifier (UQA or UQ3)
(5)Accessory Power Outlet - Console (D07)
(6)Audio/Video Adapter (U42)
(7)Accessory Power Outlet - Center Console Compartment (D07)
(8)Inflatable Restraint Sensing and Diagnostic Module (SDM)
(9)Speaker - Subwoofer (UQS)
Figure 13:

Front Floor Console (D07)


Object Number: 2048011  Size: LF
(1)Rear Seat Audio (RSA) Control (UK6)
(2)Yaw and Lateral Accelerometer Sensor
(3)Accessory Power Outlet - Console (D07)
(4)Audio/Video Adapter (U42)
(5)Audio Amplifier (UQA or UQS)
(6)Inflatable Restraint Sensing and Diagnostic Module (SDM)
(7)Inflatable Restraint Vehicle Rollover Sensor (ASF)
(8)Speaker - Subwoofer