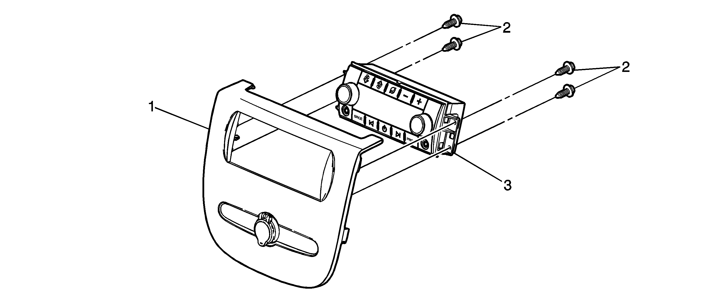
Callout
Component Name
1
Front Floor Console Compartment Bezel
Refer to Front Floor Console Compartment Bezel Replacement.
2
Auxiliary HVAC Control Assembly Screw (Qty: 4)
Caution: Refer to Fastener Caution in the Preface section.
Tighten1.5 N·m (13 lb in)
3
Auxiliary HVAC Control Assembly