GM Service Manual Online
For 1990-2009 cars only

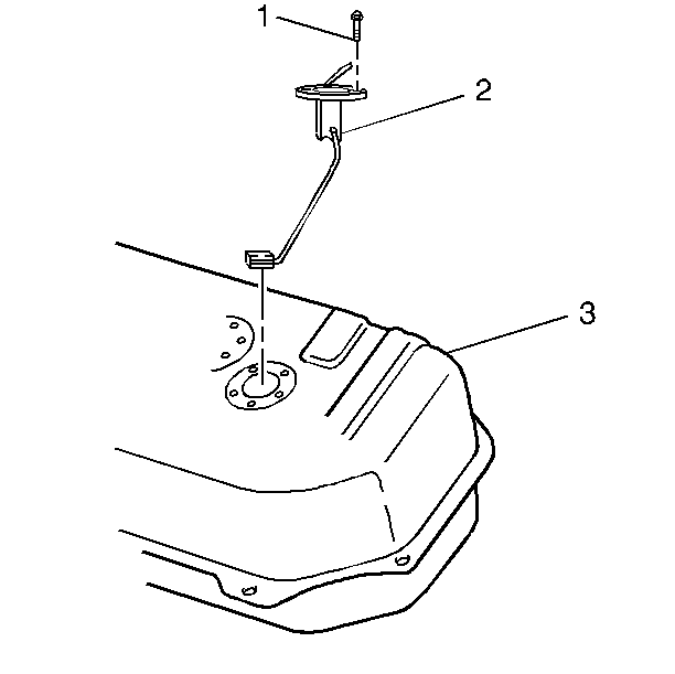
Removal Procedure


    Object Number: 157836  Size: SH
  1. Remove the fuel tank (3) from the vehicle. Refer to Fuel Tank Replacement .
  2. Disconnect the fuel level sensor electrical connector.
  3. Remove the five screws (1) and the fuel level sensor (fuel gauge sending unit) (2) from the fuel tank.

Installation Procedure


    Object Number: 157836  Size: SH
  1. Install the fuel level sensor (fuel gauge sending unit) (2) to the fuel tank.
  2. Secure the fuel lever sensor with the five screws (1).
  3. Connect the fuel level sensor electrical connector.
  4. Install the fuel tank (1) to the vehicle. Refer to Fuel Tank Replacement .
  5. Notice: Use the correct fastener in the correct location. Replacement fasteners must be the correct part number for that application. Fasteners requiring replacement or fasteners requiring the use of thread locking compound or sealant are identified in the service procedure. Do not use paints, lubricants, or corrosion inhibitors on fasteners or fastener joint surfaces unless specified. These coatings affect fastener torque and joint clamping force and may damage the fastener. Use the correct tightening sequence and specifications when installing fasteners in order to avoid damage to parts and systems.

  6. Connect the negative battery cable.
  7. Tighten
    Tighten the negative battery cable-to-negative battery terminal retainer bolt to 15 N·m (11 lb ft).