GM Service Manual Online
For 1990-2009 cars only

Removal Procedure


    Object Number: 55181  Size: SH
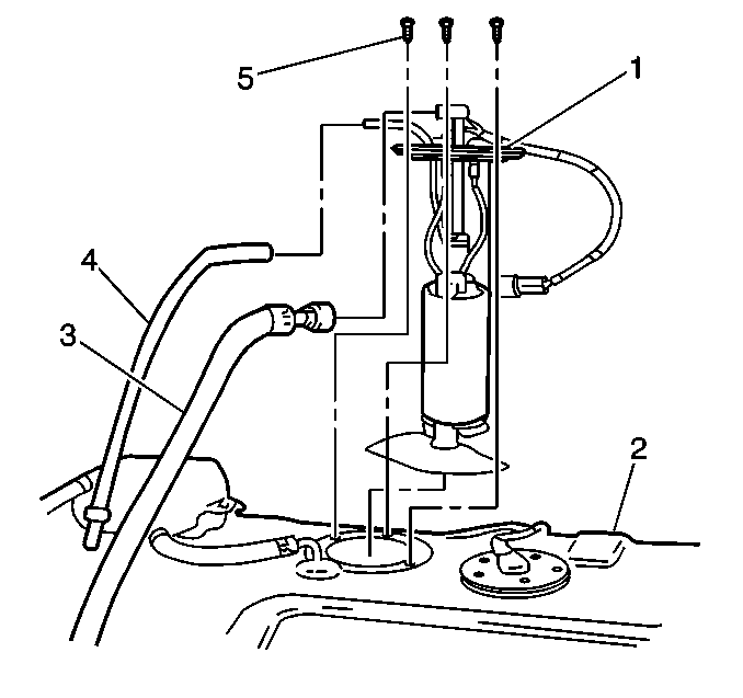
  1. Remove the fuel tank (2) from the vehicle. Refer to Fuel Tank Replacement .
  2. Loosen the clamp from the fuel return hose to the fuel pump.
  3. Disconnect the fuel return hose(4) from the fuel pump (1).
  4. Remove the bolt from the fuel feed inlet hose to the fuel pump.
  5. Disconnect the fuel feed inlet hose (3) from the fuel pump.
  6. Remove the six screws (5) from the fuel pump to the fuel tank.
  7. Remove the fuel pump (1) from the fuel tank (2).

Installation Procedure


    Object Number: 55181  Size: SH
  1. Install the fuel pump (1) to the fuel tank (2).
  2. Secure the fuel pump with the six screws (5).
  3. Connect the fuel feed inlet hose (3) to the fuel pump (1).
  4. Notice: Use the correct fastener in the correct location. Replacement fasteners must be the correct part number for that application. Fasteners requiring replacement or fasteners requiring the use of thread locking compound or sealant are identified in the service procedure. Do not use paints, lubricants, or corrosion inhibitors on fasteners or fastener joint surfaces unless specified. These coatings affect fastener torque and joint clamping force and may damage the fastener. Use the correct tightening sequence and specifications when installing fasteners in order to avoid damage to parts and systems.

  5. Secure the fuel feed inlet hose with the one bolt.
  6. Tighten
    Tighten the fuel pump-to-fuel feed inlet hose bolt to 45 N·m (33 lb ft).

  7. Connect the fuel return hose (4) to the fuel pump.
  8. Secure the fuel return hose with one clamp.
  9. Install the fuel tank (2) to the vehicle. Refer to Fuel Tank Replacement .
  10. Connect the negative battery cable.
  11. Tighten
    Tighten the negative battery cable-to-negative battery terminal retainer bolt to 15 N·m (11 lb ft).