GM Service Manual Online
For 1990-2009 cars only

Removal Procedure

Notice: The EVAP canister may have released carbon particles which caused this part to fail and may cause damage to other components. Check the EVAP canister for loose carbon before returning the vehicle to service.


    Object Number: 158741  Size: SH
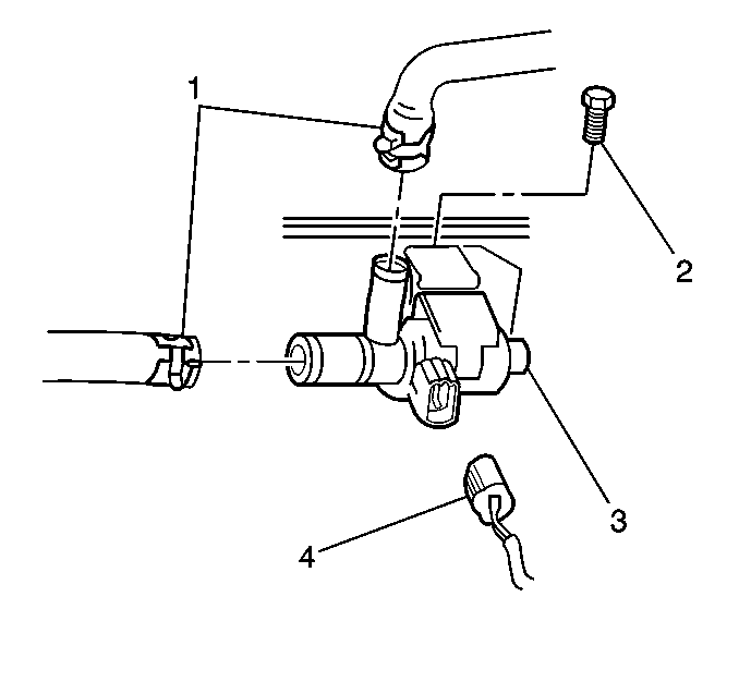
  1. Disconnect the EVAP canister vent solenoid electrical connector (4).
  2. Remove the two hose clamps.
  3. Disconnect the two EVAP hoses (1) from the EVAP canister vent solenoid.
  4. Remove the bolt (2) from the EVAP canister vent solenoid to the RH inner fender bracket.
  5. Remove the EVAP canister vent solenoid (3).

Installation Procedure


    Object Number: 158741  Size: SH
  1. Install the EVAP canister vent solenoid (3) to the RH inner fender bracket.
  2. Notice: Use the correct fastener in the correct location. Replacement fasteners must be the correct part number for that application. Fasteners requiring replacement or fasteners requiring the use of thread locking compound or sealant are identified in the service procedure. Do not use paints, lubricants, or corrosion inhibitors on fasteners or fastener joint surfaces unless specified. These coatings affect fastener torque and joint clamping force and may damage the fastener. Use the correct tightening sequence and specifications when installing fasteners in order to avoid damage to parts and systems.

  3. Secure the EVAP canister vent solenoid with the one bolt (2).
  4. Tighten
    Tighten the EVAP canister vent solenoid bolt to 10 N·m (89 lb in).

  5. Connect the two vacuum hoses (1) to the EVAP canister vent solenoid.
  6. Secure with the two hose clamps.
  7. Connect the EVAP canister vent solenoid electrical connector (4).