GM Service Manual Online
For 1990-2009 cars only

Cleaning Procedure

    Important: The following steps detail the cleaning of the upper section of the exhaust gas passage located in the upper intake manifold. This section of the passage is the most likely area of carbon deposits that can cause a restriction.


    Object Number: 731243  Size: SH
  1. Remove the EGR pipe (4).
  2. Inspect the EGR pipe and clean as necessary.
  3. Remove the inlet air duct in order to gain access to the front of the throttle body (2).
  4. Keep the throttle valve at the wide open throttle (WOT) position for the next 8 steps.
  5. Look into the open throttle bore at the 12 o'clock position and locate the approximately 10 mm (0.4 inches) opening of the exhaust gas passage (3).
  6. Insert an oil galley brush or #3 Phillips screwdriver into the exhaust gas passage (3) thru the throttle bore opening.
  7. Use the brush or screwdriver to loosen and remove any restrictions or blockage in the exhaust gas passage (3).

  8. Object Number: 731242  Size: SH
  9. Look for debris falling out of the opening of the exhaust gas passage (2) at the EGR pipe connection (2), while cleaning the passage from the throttle body side.
  10. Caution: Wear safety glasses when using compressed air in order to prevent eye injury.

    Important: In order to avoid contamination of the intake manifold and engine, always remove dirt and debris from the exhaust gas passage by pushing the contaminants out of the passage at the EGR pipe opening.

  11. Remove the tool and use compressed air to gently blow out the passage from the throttle body side.
  12. Use the brush or screwdriver to clean the exhaust gas passage at the EGR pipe opening (2).
  13. Gently blow out the passage from the throttle body side with compressed air.
  14. Complete the cleaning process of the passage using carburetor cleaner and compressed air.
  15. Block the opening of the exhaust passage in the upper intake (1) at the EGR pipe orifice (2).
  16. Start the engine.
  17. Idle the engine while listening to the tone of the running engine.
  18. Caution: If the EGR valve is hot, wear gloves in order to prevent personal injury.

  19. With the engine idling, lift up on the EGR valve diaphragm while listening for a change in pitch. The expected change in pitch is similar to what you would hear when the tube is missing from an air pump.
  20. If the pitch of the engine did change go to step 28.
  21. If there was no change in the pitch of the engine, go to the next step in order to remove the restriction in the lower exhaust passage of the EGR system.

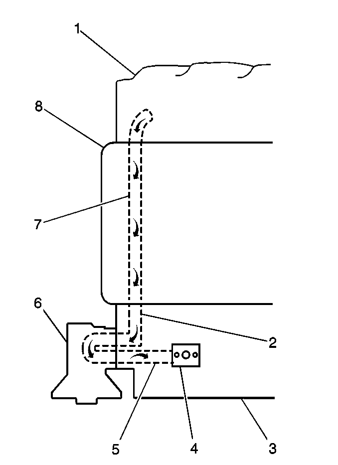
  22. Object Number: 731240  Size: MH
  23. The lower section of the exhaust gas passage (7) of the EGR system starts in the exhaust manifold (1), passes thru the cylinder head (8) and enters the intake manifold (3). The exhaust gases then flow thru the EGR valve (6) and back into the intake manifold (5), exiting the lower section of the manifold at the start of the EGR pipe (4). Inspect the passage and clean as necessary in order to ensure a clear passage with adequate flow.

  24. Object Number: 731239  Size: SH
  25. Inspect the passage (2) in the exhaust manifold (3) that starts in the number 4 exhaust port (1) and ends at the manifold gasket surface. Clean as necessary.

  26. Object Number: 731241  Size: SH
  27. Inspect the passage (2) in the cylinder head (3) that starts near the number 4 exhaust port (1) and ends on the intake side of the cylinder head. Clean as necessary.
  28. Remove the EGR valve. Refer to Exhaust Gas Recirculation Valve Replacement .

  29. Object Number: 731240  Size: MH
  30. Inspect the exhaust gas passage (2) that leads to the EGR valve (6) in the intake manifold (3). Clean as necessary.
  31. Inspect the exhaust gas passage (5) that leads from the EGR valve (6) to the EGR pipe (4). Clean as necessary.
  32. Inspect the EGR valve for any blockage or restrictions in the exhaust gas passage. Clean or replace the EGR valve as necessary. Refer to Exhaust Gas Recirculation Valve Replacement .
  33. Install the all removed parts and components except the EGR pipe.
  34. Start the engine.

  35. Object Number: 731242  Size: SH
  36. Unblock the exhaust gas passage at the EGR pipe orifice. The engine should stall immediately.
  37. If the engine does not stall, the exhaust gas passage in the upper intake manifold is still restricted. Go to step 4 and clean the passage again.