GM Service Manual Online
For 1990-2009 cars only
Table 1: Trim Height Measurement Points
Table 2: Trim Height Specifications
Table 3: Trim Height Specifications
Table 4: Trim Height Specifications

Object Number: 202014  Size: SH

Trim Height Measurement Points

Application

Specification

Metric

English

2WD Folding Top

  • Distance A

500 mm

19.70 in

  • Distance B

500 mm

19.70 in

4WD Folding Top

  • Distance A

500 mm

19.70 in

  • Distance B

500 mm

19.70 in

2WD Four Door

  • Distance A

500 mm

19.70 in

  • Distance B

500 mm

19.70 in

4WD Four Door

  • Distance A

500 mm

19.70 in

  • Distance B

500 mm

19.70 in

Trim Height Specifications


Object Number: 202017  Size: SH
(1)Body
(1)Body
(2)Ground
(2)Ground

Trim Height Specifications

Application

Specification

Metric

English

2WD Folding Top

  • Trim Height J

282 mm

11.10 in

  • Trim Height K

303 mm

11.93 in

4WD Folding Top

  • Trim Height J

301 mm

11.85 in

  • Trim Height K

322 mm

12.68 in

2WD Four Door

  • Trim Height J

282 mm

11.10 in

  • Trim Height K

303 mm

11.93 in

4WD Four Door

  • Trim Height J

301 mm

11.85 in

  • Trim Height K

322 mm

11.68 in

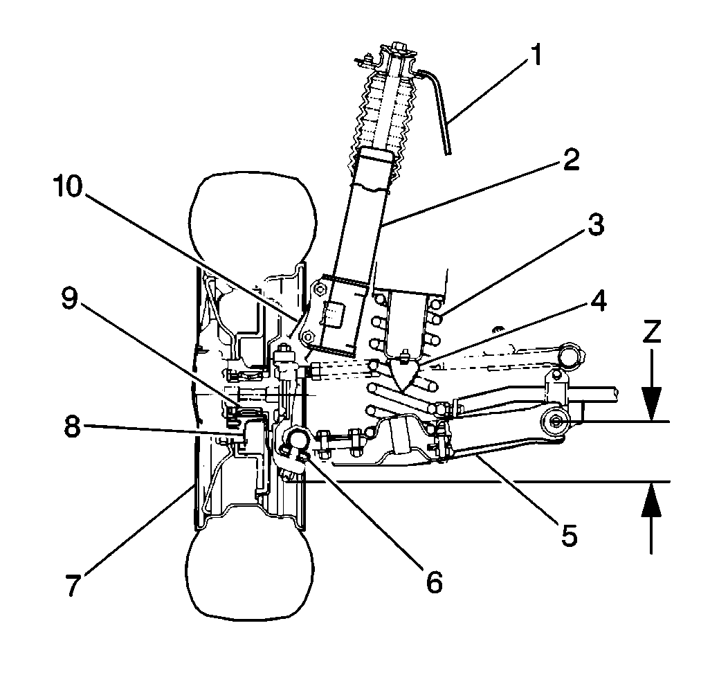
Front Suspension


Object Number: 202020  Size: SH
(1)Body
(2)Strut
(3)Coil Spring
(4)Bump Stopper
(5)Control Arm
(6)Ball Stud
(7)Wheel
(8)Wheel Hub
(9)Wheel Bearing
(10)Steering Knuckle

Trim Height Specifications

Model

Clearance Z

Metric

English

2WD Folding Top

91 mm

3.60 in

4WD Folding Top

91 mm

3.60 in

2WD Four Door

91 mm

3.60 in

4WD Four Door

91 mm

3.60 in

Rear Suspension


Object Number: 202021  Size: SH
(1)Rear Suspension Upper Arm
(2)Rear Coil Spring
(3)Rear Shock Absorber
(4)Rear Axle Housing
(5)Trailing Arm

Trim Height Specifications

Model

Clearance D

Metric

English

2WD Folding Top

212 mm

8.35 in

4WD Folding Top

212 mm

8.35 in

2WD Four Door

212 mm

8.35 in

4WD Four Door

212 mm

8.35 in