GM Service Manual Online
For 1990-2009 cars only

Front Brake Hose Replacement w/o ABS

Removal Procedure

  1. Raise the vehicle. Support the vehicle. Refer to Lifting and Jacking the Vehicle in General Information.
  2. Remove the tire and wheel assembly. Refer to Wheel Removal in Tires and Wheels.

  3. Object Number: 172132  Size: SH
  4. Clean dirt and foreign material from the hose (1) and fittings.

  5. Object Number: 172137  Size: SH
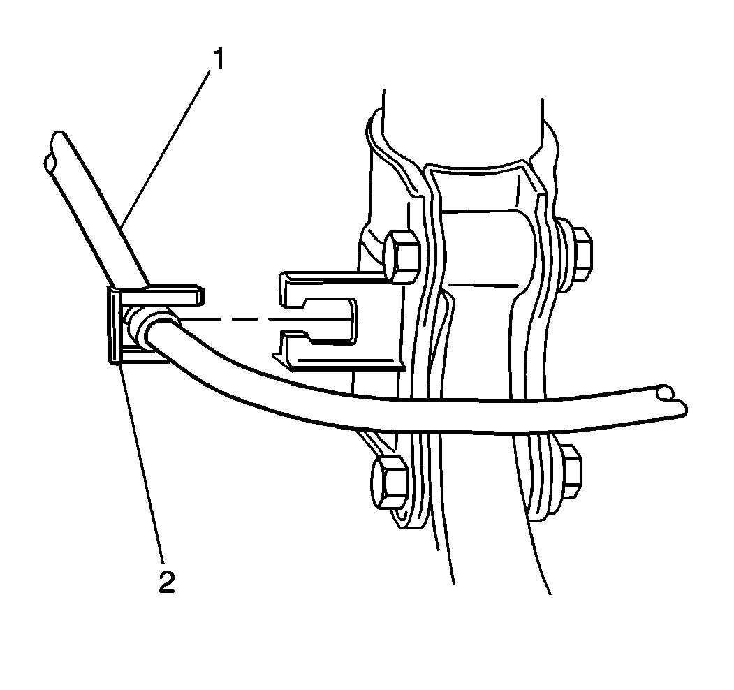
  6. Remove the E-clip (2) and the hose (1) from the strut-mounted brake hose bracket.

  7. Object Number: 172145  Size: SH
  8. Remove the brake hose (1) at the brake pipe and caliper (2) by removing the union bolt.

Installation Procedure

    Notice: Use the correct fastener in the correct location. Replacement fasteners must be the correct part number for that application. Fasteners requiring replacement or fasteners requiring the use of thread locking compound or sealant are identified in the service procedure. Do not use paints, lubricants, or corrosion inhibitors on fasteners or fastener joint surfaces unless specified. These coatings affect fastener torque and joint clamping force and may damage the fastener. Use the correct tightening sequence and specifications when installing fasteners in order to avoid damage to parts and systems.


    Object Number: 172145  Size: SH
  1. Install the brake hose (1) at the brake pipe and caliper (2). Secure the hose with the fitting nut and bolt at the caliper.
  2. Tighten

    1. Tighten the brake pipe fitting nuts to 16 N·m (12 lb ft).
    2. Tighten the caliper union bolt to 23 N·m (17 lb ft).

    Object Number: 172137  Size: SH
  3. Install the brake hose (1) to the strut-mounted bracket. Secure the hose with the E-clip (2).
  4. Install the tire and wheel assembly. Refer to Wheel Installation in Tires and Wheels.
  5. Lower the vehicle.
  6. Flush and bleed the brake system. Refer to Hydraulic Brake System Flushing in this section.