GM Service Manual Online
For 1990-2009 cars only

Removal Procedure

Tools Required

    • J 39567 Booster Push Rod Gauge
    • J 37767 Booster Push Rod Wrench
  1. Remove the master cylinder. Refer to Master Cylinder Replacement in Hydraulic Brakes.

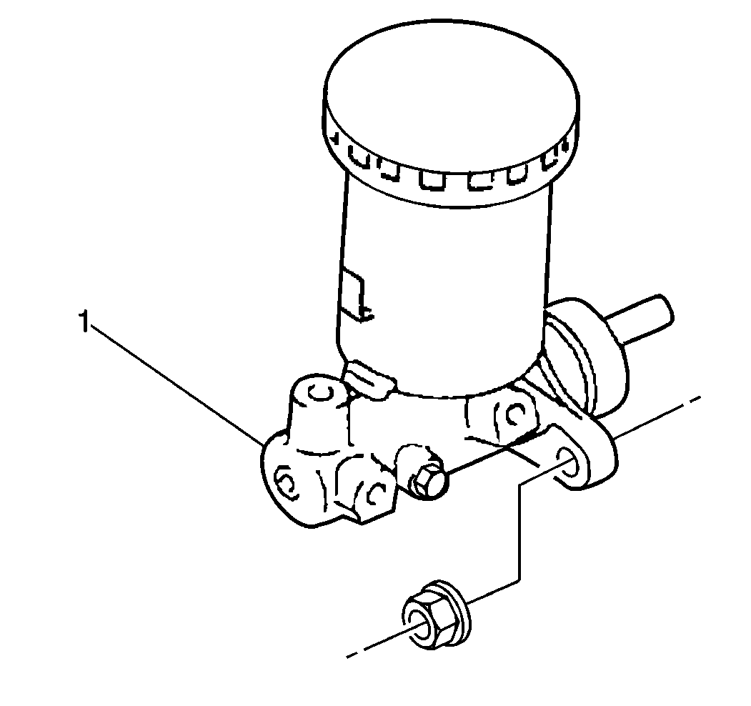
  2. Object Number: 212483  Size: SH
  3. Remove the hose clamp and the hose (8) from the booster (1).
  4. Remove the following components from the push rod clevis (4).
  5. • The cotter pin (3)
    • The clevis pin (5)

    Object Number: 172782  Size: SH
  6. Remove the push rod clevis (5) from the brake pedal.
  7. Remove the 4 mounting nuts (2) from the bulkhead:
  8. Remove the brake modulator assembly. Refer to Brake Pressure Modulator Valve Assembly Replacement in Antilock Brakes.
  9. Remove the vacuum brake booster.

  10. Object Number: 172789  Size: SH

    Notice: Use the correct fastener in the correct location. Replacement fasteners must be the correct part number for that application. Fasteners requiring replacement or fasteners requiring the use of thread locking compound or sealant are identified in the service procedure. Do not use paints, lubricants, or corrosion inhibitors on fasteners or fastener joint surfaces unless specified. These coatings affect fastener torque and joint clamping force and may damage the fastener. Use the correct tightening sequence and specifications when installing fasteners in order to avoid damage to parts and systems.

  11. Measure the push rod clevis length. Install the push rod clevis (2) so that the proper length is obtained (126.1 -- 127.1 mm (4.96 -- 5 inches).
  12. Tighten
    Tighten the push rod clevis lock nut to 26 N·m (19 lb ft).


    Object Number: 172784  Size: SH
  13. Adjust the booster piston rod (2) to the master cylinder piston (3).
  14. Push the booster piston rod several times to make sure the reaction disc is in place.
  15. Set the J 39567 on the master cylinder.

  16. Object Number: 172785  Size: SH
  17. Push the J 39567 pin down until it touches the master cylinder piston (2).
  18. Remove the J 39567 from the master cylinder.

  19. Object Number: 172794  Size: SH
  20. Turn the J 39567 upside down and set it on the booster assembly (1).
  21. Measure the clearance (2) between the booster piston rod (3) and the J 39567 :
  22. • 2-door models without ABS: 0.25  -- 0.5 mm (0.01 -- 0.02 inch).
    • All other models: 0.14 -- 0.35 mm (0.006 -- 0.014 inch).
  23. Adjust the booster piston rod length (if not within specifications):

  24. Object Number: 172797  Size: SH
    • Hold the booster piston rod (1) in place with the J 37767 .
    • Turn the booster piston rod adjusting nut until the specification is reached.

Installation Procedure


    Object Number: 172784  Size: SH
  1. Apply silicone grease to the master cylinder piston (3).
  2. Install the vacuum brake booster to the bulkhead. Do not tighten mounting nuts at this point.
  3. Install the brake modulator assembly. Refer to Brake Pressure Modulator Valve Assembly Replacement in Antilock Brakes.

  4. Object Number: 172782  Size: SH
  5. Install the pushrod clevis (5) to the brake pedal and secure with the clevis pin and the cotter pin.
  6. Notice: Use the correct fastener in the correct location. Replacement fasteners must be the correct part number for that application. Fasteners requiring replacement or fasteners requiring the use of thread locking compound or sealant are identified in the service procedure. Do not use paints, lubricants, or corrosion inhibitors on fasteners or fastener joint surfaces unless specified. These coatings affect fastener torque and joint clamping force and may damage the fastener. Use the correct tightening sequence and specifications when installing fasteners in order to avoid damage to parts and systems.

  7. Secure the booster assembly mounting nuts (2).
  8. Tighten
    Tighten the booster assembly mounting nuts (2) to 13 N·m (115 lb in).


    Object Number: 212483  Size: SH
  9. Install the hose (8) to the booster assembly (1) and secure with the hose clamp.

  10. Object Number: 212479  Size: SH
  11. Install the Master Cylinder (1). Refer to Master Cylinder Replacement in Hydraulic Brakes.