GM Service Manual Online
For 1990-2009 cars only

Removal Procedure

Tools Required

    • J 34866 Rear Axle Shaft Remover
    • J 2619-01 Slide Hammer
    • J 22912-O1 Rear Bearing Remover
  1. Raise the vehicle. Support the vehicle. Refer to Lifting and Jacking the Vehicle in General Information.
  2. Place a drain pan or suitable container under the rear axle housing.

  3. Object Number: 173665  Size: SH
  4. Remove the rear axle housing oil level/filler plug (1) from the rear axle housing.
  5. Remove the rear axle housing drain plug (2) from the rear axle housing and drain the rear axle housing.
  6. Remove the rear tire and wheel assembly. Refer to Wheel Removal in Tires and Wheels.
  7. Remove the rear brake drum from the rear axle. Refer to Brake Drum Replacement in Brakes.

  8. Object Number: 173658  Size: SH
  9. Remove the rear antilock brake shoe return spring (2) from both rear brake shoes.

  10. Object Number: 173662  Size: SH

    Important: Do not remove the brake backing plate with the rear axle shaft. If this precaution is not observed, inner seal damage may result.

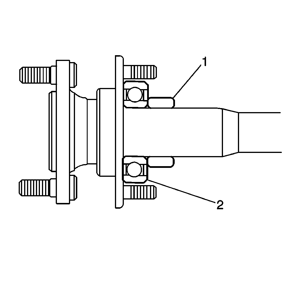
  11. Remove the four rear axle shaft retaining nuts (2) from the rear axle shaft bearing retainer studs behind the brake backing plate (3).

  12. Object Number: 173670  Size: SH

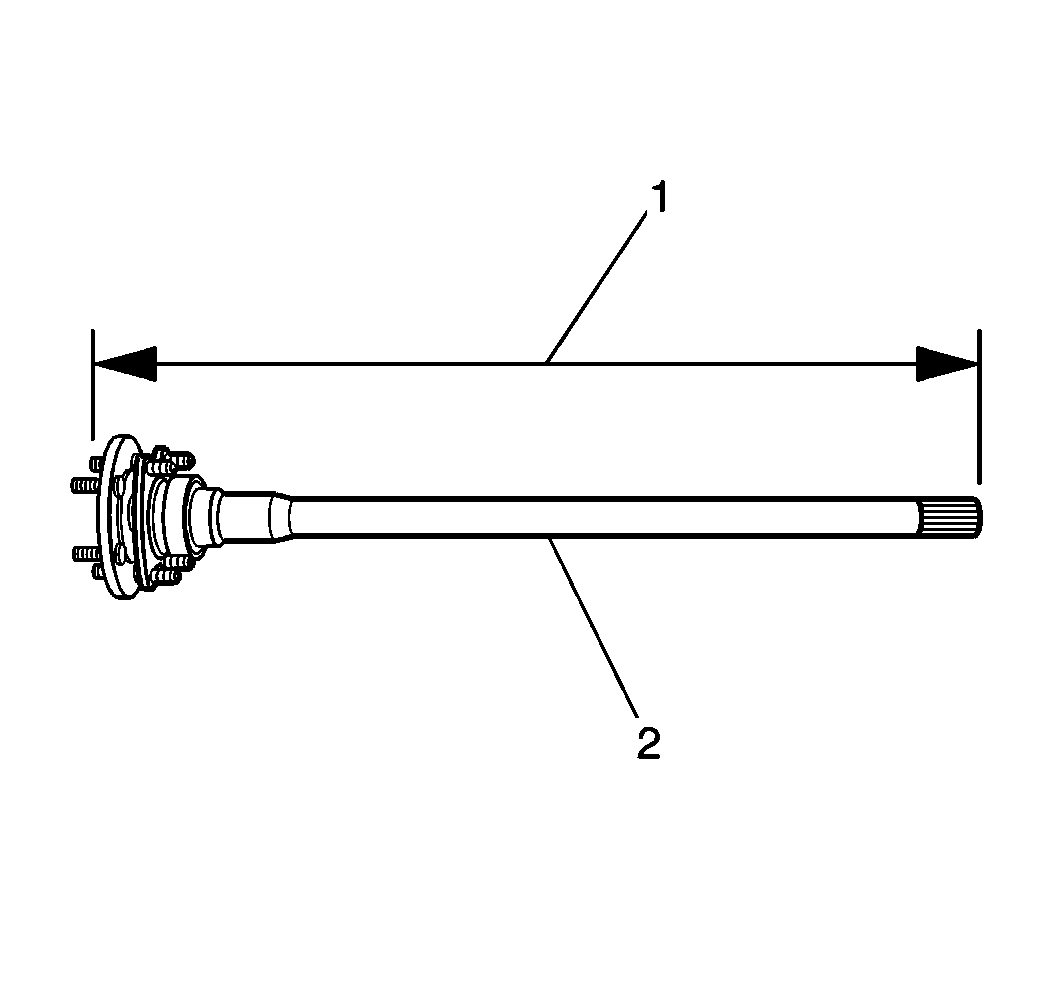
    Important: The right and left rear axle shafts are different lengths. The right rear axle shaft is 726.5 mm (28.6 in) in length. The left rear axle shaft is 683.5 mm (26.9 in) in length. When removing both axle shafts, ensure they are installed in their respective sides of the rear axle housing.

  13. Remove the rear axle shaft (2) and the bearing from the rear axle housing using the J 34866 with the J 2619-01 .

  14. Object Number: 173676  Size: SH
  15. Measure the rear axle shaft length (2). The length should be measured from the differential end of the shaft to the outside edge of the axle shaft flange (1).

  16. Object Number: 173668  Size: SH
  17. Using a hand grinder, flatten the two opposite sides of the rear axle shaft bearing retainer ring (1).

  18. Object Number: 173679  Size: SH
  19. Use a hammer and a cold chisel in order to remove the rear axle shaft bearing retainer ring (1) on the axle shaft (2) .

  20. Object Number: 173683  Size: SH
  21. Use the J 22912-O1 and a hydraulic press in order to remove the rear axle shaft bearing (1) from the rear axle shaft . Place the J 22912-O1 on the rear axle shaft between the rear axle shaft bearing and the rear axle shaft bearing retainer.
  22. Place the rear axle shaft in a hydraulic press. Slowly press the rear axle shaft bearing off the rear axle shaft.

  23. Remove the rear axle shaft bearing retainer from the rear axle shaft.

  24. Object Number: 173685  Size: SH
  25. Remove the rear axle shaft outer oil seal (2) from the rear axle shaft bearing retainer (1).
  26. Inspect the rear axle shaft bearing for brinelling or roughness. Replace the bearing as necessary.
  27. Inspect the rear axle shaft for flat spots or blue discoloration. Blue discoloration indicates overheating. Replace the shaft as necessary.

Installation Procedure

Tools Required

    • J 37771 Rear Axle Bearing Retainer Seal Installer
    • J 22912-O1 Rear Bearing Remover
  1. Apply wheel bearing lubricant GM P/N 1051344, or equivalent, to the inner surface of the new rear axle shaft outer oil seal.

  2. Object Number: 173681  Size: SH
  3. Use the J 37771 in order to install the rear axle shaft outer oil seal (1) into the rear axle shaft bearing retainer (2).
  4. Install the rear axle shaft bearing retainer onto the rear axle shaft.

  5. Object Number: 173688  Size: SH
  6. Use the J 22912-O1 and a hydraulic press in order to install the rear axle shaft bearing (2) onto the rear axle shaft .
  7. With the concave side facing away from the rear axle shaft bearing, place the J 22912-O1 on the rear axle shaft below the rear axle shaft bearing. Place the rear axle shaft in a hydraulic press. Slowly press the rear axle shaft bearing to its original position behind the rear axle shaft bearing retainer (1).


    Object Number: 173693  Size: SH
  8. Use the J 22912-O1 and a hydraulic press in order to install the rear axle shaft bearing retainer ring (1) onto the rear axle shaft.
  9. With the concave side facing away from the rear axle shaft bearing retainer ring, place the J 22912-O1 on the rear axle shaft below the rear axle shaft bearing retainer ring. Place the rear axle shaft in a hydraulic press. Slowly press the rear axle shaft bearing retainer ring past the shaft taper to its original position behind the rear axle shaft bearing (2).

  10. Inspect the rear axle shaft inner oil seal for cuts or other damage. Replace the oil seal as necessary. Refer to Inner Drive Axle Seal Replacement .
  11. Apply wheel bearing lubricant GM P/N 1051344, or equivalent, to the rear axle inner oil seal lip in the rear axle housing.
  12. Apply wheel bearing lubricant GM P/N 1051344, or equivalent, to the rear axle shaft bearing retainer ring mating surface on the brake backing plate.

  13. Object Number: 173691  Size: SH
  14. Install the rear axle shaft and bearing into the rear axle housing (2). Ensure the rear axle shaft bearing is firmly seated into the rear axle housing.
  15. Install the four rear axle shaft retaining nuts (3) to the rear axle shaft retainer studs behind the brake backing plate.
  16. Tighten
    Tighten the rear axle shaft retaining nuts to 23 N·m (17 lb ft).


    Object Number: 173658  Size: SH
  17. Install the rear antilock brake shoe return spring (2) to both rear brake shoes.
  18. Install the rear brake drum to the rear axle. Refer to Brake Drum Replacement in Brakes.
  19. Install the rear tire and wheel assembly. Refer to Wheel Installation in Tires and Wheels.
  20. Apply GM P/N 12346004, or equivalent, to the threaded portion of the rear axle housing drain plug.

  21. Object Number: 173665  Size: SH
  22. Install the rear axle housing drain plug (2) into the rear axle housing.
  23. Tighten
    Tighten the rear axle housing drain plug to 25 N·m (18 lb ft).

  24. Refill the rear axle housing with approximately 2.2 liters (4.6 pts) of 80W-90 GL5 lubricant GM P/N 12345977, or equivalent. The oil level should be even with the bottom of the rear axle housing oil level/filler plug hole.
  25. Install the rear axle housing oil level/filler plug (1) into the rear axle.
  26. Tighten
    Tighten the rear axle housing oil level/filler plug to 43 N·m (32 lb ft).

  27. Remove the drain pan from under the rear axle housing.
  28. Lower the vehicle.