GM Service Manual Online
For 1990-2009 cars only

Removal Procedure

    Notice: Use care when performing service operations on or around parking brake cables. Damage to the plastic coating will reduce corrosion protection and if the damaged area passes through the seal, increased parking brake effort could result. Contacting the coating with sharp-edged tools, or with sharp surfaces of the vehicle underbody, should be avoided.

  1. Remove the two screws, the two plastic clips and the parking brake lever cover from the vehicle.
  2. Remove the parking brake cable locknut and the spacer.
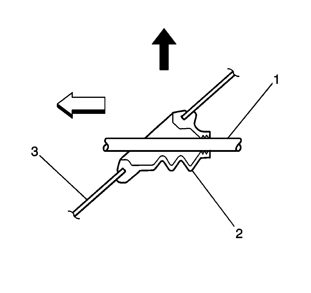
  3. Remove the connecting rod from the equalizer.
  4. Remove the parking brake cable from the equalizer.
  5. Raise and suitably support the vehicle. Refer to Lifting and Jacking the Vehicle in General Information.
  6. Remove the rear tire and wheel assemblies. Refer to Wheel Removal in Tires and Wheels.
  7. Remove the drums and linings. Refer to Brake Drum Replacement in Drum Brakes.

  8. Object Number: 172475  Size: SH
  9. Remove the cable stopper ring (2) and the parking brake cable (3) from the backing plate (1).
  10. Remove the four bolts and the parking brake cable from the protectors on the trailing rod, frame, and crossmember.

  11. Object Number: 172875  Size: SH
  12. Remove the parking brake cable (1) and grommet (2) from the floor (3).

Installation Procedure


    Object Number: 172875  Size: SH

    Notice: Use the correct fastener in the correct location. Replacement fasteners must be the correct part number for that application. Fasteners requiring replacement or fasteners requiring the use of thread locking compound or sealant are identified in the service procedure. Do not use paints, lubricants, or corrosion inhibitors on fasteners or fastener joint surfaces unless specified. These coatings affect fastener torque and joint clamping force and may damage the fastener. Use the correct tightening sequence and specifications when installing fasteners in order to avoid damage to parts and systems.

  1. Install the parking brake cable to the protectors on the trailing rod, the frame and the crossmember. Secure it with four bolts.
  2. Tighten
    Tighten the protector bolts to 10 N·m (89 lb in).

  3. Install the parking brake cable (1) and grommet (2) to the floor (3).

  4. Object Number: 172475  Size: SH
  5. Install the parking brake cable (3) to the backing plate (1).
  6. Secure the cable (3) to the backing plate (1) with the cable stopper ring (2).
  7. Install the parking brake cable to the parking brake shoe lever.
  8. Install the drum and the linings. Refer to Brake Drum Replacement in Drum Brakes.
  9. Install the rear wheel and tire assemblies. Refer to Wheel Installation in Tires and Wheels.
  10. Lower the vehicle.
  11. Install the parking brake cable to the equalizer.
  12. Install the equalizer to the connecting rod.
  13. Secure the equalizer to the connecting rod with the spacer and the locknut. Do not tighten fully.
  14. Adjust the parking brake. Refer to Parking Brake Lever Adjustment in this section.
  15. Install the parking brake lever cover to the vehicle.
  16. Secure the parking brake lever cover to the vehicle with the two screws and the two clips.