GM Service Manual Online
For 1990-2009 cars only

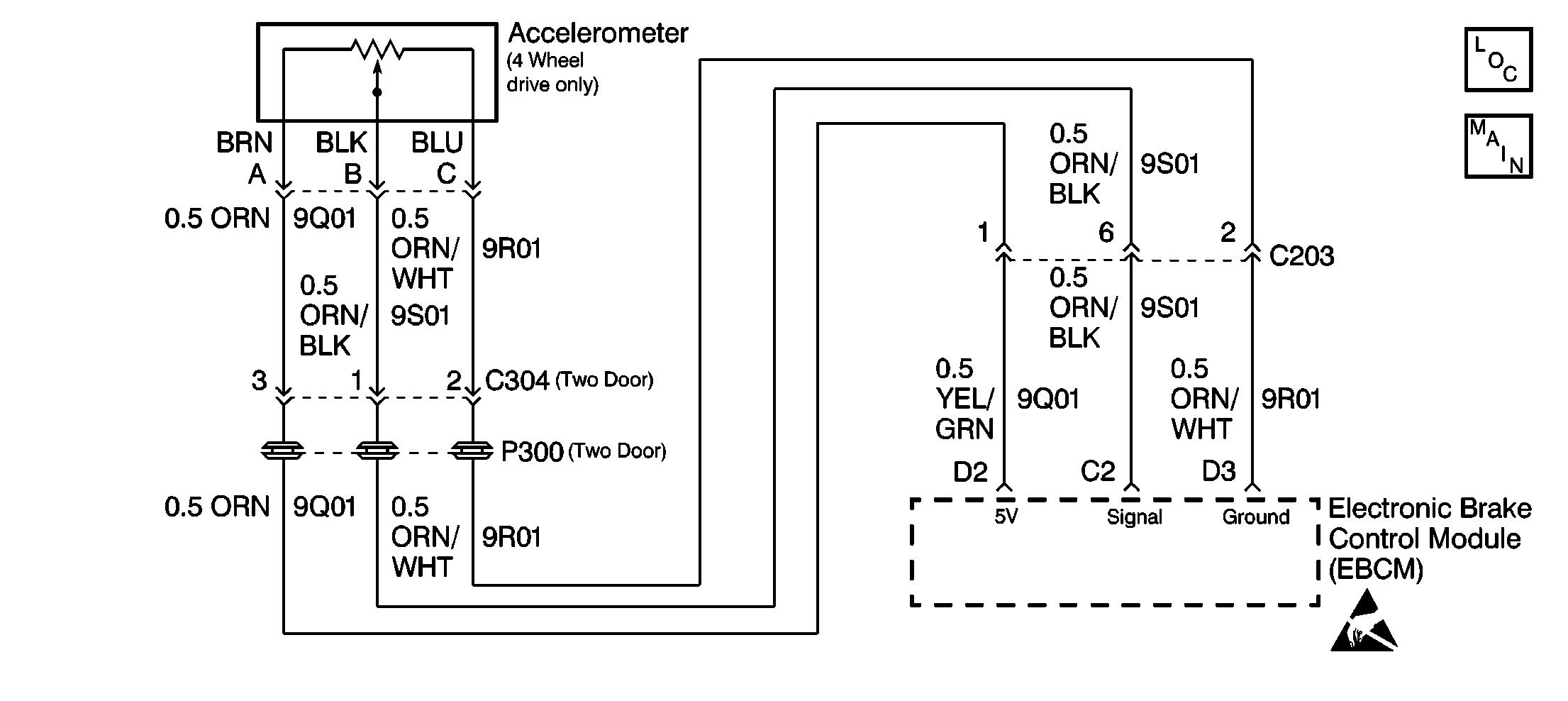
Object Number: 233728  Size: SF
ABS Components
Antilock Brake System Schematics

Circuit Description

The EBCM provides power (5 volts) and ground to the accelerometer through CKT 9Q01 and CKT 9R01 respectively. The accelerometer converts the change in vehicle motion, or inertia, into a voltage signal. This signal is sent to the EBCM through CKT 9S01.

The accelerometer provides additional vehicle speed reference to the EBCM. The voltage signal ranges, from 2.4 to 2.6 volts at zero speed change (constant motion). The accelerometer voltage signal drops when the vehicle is under acceleration. The accelerometer voltage signal increases when the vehicle is under deceleration.

Conditions for Setting the DTC

    • This DTC can be set anytime after initialization is completed.
    • A malfunction exists if the EBCM detects an open or a short to voltage in the accelerometer signal circuit (CKT 9S01).

Action Taken When the DTC Sets

    • A malfunction DTC stores.
    • The ABS disables.
    • The ABS warning indicator turns ON.

Conditions for Clearing the DTC

    • The condition responsible for setting the DTC no longer exists and the Scan Tool Clear DTCs function is used.
    • 100 drive cycles pass with no DTCs detected. A drive cycle consists of starting the vehicle, driving the vehicle over 16 km/h (10 mph), stopping and then turning the ignition off.

Diagnostic Aids

The following conditions may cause an intermittent malfunction:

    • A poor connection
    • Rubbed-through wire insulation
    • A broken wire inside the insulation

Use the enhanced diagnostic function of the Scan Tool in order to measure the frequency of the malfunction.

Thoroughly inspect any circuitry that may cause the intermittent complaint for the following conditions:

    • Backed out terminals
    • Improper mating
    • Broken locks
    • Improperly formed or damaged terminals
    • Poor terminal-to-wiring connections
    • Physical damage to the wiring harness

Step

Action

Value(s)

Yes

No

1

Was the Diagnostic System Check performed?

--

Go to Step 2

Go to Diagnostic System Check

2

  1. Turn the ignition switch ON.
  2. Use the Scan Tool to read DTCs.

Is this DTC set as a current DTC?

--

Go to Step 3

Go to Step 7

3

  1. Turn the ignition to LOCK.
  2. Disconnect the EBCM connector C1.
  3. Turn the ignition switch to ON.
  4. Using J 39200 , measure the voltage between the EBCM harness connector C1 terminal C2 and ground.

Is the voltage measured within the range specified in the Value(s) column?

0-1 V

Go to Step 4

Go to Step 8

4

  1. Disconnect the accelerometer connector.
  2. Using J 39200 , measure the resistance between the EBCM harness connector C1 terminal C2 and accelerometer harness connector terminal B (harness side).

Is the resistance measured within the range specified in the Value(s) column?

0-2 ohms

Go to Step 5

Go to Step 9

5

  1. Reconnect all electrical connector(s).
  2. Turn the ignition switch to ON.
  3. Using the Scan Tool , clear the DTCs and recheck.

Does this DTC reset as current?

--

Go to Step 6

Go to Step 10

6

Using the Scan Tool , select Data Display and monitor the accelerometer voltage.

Is accelerometer output approximately 2.5 volts? (vehicle not in motion).

--

Go to Step 12

Go to Step 11

7

  1. Turn the ignition switch to LOCK.
  2. Using the Scan Tool , clear the DTCs.
  3. Drive the vehicle to 10 km/h (6 mph) for 10 seconds.
  4. Stop the vehicle.
  5. Turn the ignition switch to LOCK.
  6. Repeat the drive cycle (steps 4 and 5 above).
  7. Using the Scan Tool , recheck for DTCs.

Does this DTC reset as current?

--

Go to Step 2

Go to Step 10

8

Repair the short to voltage in CKT 9S01.

Is the repair complete?

--

Go to Diagnostic System Check

--

9

Repair the open in CKT 9S01.

Is the repair complete?

--

Go to Diagnostic System Check

--

10

Malfunction not present at this time. Refer to Diagnostic Aids for addition information regarding this DTC.

Is the action complete?

--

Go to Diagnostic System Check

--

11

Replace the accelerometer. Refer to Lateral Accelerometer Replacement .

Is the repair complete?

--

Go to Diagnostic System Check

--

12

Replace the EBCM. Refer to Electronic Brake Control Module Replacement .

Is the repair complete?

--

Go to Diagnostic System Check

--