GM Service Manual Online
For 1990-2009 cars only

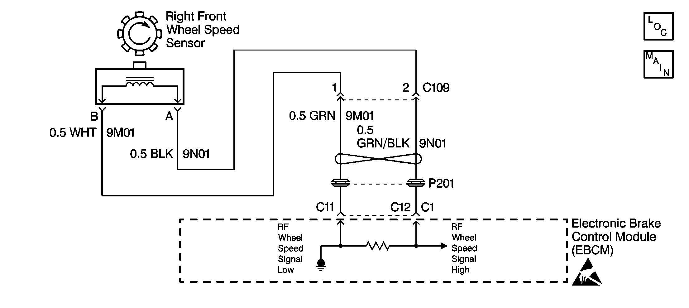
Object Number: 233468  Size: SF
ABS Components
Antilock Brake System Schematics

Circuit Description

As a toothed ring passes by the wheel speed sensor, changes in the electromagnetic field cause the wheel speed sensor to produce an AC voltage signal. The frequency of the AC voltage signal is proportional to the wheel speed. The amplitude of the AC voltage signal is directly related to wheel speed and the proximity of the wheel speed sensor to the toothed ring. The proximity of the wheel speed sensor to the toothed ring is also referred to as the air gap.

Conditions for Setting the DTC

DTC C1233 can set anytime after initialization.

A malfunction exists if either of the right front wheel speed sensor circuits are open or shorted to voltage or ground.

Action Taken When the DTC Sets

    • A malfunction DTC stores.
    • The ABS disables.
    • The ABS warning indicator turns ON.

Conditions for Clearing the DTC

    • The condition responsible for setting the DTC no longer exists and the Scan Tool Clear DTCs function is used.
    • 100 drive cycles pass with no DTCs detected. A drive cycle consists of starting the vehicle, driving the vehicle over 16 km/h (10 mph), stopping and then turning the ignition OFF.

Diagnostic Aids

The following conditions may cause an intermittent malfunction:

    • A poor connection
    • Rubbed-through wire insulation
    • A broken wire inside the insulation

Use the enhanced diagnostic function of the Scan Tool in order to measure the frequency of the malfunction.

If the customer's comments reflect that the amber ABS warning indicator is ON only during moist environmental changes (rain, snow, vehicle wash), inspect all the wheel speed sensor circuitry for signs of water intrusion.

Thoroughly inspect any circuitry that may be causing the intermittent complaint for the following conditions:

    • Backed out terminals
    • Improper mating
    • Broken locks
    • Improperly formed or damaged terminals
    • Poor terminal-to-wiring connections
    • Physical damage to the wiring harness

Resistance of the wheel speed sensor will increase with an increase in sensor temperature.

Use the following procedure when replacing a wheel speed sensor or harness:

  1. Inspect the wheel speed sensor terminals and harness connector for corrosion and/or water intrusion.
  2. Replace the wheel speed sensor and jumper harness if evidence of corrosion or water intrusion exists.
  3. Refer to On-Vehicle Service in this section.

Important: Zero the J 39200 test leads before making any resistance measurements. Refer to the J 39200 user's manual.

Important: Difficulty may occur when trying to locate intermittent malfunctions in the wheel speed sensor circuit.

Do not disturb any of the electrical connections. Change the electrical connections only when instructed to do so by a step in the diagnostic table.

Changing the electrical connections at the correct time will ensure that an intermittent electrical connection will not be corrected until the source of the malfunction is found.

Step

Action

Value(s)

Yes

No

1

Was the Diagnostic System Check performed?

--

Go to Step 2

Go to Diagnostic System Check

2

  1. Turn the ignition switch to the OFF position.
  2. Make a 5 percent saltwater solution.
  3. Thoroughly spray the right front wheel speed sensor harness with the saltwater solution.
  4. Disconnect the EBCM harness connector.
  5. Use the J 39200 in order to measure the resistance between the EBCM harness connector terminal C12 and the EBCM harness connector terminal C11.

Is the resistance within the specified range?

920-1220 ohms

Go to Step 3

Go to Step 11

3

Use the J 39200 in order to measure the resistance between the EBCM harness connector terminal C11 and ground.

Is the resistance within the specified range?

OL

(Infinite)

Go to Step 4

Go to Step 14

4

  1. Turn the ignition switch to the ON position.
  2. Do not start the engine.

  3. Use the J 39200 in order to measure the voltage between the EBCM harness connector terminal C11 and ground.

Is the voltage within the specified range?

0-1 V

Go to Step 7

Go to Step 5

5

  1. Turn the ignition switch to the OFF position.
  2. Disconnect the right front wheel speed sensor at the right front wheel speed sensor connector.
  3. Turn the ignition switch to the ON position.
  4. Do not start the engine.

  5. Use the J 39200 in order to measure the voltage between the EBCM harness connector terminal C11 and ground

Is the voltage within the specified range?

0-1 V

Go to Step 6

Go to Step 19

6

Use the J 39200 in order to measure the voltage between the EBCM harness connector terminal C12 and ground.

Is the voltage within the specified range?

0-1 V

Go to Step 31

Go to Step 20

7

  1. Turn the ignition switch to the OFF position.
  2. Inspect the following terminals:
  3. • The EBCM connector terminal C12
    • The EBCM connector terminal C11
    • The remaining terminals of the EBCM connector.
  4. Inspect the above terminals for the following conditions:
  5. • Terminal damage
    • Poor terminal contact
    • Terminal corrosion
    • Terminal damage, terminal corrosion, and poor terminal contact may cause an open circuit, a short to voltage, or a short to ground.

Are there signs of poor terminal contact, terminal corrosion, or damaged terminals?

--

Go to Step 27

Go to Step 8

8

Inspect the wiring of CKT 9M01 and CKT 9N01 for signs of wire damage.

Wire damage may cause the following conditions in CKT 9M01 and CKT 9N01:

    • An open circuit
    • A short to voltage
    • A short to ground

Are there signs of damaged wiring?

--

Go to Step 21

Go to Step 9

9

Inspect the harness connectors of CKT 9M01 and CKT 9N01 for signs of wire damage.

Wire damage may cause the following conditions in CKT 9M01 and CKT 9N01:

    • An open circuit
    • A short to voltage
    • A short to ground

Are there signs of damaged connectors?

--

Go to Step 22

Go to Step 10

10

  1. Reconnect the EBCM connector.
  2. Reconnect the right front wheel speed sensor harness connector.
  3. Install a Scan Tool .
  4. Test drive the vehicle at a speed above 24 km/h (15 mph) for at least 30 seconds.
  5. Use the Scan Tool in order to read the DTCs.

Does DTC C1233 set as a current DTC?

--

Go to Step 30

Go to Step 31

11

  1. Disconnect the right front wheel speed sensor directly at the right front wheel speed sensor connector.
  2. Use the J 39200 in order to measure the resistance between the EBCM connector terminal C11 and the right front wheel speed sensor harness connector terminal B.

Is the resistance within the specified range?

0-2 ohms

Go to Step 12

Go to Step 23

12

Use the J 39200 in order to measure the resistance between the EBCM connector terminal C12 and the right front wheel speed sensor harness connector terminal A.

Is the resistance within the specified range?

0-2 ohms

Go to Step 13

Go to Step 24

13

Use the J 39200 in order to measure the resistance between the right front wheel speed sensor connector terminal A and the right front wheel speed sensor connector terminal B.

Is the resistance within the specified range?

920-1220 ohms

Go to Step 31

Go to Step 28

14

  1. Disconnect Connector C109.
  2. Use the J 39200 in order to measure the resistance between the EBCM harness connector terminal C11 and ground.

Is the resistance within the specified range?

OL

(Infinite)

Go to Step 15

Go to Step 25

15

Use the J 39200 in order to measure the resistance between the EBCM connector terminal C12 and ground.

Is the resistance within the specified range?

OL

(Infinite)

Go to Step 16

Go to Step 26

16

  1. Thoroughly respray the right front wheel speed sensor harness with the saltwater solution.
  2. Disconnect the right front wheel speed sensor directly at the right front wheel speed sensor.
  3. Use the J 39200 in order to measure the resistance between the right front wheel speed sensor harness connector terminal A and ground.

Is the resistance within the specified range?

OL

(Infinite)

Go to Step 17

Go to Step 29

17

Use the J 39200 in order to measure the resistance between the right front wheel speed sensor harness connector terminal B and ground.

Is the resistance within the specified range?

OL

(Infinite)

Go to Step 18

Go to Step 29

18

Use the J 39200 in order to measure the resistance between the right front wheel speed sensor connector terminal A and ground.

Is the resistance within the specified range?

OL

(Infinite)

Go to Step 31

Go to Step 28

19

Repair the short to voltage in CKT 9M01.

If the short to voltage is found in the right front wheel speed sensor harness, replace the right front wheel speed harness. Refer to Wheel Speed Sensor Jumper Harness Replacement .

Is the repair complete?

--

Go to Diagnostic System Check

--

20

Repair the short to voltage in CKT 9N01.

If the short to voltage is found in the right front wheel speed sensor harness, replace the right front wheel speed harness. Refer to Wheel Speed Sensor Jumper Harness Replacement .

Is the repair complete?

--

Go to Diagnostic System Check

--

21

Repair the wiring damage in CKT 9M01 or CKT 9N01.

If the wiring damage is found in the right front wheel speed sensor harness, replace the right front wheel speed harness. Refer to Wheel Speed Sensor Jumper Harness Replacement .

Is the repair complete?

--

Go to Diagnostic System Check

--

22

Repair the connector damage in CKT 9M01 or CKT 9N01.

If the connector damage is found in the right front wheel speed sensor harness, replace the right front wheel speed harness. Refer to Wheel Speed Sensor Jumper Harness Replacement .

Is the repair complete?

--

Go to Diagnostic System Check

--

23

Repair the open or high resistance in CKT 9M01.

If the open or high resistance is found in the right front wheel speed sensor harness, replace the right front wheel speed harness. Refer to Wheel Speed Sensor Jumper Harness Replacement .

Is the repair complete?

--

Go to Diagnostic System Check

--

24

Repair the open or high resistance in CKT 9N01.

If the open or high resistance is found in the right front wheel speed sensor harness, replace the right front wheel speed harness. Refer to Wheel Speed Sensor Jumper Harness Replacement .

Is the repair complete?

--

Go to Diagnostic System Check

--

25

Repair the short to ground in CKT 9M01.

If the short to ground is found in the right front wheel speed sensor harness, replace the right front wheel speed harness. Refer to Wheel Speed Sensor Jumper Harness Replacement .

Is the repair complete?

--

Go to Diagnostic System Check

--

26

Repair the short to ground in CKT 9N01.

If the short to ground is found in the right front wheel speed sensor harness, replace the right front wheel speed harness. Refer to Wheel Speed Sensor Jumper Harness Replacement .

Is the repair complete?

--

Go to Diagnostic System Check

--

27

Replace all of the terminals and the connectors that exhibit signs of poor terminal contact, corrosion, or damaged terminals.

Is the repair complete?

--

Go to Diagnostic System Check

--

28

Replace the right front wheel speed sensor. Refer to Wheel Speed Sensor Replacement .

Is the repair complete?

--

Go to Diagnostic System Check

--

29

Replace the right front wheel speed sensor harness. Refer to Wheel Speed Sensor Jumper Harness Replacement .

Is the repair complete?

--

Go to Diagnostic System Check

--

30

Replace the EBCM. Refer to Electronic Brake Control Module Replacement .

Is the repair complete?

--

Go to Diagnostic System Check

--

31

The malfunction is intermittent or not present at this time.

Inspect all of the connectors and the harnesses for damage that may cause the following conditions:

    • An open or a high resistance
    • A short to ground
    • A short to voltage

The wheel speed harness must be replaced if the harness is damaged.

Refer to Diagnostic Aids for more information.

Is the action complete?

--

System OK

--