GM Service Manual Online
For 1990-2009 cars only

Oil Level Inspection


Object Number: 348815  Size: SH

Inspect the manual steering gear oil level (2) through the steering gear fill/breather plug  (1). The plug is located on the top of the gear box. The gear oil should be visible 35 mm (1.38 in) below the top of the gear box. If the oil is not visible, fill the reservoir to the specified level with manual steering gear lube GM P/N 1052182, or equivalent.

Adjusting the Worm Shaft Preload Torque

Tools Required

J 34871-A Pinion Socket

The steering gear has 1 adjusting nut which sets the preload for the sector shaft. Use the following procedure in order to adjust the worm shaft preload torque:

  1. Inspect the worm shaft in order to ensure that the shaft is free of thrust play.

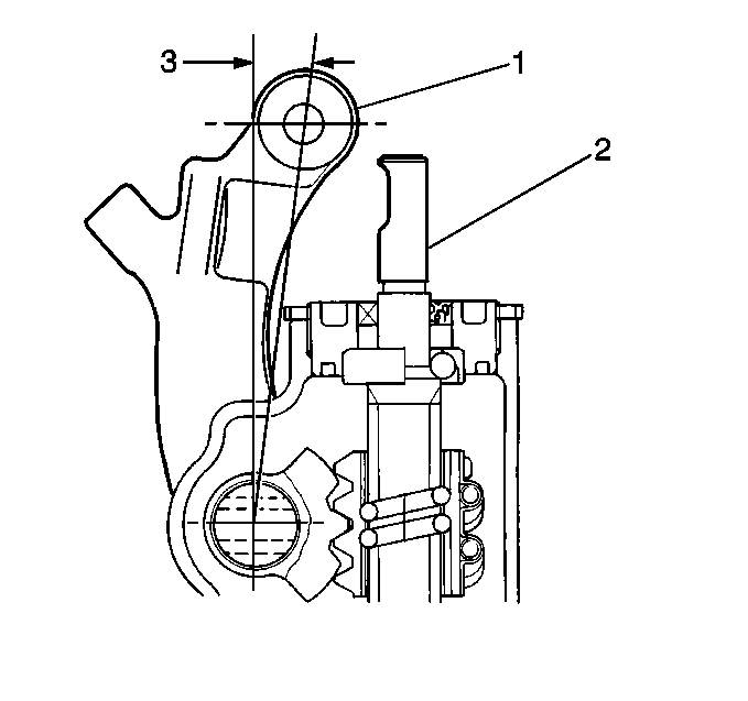
  2. Object Number: 348821  Size: SH
  3. Position the pitman arm (1) 11 degrees  (3) inward from parallel with the worm shaft (2). Ensure that the front tires are in the straight ahead position.

  4. Object Number: 348819  Size: SH

    Notice: Use the correct fastener in the correct location. Replacement fasteners must be the correct part number for that application. Fasteners requiring replacement or fasteners requiring the use of thread locking compound or sealant are identified in the service procedure. Do not use paints, lubricants, or corrosion inhibitors on fasteners or fastener joint surfaces unless specified. These coatings affect fastener torque and joint clamping force and may damage the fastener. Use the correct tightening sequence and specifications when installing fasteners in order to avoid damage to parts and systems.

  5. Use the J 34871-A and a torque wrench in order to tighten the worm shaft (including the steering gear sector shaft).
  6. Tighten
    Tighten the worm shaft to 1 N·m (9 lb in).

  7. If the measured worm shaft preload does not conform to the specification, tighten or loosen the steering gear adjusting nut (depending upon whether the worm shaft preload torque measures high or low).
  8. Important: If you do not attain the specified preload torque after the readjustment, replace the manual steering gear box. Refer to Manual Steering Gear Replacement .

  9. Recheck the worn shaft preload torque.