GM Service Manual Online
For 1990-2009 cars only

Blower Speed Lever


Object Number: 345942  Size: SH

The blower speed lever regulates the amount of air delivered into the passenger compartment. The blower speed lever has 5 positions. The positions are the OFF position and speeds 1-4. The blower motor is housed in the blower case. The blower case is located behind the right side of the IP.

Temperature Lever

The temperature lever controls the amount of air flow to the heater core. Controlling the air flow to the heater core regulates the temperature of the air entering the vehicle.

When the temperature lever is moved completely to the left or full COLD (blue) position, the air mix door closes blocking the flow of air to the heater core.

When the temperature lever is moved completely to the right or full HOT (red) position, the air mix door opens fully allowing air to flow through the heater core.

Moving the temperature lever between the full cold and hot positions allows the operator adjust the passenger compartment temperature to the most comfortable level.

Mode Lever

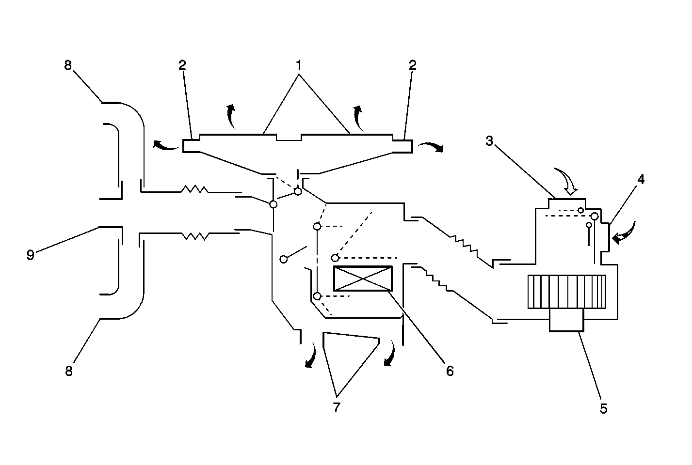
The mode lever allows the driver to route the air into the passenger compartment through different outlets. The mode lever enables the selection of the following modes:

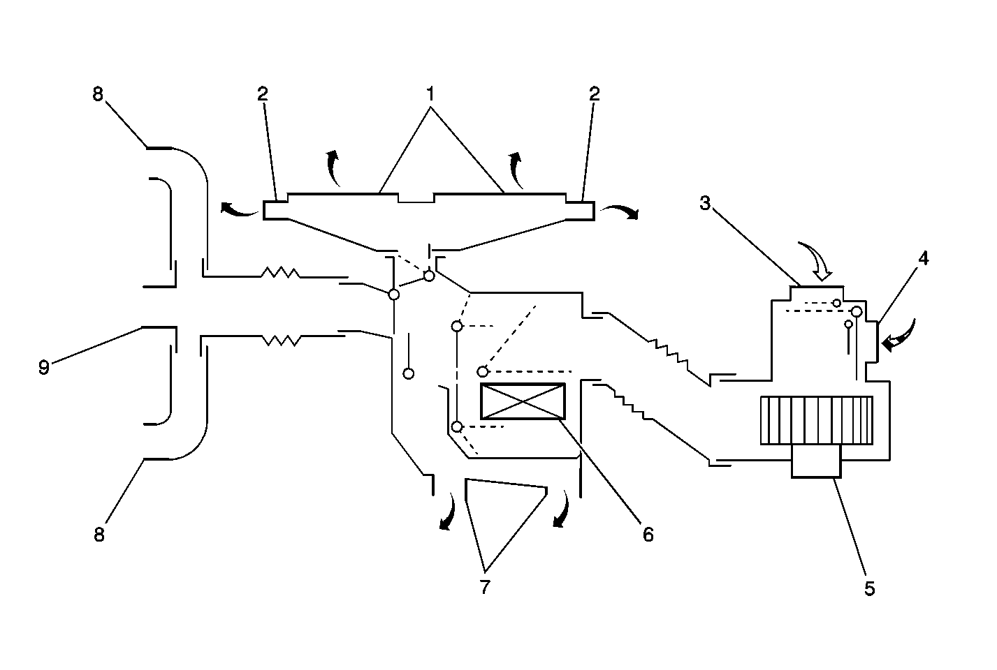
Ventilation


Object Number: 345893  Size: MF
(1)Front Defrost Outlet
(2)Side Defogger Outlets
(2)Side Defogger Outlets
(3)Fresh Air Inlet
(4)Recirculate Air Inlet
(5)Blower Motor
(6)Heater Core
(7)Floor Outlets
(8)Side Vent Outlets
(8)Side Vent Outlets
(9)Center Vent Outlets
    • Air is discharged from the upper air outlet.
    • Air quantity is controlled the with the blower speed control lever.
    • Air quantity is affected by vehicle speed when the fresh/recirc lever is in the FRESH position. The passenger compartment receives more air as the vehicle speed increases.
    • The passenger compartment receives some air even if the blower speed lever is in the OFF position.

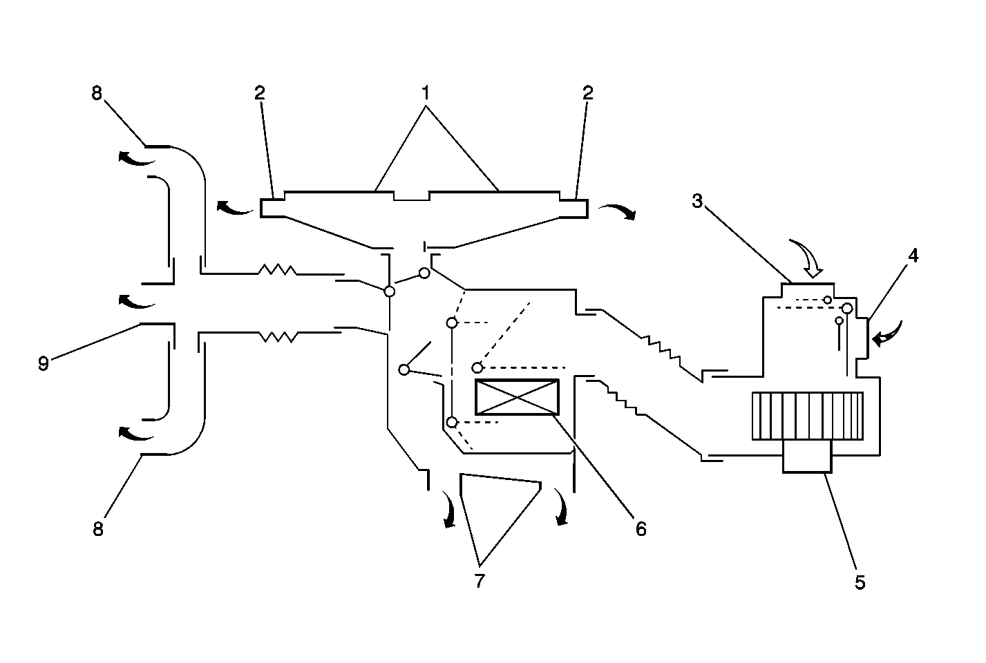
Bi-Level


Object Number: 345898  Size: MF
(1)Front Defrost Outlet
(2)Side Defogger Outlets
(2)Side Defogger Outlets
(3)Fresh Air Inlet
(4)Recirculate Air Inlet
(5)Blower Motor
(6)Heater Core
(7)Floor Outlets
(8)Side Vent Outlets
(8)Side Vent Outlets
(9)Center Vent Outlets
    • Airflow is divided between the upper air outlets and the floor air outlets.
    • Warmer air is delivered to the floor outlets than the upper air outlets.

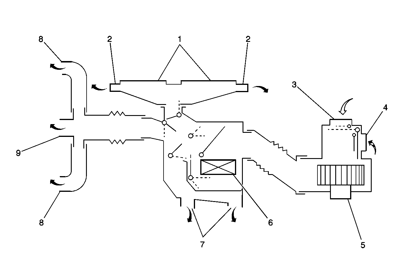
Heat


Object Number: 345906  Size: MF
(1)Front Defrost Outlet
(2)Side Defogger Outlets
(2)Side Defogger Outlets
(3)Fresh Air Inlet
(4)Recirculate Air Inlet
(5)Blower Motor
(6)Heater Core
(7)Floor Outlets
(8)Side Vent Outlets
(8)Side Vent Outlets
(9)Center Vent Outlets
    • Air is directed towards the floor outlet.
    • A small amount of air is directed towards the windshield.

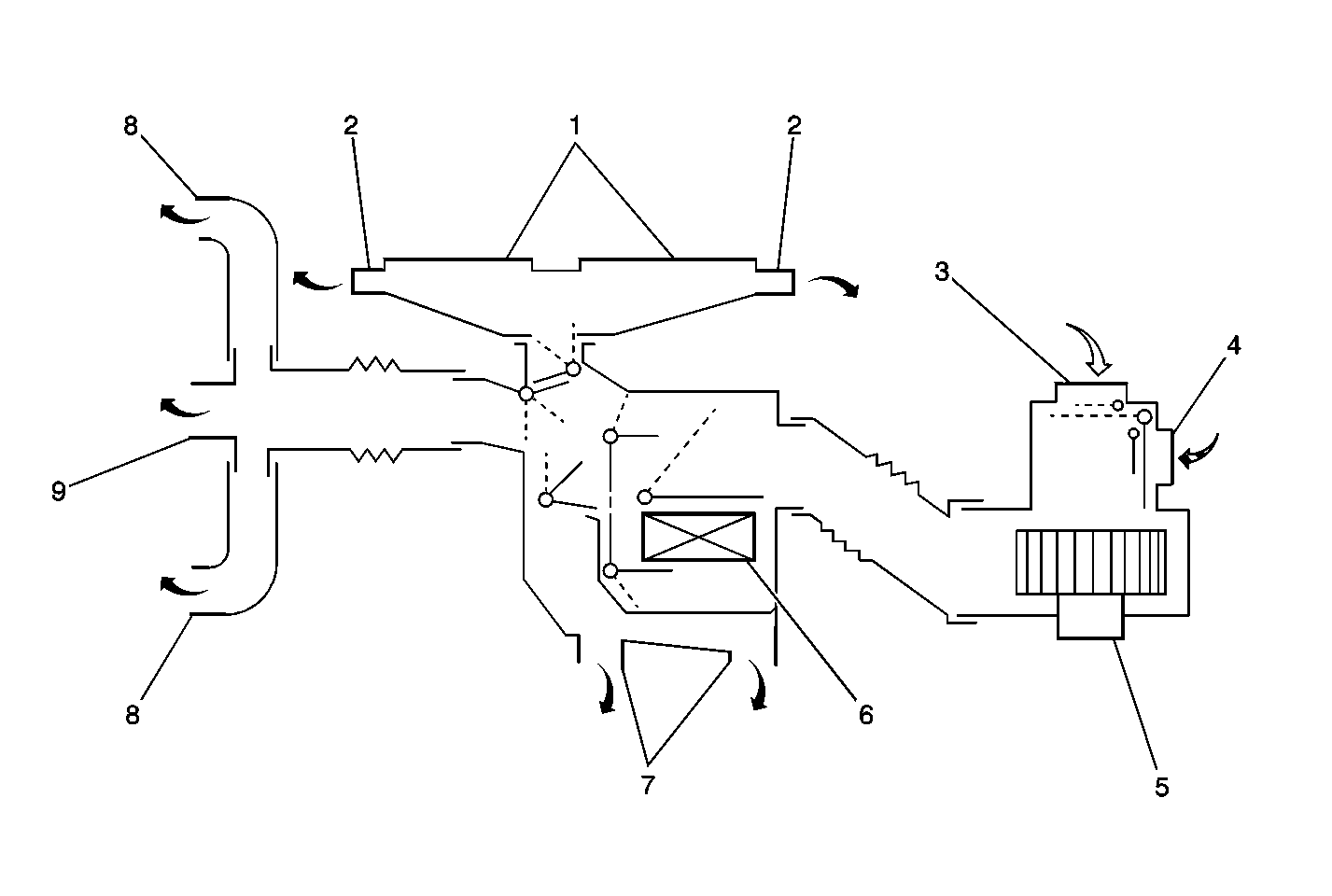
Heat/Defrost


Object Number: 345907  Size: MF
(1)Front Defrost Outlet
(2)Side Defogger Outlets
(2)Side Defogger Outlets
(3)Fresh Air Inlet
(4)Recirculate Air Inlet
(5)Blower Motor
(6)Heater Core
(7)Floor Outlets
(8)Side Vent Outlets
(8)Side Vent Outlets
(9)Center Vent Outlets
    • A portion of heated air is routed to the windshield.
    • The remaining air is delivered to the floor and side window outlets.

Defrost


Object Number: 345912  Size: MF
(1)Front Defrost Outlet
(2)Side Defogger Outlets
(2)Side Defogger Outlets
(3)Fresh Air Inlet
(4)Recirculate Air Inlet
(5)Blower Motor
(6)Heater Core
(7)Floor Outlets
(8)Side Vent Outlets
(8)Side Vent Outlets
(9)Center Vent Outlets
    • Most of the air is directed to the windshield.
    • A small amount of air is delivered to the side windows and the floor outlet.

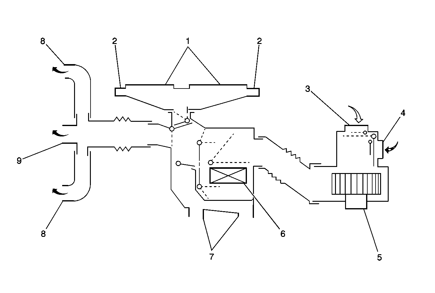
Fresh/Recirc Lever

The fresh/recirc lever controls whether fresh outside air or recirculated passenger compartment air enters the vehicle's heater and ventilation system. The vehicle is equipped with a full-time outside air system, therefore a small amount of outside air constantly enters the passenger compartment.

Fresh/Recirc (Inside Air)


Object Number: 345940  Size: MF
(1)Front Defrost Outlet
(2)Side Defogger Outlets
(2)Side Defogger Outlets
(3)Fresh Air Inlet
(4)Recirculate Air Inlet
(5)Blower Motor
(6)Heater Core
(7)Floor Outlets
(8)Side Vent Outlets
(8)Side Vent Outlets
(9)Center Vent Outlets

Moving the fresh/recirc lever to the recirculate position closes the blower mode door and provides the quickest air delivery. Outside air is not delivered to the passenger compartment. Use the recirculate mode in order to quickly heat the passenger compartment.

Fresh/Recirc (Outside Air)


Object Number: 345931  Size: MF
(1)Front Defrost Outlet
(2)Side Defogger Outlets
(2)Side Defogger Outlets
(3)Fresh Air Inlet
(4)Recirculate Air Inlet
(5)Blower Motor
(6)Heater Core
(7)Floor Outlets
(8)Side Vent Outlets
(8)Side Vent Outlets
(9)Center Vent Outlets

Moving the fresh/recirc lever to the fresh position opens the blower mode door. Outside air is delivered to the passenger compartment. Use the fresh mode in order to prevent window fogging during normal heater operation.