GM Service Manual Online
For 1990-2009 cars only
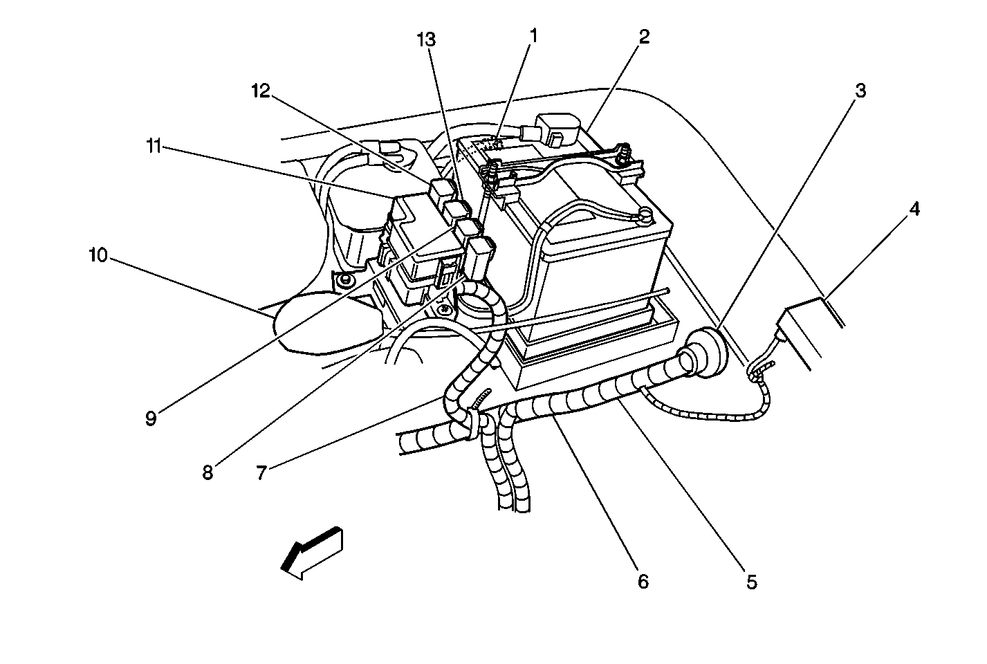
Figure 1:

Right Rear Engine Compartment


Object Number: 346481  Size: MF
(1)G105 / G106 / G108
(2)Battery
(3)P201
(4)Manifold Absolute Pressure (MAP) Sensor
(5)Main Harness
(6)S131
(7)S115
(8)Shift Lock Relay
(9)A/C Condenser Fan Relay
(10)Cruise Control Actuator
(11)Fuse Block 1
(12)Torque Converter Clutch (TCC) Relay
(13)A/C Clutch Relay
Figure 2:

Instrument Panel Wiring


Object Number: 355233  Size: MF
(1)Rear Wiper/Washer Switch/Cruise Contorl On/Off Switch
(2)Instrument Panel Cluster Assembly
(3)Instrument Panel Cluster Connector C1
(4)Instrument Panel Cluster Connector C2
(5)Instrument Panel Cluster Connector C3
(6)Rear Defogger Switch (4-Door)
(7)LH Front Speaker (4-Door)
(8)Illumination Controller/Power Mirror Switch (4-Door)
(9)C200
(10)C201
(11)S236
(12)C211
(13)C209
(14)S235, S201, S204
(15)S238
(16)S258, S256, S200
(17)Instrument Panel Harness
(18)Data Link Connector 0 On Board Diagnostic II (DLC-OBD II)
(19)Radio
(20)Cigar Lighter
(21)C208
(22)C213
(23)S205, S221, S225, S226
(24)Audio Alarm Module
(25)C210
(26)RH Front Speaker (4-Door)
Figure 3:

LH Instrument Panel -- Pedal Switches


Object Number: 355268  Size: MF
(1)Cruise Control Module
(2)CPP Switch
(3)Stoplamp Switch
(4)Clutch Pedal Position (CPP) Interrupt Switch