GM Service Manual Online
For 1990-2009 cars only
Makes
🢒
Chevrolet
🢒
1998
🢒
Tracker - 2WD
🢒
HVAC
🢒
HVAC Systems - Manual
🢒 Engine Controls Component Views
Figure
1:
Information Sensors/Input Devices
(1)
Fuel Level Sensor (gauge unit)
(2)
Fuel Tank Pressure Sensor
(3)
HO2S 2
(4)
VSS
(5)
MAF Sensor
(6)
IAT Sensor
(7)
HO2S 1
(8)
PSP Switch (if equipped)
(9)
CKP Sensor
(10)
ECT Sensor
(11)
Battery
(12)
MAP Sensor
(13)
TP Sensor
(14)
Transmission Range Switch (A/T Vehicle)
(15)
CMP Sensor and Ignition Coil (located in distributor)
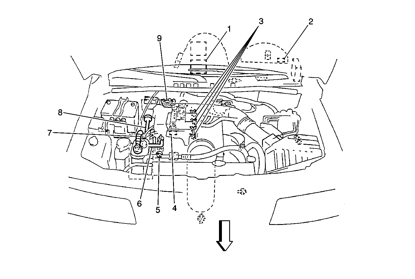
Figure
2:
PCM Controlled Devices
(1)
Fuel Pump Relay
(2)
MIL
(3)
Fuel Injectors
(4)
Idle Air Control (IAC) Valve
(5)
EVAP Canister Purge Valve
(6)
EGR Solenoid Vacuum Valve
(7)
EVAP Canister Vent Valve
(8)
EVAP Tank Pressure Control Solenoid Vacuum Valve
(9)
EGR Bypass Valve
Figure
3:
Other Components
(1)
Main Relay
(2)
Powertrain Control Module
(3)
Data Link Connector (DLC)
(4)
EVAP Canister
(5)
Duty Check Data Link Connector
(6)
Fuse Box
(7)
EGR Valve
(8)
EGR Back Pressure Transducer