GM Service Manual Online
For 1990-2009 cars only

Removal Procedure

  1. Discharge and recover the refrigerant. Refer to Refrigerant Recovery and Recharging .
  2. Disconnect the A/C refrigerant pressure switch electrical connector.

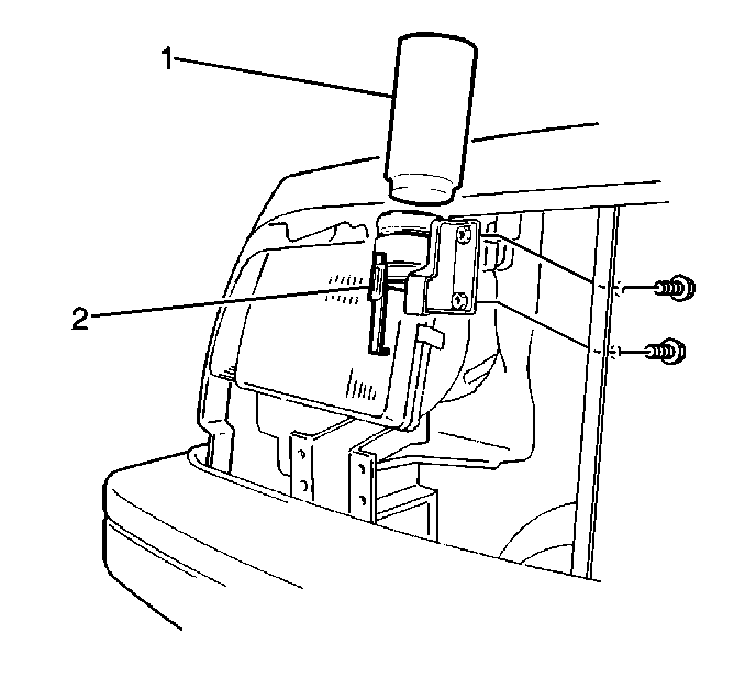
  3. Object Number: 345602  Size: SH
  4. Remove 1 bolt and the receiver/dryer (1) inlet pipe from the receiver/dryer.
  5. Remove 1 bolt and the receiver/dryer outlet pipe from the receiver/dryer.
  6. Remove the 2 screws and the receiver/dryer from the mounting bracket (2).

Installation Procedure


    Object Number: 345602  Size: SH

    Important: Add 10 ml (0.3 fl oz) of refrigerant oil to the refrigeration system when installing a new receiver/dryer.

  1. Install the receiver/dryer (1) to the mounting bracket (2). Secure with the 2 screws.
  2. Install the receiver/dryer inlet and outlet pipes. Secure the pipes with the 2 bolts.
  3. Notice: Use the correct fastener in the correct location. Replacement fasteners must be the correct part number for that application. Fasteners requiring replacement or fasteners requiring the use of thread locking compound or sealant are identified in the service procedure. Do not use paints, lubricants, or corrosion inhibitors on fasteners or fastener joint surfaces unless specified. These coatings affect fastener torque and joint clamping force and may damage the fastener. Use the correct tightening sequence and specifications when installing fasteners in order to avoid damage to parts and systems.

    Tighten
    Tighten the receiver/dryer pipe bolts to 35 N·m (26 lb ft).

  4. Connect the A/C refrigerant pressure switch electrical connector.
  5. Evacuate and recharge the air conditioning system. Refer to Refrigerant Recovery and Recharging .
  6. Operate the A/C system and test for refrigerant leaks. Refer to Leak Testing .