GM Service Manual Online
For 1990-2009 cars only
Figure 1:

LH Front Engine Compartment


Object Number: 355215  Size: MF
(1)G100
(2)S120
(3)Mass Air Flow (MAF) Sensor Connector
(4)ABS Hydraulic Motor Pack
(5)LH Front ABS Solenoid
(6)RH Front ABS Solenoid
(7)Main Harness
(8)S116, S141
(9)Lamp Driver Relay
(10)Electronic Brake Control Relay
(11)Intake Air Temperature (IAT) Sensor Connector
Figure 2:

RH Rear Engine Compartment


Object Number: 355219  Size: MF
(1)Battery
(2)P201
(3)Manifold Absolute Pressure (MAP) Sensor
(4)Main Harness
(5)S131
(6)S115
(7)Shift Lock Relay
(8)A/C Condenser Fan Relay
(9)Cruise Control Actuator
(10)Fuse Block 1
(11)Torque Converter Clutch (TCC) Relay
(12)A/C Compressor Clutch Relay
(13)G105, G106, G108
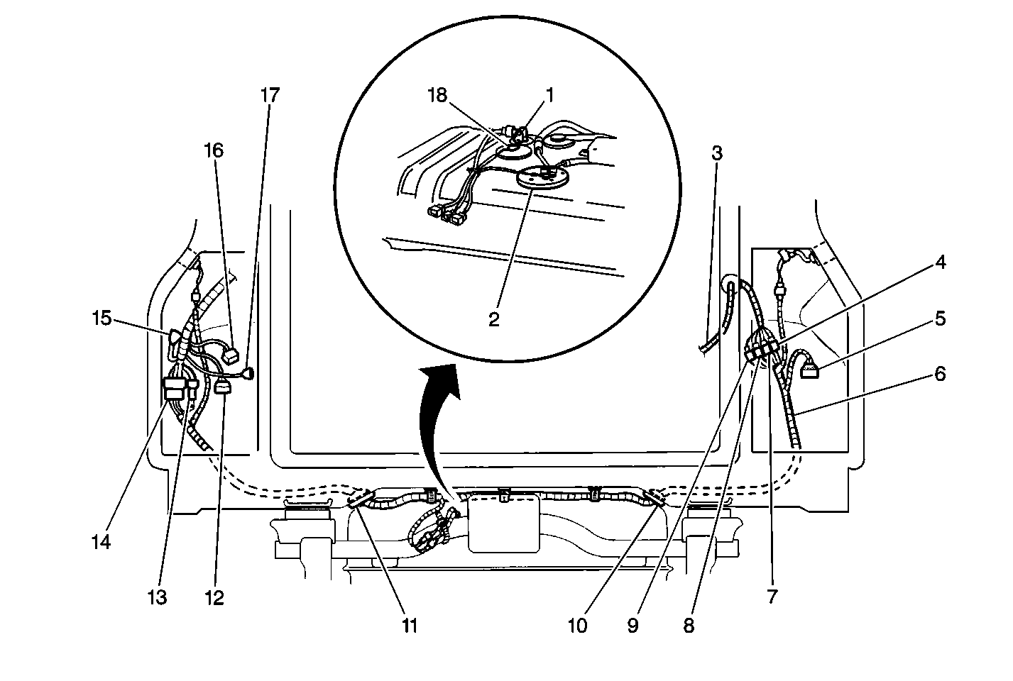
Figure 3:

RH Engine Compartment


Object Number: 355223  Size: LF
(1)Shift Lock Relay
(2)A/C Condenser Fan Relay
(3)A/C Compressor Clutch Relay
(4)Torque Converter Clutch (TCC) Relay
(5)G105, G106, G108
(6)Manifold Absolute Pressure (MAP) Sensor Connector
(7)Exhaust Gas Recirculation (EGR) Bypass Valve Connector
(8)G103 (On Engine)
(9)P201
(10)S131
(11)S115
(12)S105, S130
(13)S103
(14)S104
(15)Left Horn
(16)Duty Check Data Link Connector (DLC) 1
(17)Rear Washer Pump (4-Door)
(18)G104
(19)Front Washer Pump
(20)Fuse Block 1
Figure 4:

LH Bulkhead


Object Number: 355224  Size: LF
(1)C102
(2)G109
(3)Brake Fluid Level Switch Connector
(4)Front Wiper Motor
(5)Main Harness
(6)P200
(7)Noise Suppressor Filter
(8)C100, C103
(9)To Heated Oxygen Sensor (HO2S1)
(10)G101
(11)Distributor
(12)C101
Figure 5:

Engine


Object Number: 355226  Size: LF
(1)Oil Pressure Switch
(2)C105
(3)Evaporative Canister Purge Valve
(4)Exhaust Gas Recirculation Solenoid Vacuum (EGR SV) Valve/(Brown Evolve/EGR Bypass Valve (Blue Valve)
(5)Engine Coolant Temperature (ECT) Switch
(6)Engine Coolant Temperature (ECT) Sensor
(7)Generator
(8)Engine Coolant Temperature (ECT) Sending Unit
(9)Starter Solenoid
(10)G
(11)Transmission Range Switch C-C (Automatic Transmission -- 3 Speed)
(12)CA
(13)Exhaust Gas Recirculation (EGR) Valve
(14)Exhaust Gas Recirculation (EGR) Bypass Valve
(15)G
(16)G
(17)Throttle Position Sender
(18)Fuel Injector #1
(19)Fuel Injector #2
(20)Fuel Injector #3
(21)Idle Air Control (IAC) Valve
(22)Fuel Injector #4
Figure 6:

Cowl Wiring


Object Number: 355229  Size: MF
(1)Blower Speed Selector Switch Connector
(2)Fuel Pump Relay
(3)Main Relay
(4)Horn Relay
(5)S220, S222, S228, S247, S271
(6)Turn Signal Relay
(7)S239, S250
(8)Blower Motor Resistor Connector
(9)G201
(10)S296
(11)Blower Motor
(12)A/C Amplifier Connector
(13)Evaporator Thermistor
(14)Inner A/C Harness
(15)A/C Switch Connector
(16)G203
(17)Ignition Key Warning Switch Connector
(18)Combination Switch Connector
(19)Combination Switch Connector
(20)Air Bag Fuse Box
(21)Powertrain Control Module (PCM) Connectors
(22)Power Door Lock Control Module
(23)C200
(24)Fuse Block 2
(25)C201
(26)Daytime Running Lamps (DRL) Control Module Connector
(27)G200
(29)S215, S218, S230, S240, S241, S266, S267, S274, S278, S279, S280, S281, S287, S289
(30)C202
(31)C203
(32)C204
(33)C205
(34)S202, S210, S213, S216, S219, S227, S232, S251, S254, S257, S260, S262, S268, S270, S272, S276, S282, S283, S285, S288, S294, S298
(35)Clutch Pedal Position (CPP) Switch (Manual Transmission)
(36)S206, S208, S224, S229, S244, S246, S255, S275
(37)CPP Interrupt Switch (Manual Transmission/Cruise Control)
(38)Stop lamp Switch Connector
(39)S211, S270
(40)Electronic Brake Control Module (EBCM) (ABS)
(41)Main Harness
(42)S203, S209, S212, S214, S216, S217, S231, S243, S264, S272, S284, S286, S295
Figure 7:

Instrument Panel Wiring


Object Number: 355233  Size: MF
(1)Rear Wiper/Washer Switch/Cruise Contorl On/Off Switch
(2)Instrument Panel Cluster Assembly
(3)Instrument Panel Cluster Connector C1
(4)Instrument Panel Cluster Connector C2
(5)Instrument Panel Cluster Connector C3
(6)Rear Defogger Switch (4-Door)
(7)LH Front Speaker (4-Door)
(8)Illumination Controller/Power Mirror Switch (4-Door)
(9)C200
(10)C201
(11)S236
(12)C211
(13)C209
(14)S235, S201, S204
(15)S238
(16)S258, S256, S200
(17)Instrument Panel Harness
(18)Data Link Connector 0 On Board Diagnostic II (DLC-OBD II)
(19)Radio
(20)Cigar Lighter
(21)C208
(22)C213
(23)S205, S221, S225, S226
(24)Audio Alarm Module
(25)C210
(26)RH Front Speaker (4-Door)
Figure 8:

Floor Harness (2-Door)


Object Number: 355237  Size: LF
(1)Floor Harness 1
(2)Heated Oxygen Sensor 2 (HO2S2) Connector
(3)P301
(4)P300
(5)S241
(6)C202
(7)C203
(8)C211
(9)S242
(10)Floor Harness 2
(11)To RH Rear Speaker and RH Door Jamb Switch
(12)Parking Brake Switch Connector
(13)Seat Belt Switch Connector
(14)C407
(15)C406
(16)C412
(17)Dome Lamp Diode
(18)C300
(19)S404, S409, S411, S413, S418, S424
(20)S306
(21)S300, S304, S305
(22)LH Rear Speaker Connector
(23)C301, C302, C304
(24)LH Door Jamb Switch
Figure 9:

Floor Harness (4-Door)


Object Number: 355239  Size: LF
(1)C305
(2)LH Front Door Jamb Switch
(3)Heated Oxygen Sensor (HO2S2) Connector
(4)C202
(5)C203
(6)C211
(7)Floor Harness
(8)P301
(9)SP370, SP371
(10)C306
(11)LH Rear Remote Power Window Switch Connector
(12)RH Rear Remote Power Window Switch Connector
(13)Accelerometer Connector
(14)Parking Brake Switch Connector
(15)Seat Belt Switch Connector
(16)G300
(17)Dome Lamp Diode
(18)LH Rear Speaker Connector
(19)C406
(20)C407
(21)S402, S422
(22)LH Rear Door Jamb Switch
(23)S404, S405, S406, S409, S411, S412, S413, S418, S419, S420, S421, S422, S423, S425, S426, S442
Figure 10:

LH Rear Passenger Compartment (2-Door) -- RH Similar


Object Number: 355256  Size: MF
(1)Rear Speaker
(2)Floor Harness
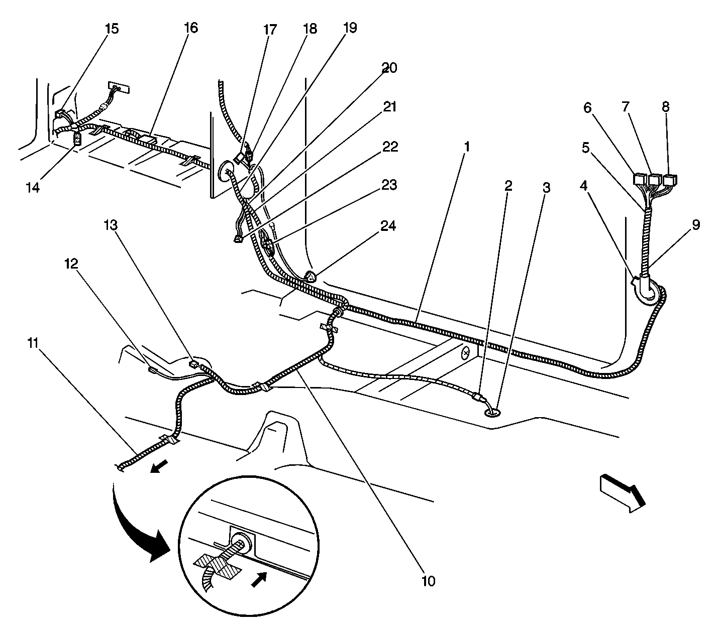
Figure 11:

Rear Lamp Harness


Object Number: 355240  Size: MF
(1)Fuel Tank Pressure
(2)Fuel Pump
(3)Back Door Harness
(4)C403
(5)C402
(6)Rear Lamp Harness
(7)C410
(8)C408
(9)C409
(10)P402
(11)P401
(12)C406
(13)C401
(14)C400
(15)Back Door Jamb Switch Connector
(16)C407
(17)G300 (2-Door)
(18)Fuel Level Sensor
Figure 12:

Back Door Harness (4-Door)


Object Number: 355248  Size: MF
(1)Rear Defogger Connectors
(2)To Center High-Mounted Stoplamp (CHMSL)
(3)C405
(4)G400
(5)Power Door Lock Actuator
(6)Rear Wiper Motor
(7)G403
(8)G401
(9)Back Door Harness
(10)P400
Figure 13:

LH Front Door (4-Door with Power Opt.) -- RH Similar


Object Number: 355241  Size: MF
(1)C500, C600
(2)Power Mirror Motor Connector
(3)C501, C600
(4)P500, P600
(5)Power Window Motor
(6)LH Front Power Window/Door Lock Switch Connector
(7)Power Door Lock Actuator Assembly (Hidden)
Figure 14:

3-Speed Automatic Transmission


Object Number: 355259  Size: MF
(1)Park Neutral Position (PNP) Switch
(2)Four Wheel Drive Switch
Figure 15:

Manual Transmission


Object Number: 355263  Size: MF
(1)C104
(2)Four Wheel Drive Switch
(3)Backup Lamp Switch