GM Service Manual Online
For 1990-2009 cars only
Figure 1:

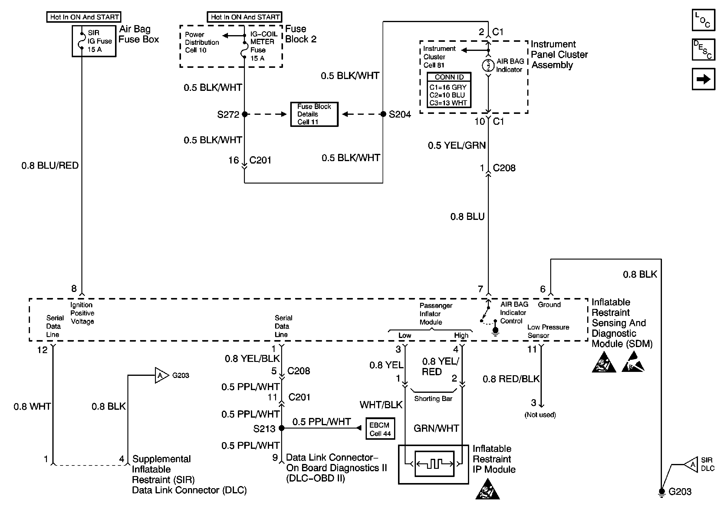
Cell 47: Inflatable Restraint Module and Inflatable Restraint Sensing and Diagnostic Module


Object Number: 183332  Size: FS
Figure 2:

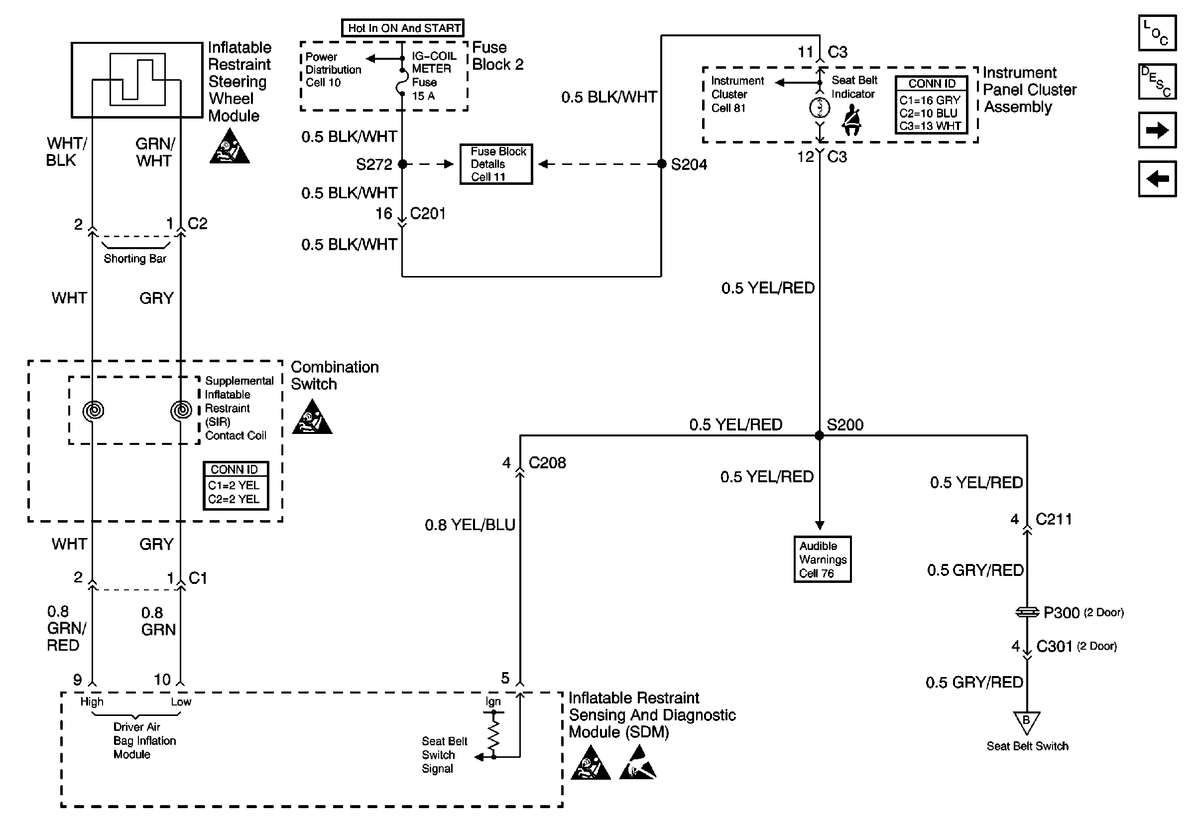
Cell 47: Inflatable Restraint Steering Wheel Module and Combination Switch


Object Number: 183339  Size: FS
Figure 3:

Cell 47: Seat Belt Switch


Object Number: 183341  Size: FS