GM Service Manual Online
For 1990-2009 cars only

Removal Procedure

  1. Remove the cruise control actuator assembly cover.

  2. Object Number: 519957  Size: SH
  3. Loosen the cruise control cable locknut (4).
  4. Remove the cruise control cable from the cruise control actuator lever (2).

  5. Object Number: 352442  Size: SH
  6. Remove the cruise control cable (1) from the underhood guide clips.
  7. Remove the cruise control cable (1) from the cruise control bellcrank above the accelerator pedal.
  8. Unclip the cruise control cable (1) from underneath the instrument panel in order to remove the cruise control cable from the vehicle.
  9. Inspect the cruise control cable (1) for any fraying or excessive wear.
  10. Replace the cruise control cable as needed.

Installation Procedure


    Object Number: 352442  Size: SH
  1. Install the cruise control cable (1) into the vehicle. Secure the cable with the guide clips.
  2. Install the cruise control cable (1) to the cruise control bellcrank above the accelerator pedal.
  3. Install the cruise control cable (1) into the underhood guide clips.

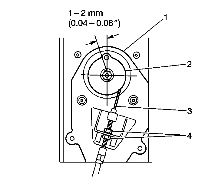
  4. Object Number: 519957  Size: SH
  5. Install the cruise control cable into the cruise control actuator lever (2) and bracket.
  6. Adjust the cruise control locknuts (4) in order to adjust the cruise control cable play.
  7. Notice: Use the correct fastener in the correct location. Replacement fasteners must be the correct part number for that application. Fasteners requiring replacement or fasteners requiring the use of thread locking compound or sealant are identified in the service procedure. Do not use paints, lubricants, or corrosion inhibitors on fasteners or fastener joint surfaces unless specified. These coatings affect fastener torque and joint clamping force and may damage the fastener. Use the correct tightening sequence and specifications when installing fasteners in order to avoid damage to parts and systems.

  8. Adjust the cruise control cable play to 1-2 mm (0.04-0.08 in) at the actuator closed throttle position.
  9. Tighten
    Tighten the cruise control cable locknuts to 5 N·m (44 lb in).

  10. Install the cruise control actuator (1) assembly cover.