GM Service Manual Online
For 1990-2009 cars only

Removal Procedure

    Caution: Wear safety glasses in order to avoid eye damage.

  1. Remove the front side door trim panel. Refer to Front Side Door Trim Panel Replacement .
  2. Lower the front side door window completely.
  3. Use a flat-bladed tool wrapped in tape in order to gently pry the inner sealing strip from the door, if equipped.
  4. Use a flat-bladed tool wrapped in tape in order to gently pry the outer sealing strip from the door.

  5. Object Number: 352079  Size: SH
  6. Remove the screws and the door trim support bracket from the vehicle.
  7. Peel the water deflector (1) away from the door.

  8. Object Number: 352129  Size: SH
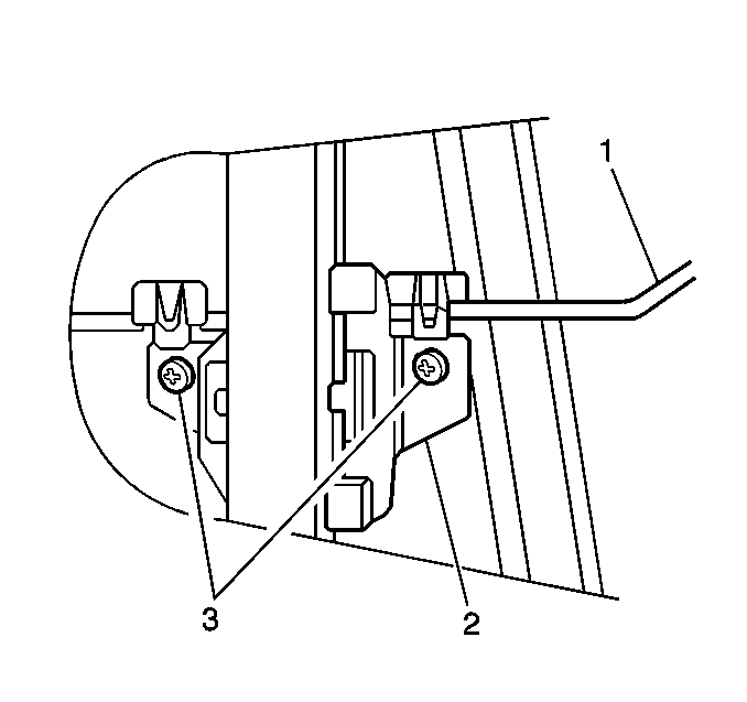
  9. Remove the 2 screws (3) which secure the window (1) to the regulator equalizer bracket (2).
  10. Lift the window (1) out from the door.
  11. Tilt the top of the window (1) inward in order to clear the regulator run channel.

Installation Procedure


    Object Number: 352129  Size: SH
  1. Install the window (1) into the door.
  2. Lower the window (1) to the regulator equalizer bracket (2). Secure the window (1) to the bracket (2) with the 2 screws (3).

  3. Object Number: 352171  Size: SH
  4. Adjust the regulator equalizer bracket screws so that the measurements between the window and the front side door frame are equal at the points (1, 2).

  5. Object Number: 352204  Size: SH
  6. Inspect the water deflector (1) for tears and holes.
  7. In order to repair the tears or holes, use waterproof tape on both sides of the water deflector (1), as needed.
  8. Apply adhesive (2) to the back of the water deflector (1).
  9. Install the water deflector (1) to the door.
  10. Install the door trim support bracket to the door. Secure the bracket with the screws.
  11. Install the outer sealing strip to the door by pressing into place.
  12. Install the inner sealing strip into the door by pressing into place, if equipped.
  13. Install the front side door trim panel. Refer to Front Side Door Trim Panel Replacement .