GM Service Manual Online
For 1990-2009 cars only

Removal Procedure

  1. Remove the front side door trim panel. Refer to Front Side Door Trim Panel Replacement .

  2. Object Number: 352079  Size: SH
  3. Remove the screws and the door trim support bracket from the door.
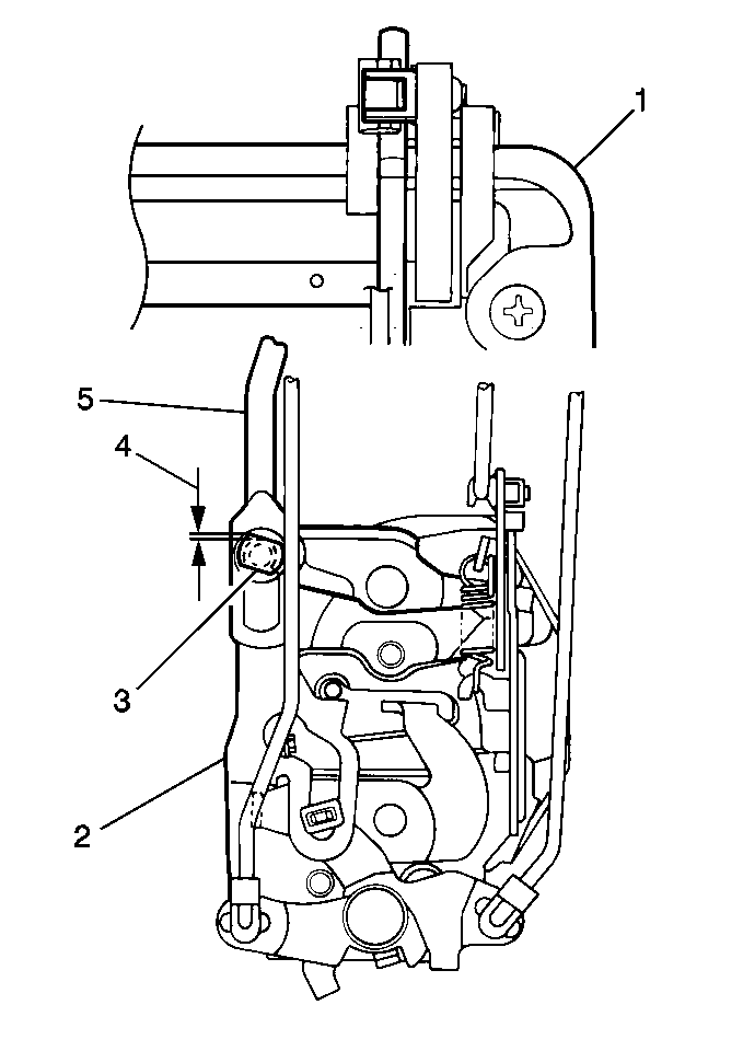
  4. Peel the water deflector (1) away from the door.

  5. Object Number: 352096  Size: MH
  6. Remove the door outside handle rod (5) from the door lock (2).
  7. Remove the door inside handle rod from the door lock (2).

  8. Object Number: 352086  Size: SH
  9. Remove the door lock cylinder lock rod (6) from the door lock actuator (5).
  10. Remove the front side door lock knob lock rod (3) from the door lock actuator (5).
  11. Disconnect the door lock actuator (5) electrical connector.
  12. Remove the 4 door lock actuator screws.
  13. Remove the door lock actuator (5) from the door.

Installation Procedure


    Object Number: 352086  Size: SH
  1. Install the door lock actuator (5) to the door. Secure the door lock actuator with the 4 screws.
  2. Install the door lock knob lock rod (3) to the door lock actuator (5).
  3. Install the door lock cylinder lock rod (6) to the door lock actuator (5).

  4. Object Number: 352096  Size: MH
  5. Install the door outside handle rod (5) to the door lock actuator (2).
  6. Install the door inside handle rod to the door lock actuator (2).
  7. Adjust the outside handle rod to door lock linkage distance (4) to 0-2 mm (0.0-0.08 inch).

  8. Object Number: 352079  Size: SH
  9. Inspect for tears and holes in the water deflector (1).
  10. Use waterproof tape in order to repair both sides of the water deflector (1), as needed.
  11. Apply adhesive (2) to the back of the water deflector (1).
  12. Install the water deflector (1) to the door.
  13. Install the door trim support bracket to the door. Secure the bracket with the screws.
  14. Install the front side door trim panel. Refer to Front Side Door Trim Panel Replacement .