GM Service Manual Online
For 1990-2009 cars only

Removal Procedure


    Object Number: 352086  Size: SH
  1. Mark the position of the rear side door lock striker (4) on the door jamb for ease of installation.
  2. Remove 2 screws and the rear side door lock striker (4) from the door jamb.

Installation Procedure


    Object Number: 352086  Size: SH
  1. Install the rear side door lock striker (4) to the door jamb. Secure the striker with 2 screws.

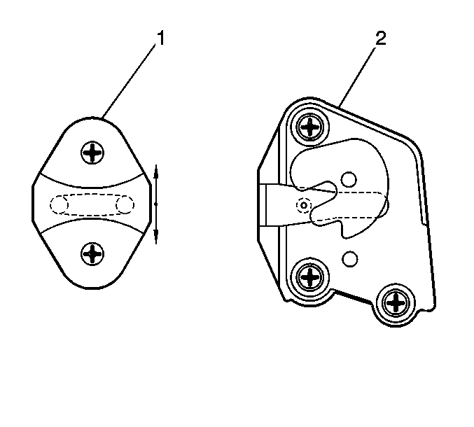
  2. Object Number: 520512  Size: SH
  3. Adjust the striker vertical measurement so that the striker (1) shaft aligns with the center of the door lock (2).

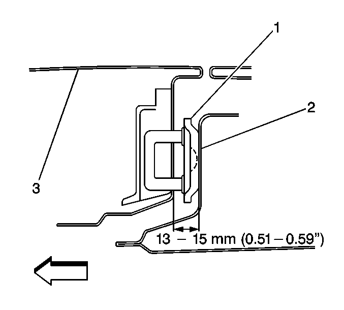
  4. Object Number: 520518  Size: SH
  5. Adjust the lock striker (1)-to-door distance to 13-15 mm (0.51-0.59 in) by installing or removing shims (2) as necessary.
  6. Keeping the lock striker (1) level, move the striker sideways in order to adjust door flushness with the quarter panel (3). Refer to Door Adjustment Specifications .