GM Service Manual Online
For 1990-2009 cars only

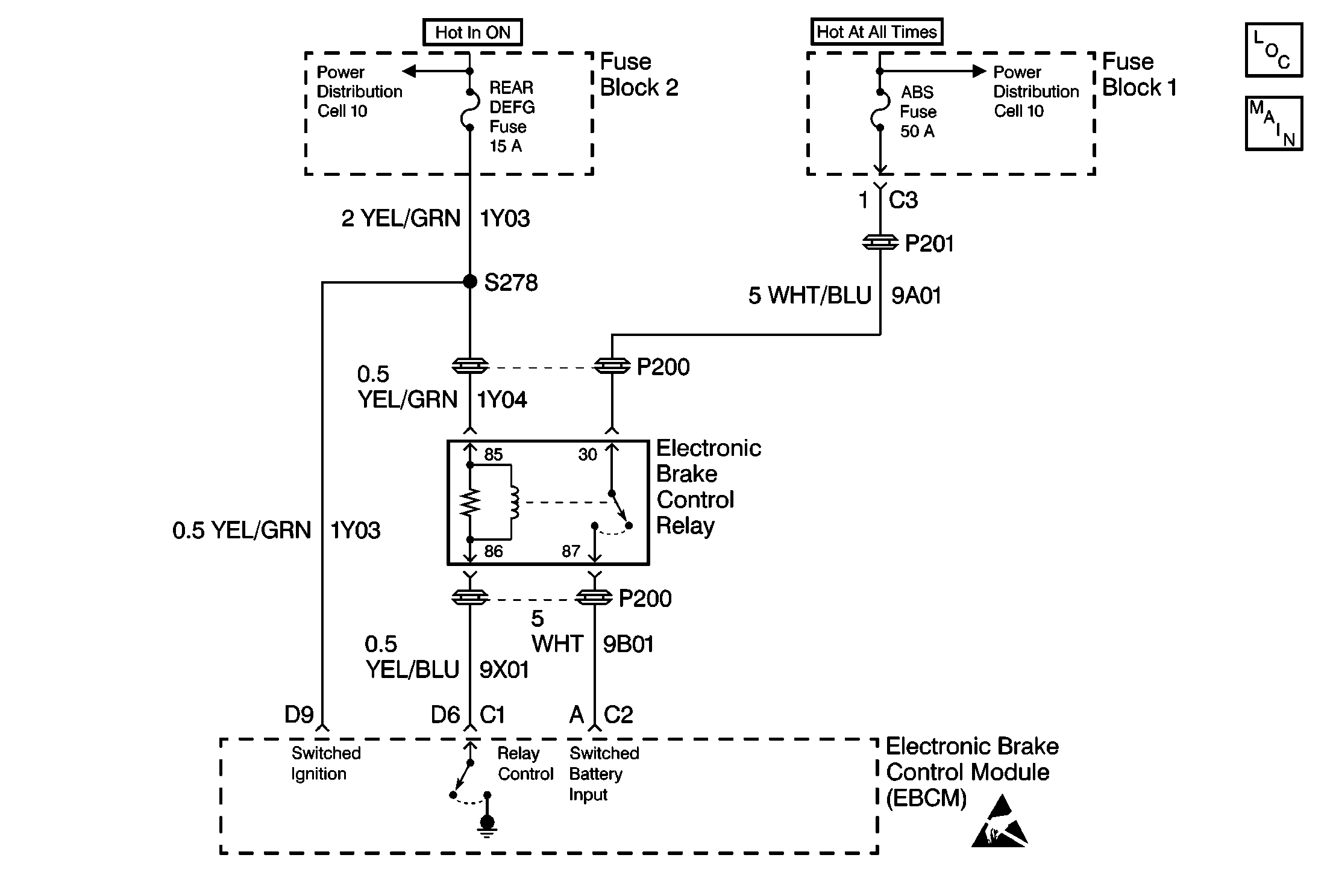
Object Number: 233557  Size: MF
ABS Components
Antilock Brake System Schematics

Circuit Description

Ignition voltage is supplied to terminal 85 of the Electronic Brake Control relay. The EBCM is then able to energize the pull-in coil by completing the ground circuit at EBCM terminal D6. The magnetic field created closes the Electronic Brake Control relay contacts and allows battery voltage and current to be supplied to the EBCM. In addition, the EBCM supplies power to the motors and ABS solenoids.

Conditions for Setting the DTC

This DTC will set when the following conditions are met:

    • Voltage in the switched battery input circuit to the EBCM falls below 7.05 volts (CKT 9B01).
    • This DTC can be set anytime.
    • Note: This DTC may take up to 2 seconds to set because it takes time for the Electronic Brake Control relay voltage to decay.

Action Taken When the DTC Sets

    • A malfunction DTC stores.
    • ABS is disabled.
    • The amber ABS warning indicator is turned ON if the rear piston in the motor pack is not expected to be in the home position.

Conditions for Clearing the DTC

    • The condition responsible for setting the DTC no longer exists and the Scan Tool Clear DTCs function is used.
    • 100 drive cycles pass with no DTCs detected. A drive cycle consists of starting the vehicle, driving the vehicle over 16 km/h (10 mph), stopping and then turning the ignition OFF.

Diagnostic Aids

The following list contains items that need to be inspected when diagnosing this system:

    • Open ABS fuse.
    • Faulty Electronic Brake Control relay (contacts open/high resistance).
    • Poor harness terminal contacts to the Electronic Brake Control relay (look for spread terminals).
    • Faulty electrical circuits (open or high resistance) between the Electronic Brake Control relay and the EBCM (CKT 9B01) and/or between the ABS fuse and the electronic brake control relay (CKT 9A01).

The following conditions may cause an intermittent malfunction:

    • A poor connection
    • Rubbed-through wire insulation
    • A broken wire inside the insulation

Use the enhanced diagnostic function of the Scan Tool in order to measure the frequency of the malfunction.

Thoroughly inspect any circuitry that may be causing the intermittent complaint for the following conditions:

    • Backed out terminals
    • Improper mating
    • Improperly formed or damaged terminals
    • Poor terminal-to-wiring connections
    • Physical damage to the wiring harness

Vibration and Temperature Effects

    • Use the following procedure in order to inspect for vibration effects by performing the Relay Test function of the Scan Tool:
        1. With the Relay Test commanded on, lightly tap the top and sides of the Electronic Brake Control Relay while monitoring the Electronic Brake Control Relay voltage.
        2. If the Electronic Brake Control Relay voltage changes significantly, replace the Electronic Brake Control Relay.
    • If DTC C1214 only sets when the vehicle is initially started in cold ambient conditions (temperature less than 0°C - 32°F), replace the Electronic Brake Control Relay.

Important: Zero the J 39200 test leads before making any resistance measurements. Refer to the J 39200 user's manual.

Step

Action

Value(s)

Yes

No

1

Was the Diagnostic System Check performed?

--

Go to Step 2

Go to Diagnostic System Check

2

  1. Turn the ignition switch to the OFF position.
  2. Install a Scan Tool .
  3. Turn the ignition switch to the ON position.
  4. Do not start the engine.

  5. Use the Scan Tool in order to read the DTCs.

Is DTC C1216 present (either as a current DTC or a history DTC)?

--

Go to DTC C1216 Brake Control Relay Coil Circuit Open

Go to Step 3

3

  1. Select Data List on the Scan Tool .
  2. Select and observe EBCM Battery Voltage.

Is the voltage equal to or greater than the specified voltage?

10 V

Go to Step 25

Go to Step 4

4

  1. Turn the ignition switch to the OFF position.
  2. Disconnect the EBCM connector.
  3. Connect a fused jumper wire (such as a J 36169-A ) with a 3A fuse between the EBCM harness connector terminal D6 and ground.
  4. Turn the ignition switch to the ON position.
  5. Do not start the engine.

  6. Use the J 39200 in order to measure the voltage between the EBCM harness connector terminal A and ground.

Is the voltage equal to or greater than the specified voltage?

10 V

Go to Step 5

Go to Step 10

5

  1. Turn the ignition switch to the OFF position.
  2. Disconnect the fused wire jumper.
  3. Disconnect the Electronic Brake Control Relay.
  4. Use the J 39200 in order to measure the resistance between the Electronic Brake Control Relay connector terminal 87 and the EBCM harness connector terminal A.

Is the resistance within the specified range?

0-2 ohms

Go to Step 6

Go to Step 19

6

  1. Disconnect the negative battery cable.
  2. Disconnect the positive battery cable.
  3. Use the J 39200 in order to measure the resistance between the positive battery cable terminal and the Electronic Brake Control Relay connector terminal 30.

Is the resistance within the specified range?

0-2 ohms

Go to Step 7

Go to Step 20

7

  1. Connect a fused jumper wire between the Electronic Brake Control Relay terminal 86 to ground.
  2. Connect a fused jumper wire (such as a J 36169-A ) with a 3A fuse between the Electronic Brake Control Relay terminal 85 and battery voltage.
  3. Use the J 39200 in order to measure the resistance between the Electronic Brake Control Relay terminal 30 and terminal 87.

Is the resistance within the specified range?

0-2 ohms

Go to Step 8

Go to Step 22

8

  1. Turn the ignition switch to the OFF position.
  2. Inspect the following components:
  3. • The EBCM connector
    • The EBCM harness connector
    • The Electronic Brake Control Relay
    • The Electronic Brake Control Relay connector
  4. Inspect the above components for signs of the following conditions:
  5. • Damage
    • Poor terminal contact
    • Terminal corrosion
  6. Inspect the following components:
  7. • The positive battery terminal
    • The positive battery cable terminal
    • The negative battery terminal
    • The negative battery cable terminal
  8. Inspect the above components for signs of the following conditions:
  9. • A poor connection
    • Poor terminal contact
    • Refer to Wiring Systems.

Are there signs of poor terminal contact, corrosion, or damaged terminal(s)?

--

Go to Step 17

Go to Step 9

9

  1. Remove all of the jumpers.
  2. Reconnect the EBCM connector.
  3. Reconnect the Electronic Brake Control Relay
  4. Reconnect the positive battery cable.
  5. Reconnect the negative battery cable.
  6. Turn the ignition switch to the ON position.
  7. Do not start the engine.

  8. Use the Scan Tool in order to look for current DTCs.

Does DTC C1214 set as a current DTC?

--

Go to Step 24

Go to Step 25

10

  1. Turn the ignition switch to the OFF position.
  2. Disconnect the negative battery cable.
  3. Disconnect the positive battery cable.
  4. Turn the ignition switch to the ON position.
  5. (This action completes the ignition circuit to the Electronic Brake Control Relay.)

  6. Use the J 39200 in order to measure the resistance between the EBCM harness connector terminal D6 and the positive battery cable terminal.

Is the resistance within the specified range?

65-95 ohms

Go to Step 11

Go to Step 14

11

Use the J 39200 in order to measure the voltage between the positive battery terminal and the negative battery terminal.

Is the voltage equal to or greater than the specified voltage?

10 V

Go to Step 12

Go to Step 23

12

  1. Turn the ignition switch to the OFF position.
  2. Reconnect the positive battery cable.
  3. Reconnect the negative battery cable.
  4. Disconnect the Electronic Brake Control Relay.
  5. Use the J 39200 in order to measure the voltage between the Electronic Brake Control Relay connector terminal 30 and ground.

Is the voltage equal to or greater than the specified voltage?

10 V

Go to Step 13

Go to Step 20

13

Use the J 39200 in order to measure the resistance between the Electronic Brake Control Relay connector terminal 87 and the EBCM harness connector terminal A.

Is the resistance within the specified range?

0-2 ohms

Go to Step 7

Go to Step 19

14

  1. Disconnect the Electronic Brake Control Relay.
  2. Use the J 39200 in order to measure the resistance between the Electronic Brake Control Relay terminal 86 and the Electronic Brake Control Relay terminal 85.

Is the resistance within the specified range?

65-95 ohms

Go to Step 15

Go to Step 22

15

Use the J 39200 in order to measure the resistance between the Electronic Brake Control Relay connector terminal 86 and the EBCM harness connector terminal D6.

Is the resistance within the specified range?

0-2 ohms

Go to Step 16

Go to Step 18

16

Use the J 39200 in order to measure the resistance between the Electronic Brake Control Relay connector terminal 85 and the positive battery cable terminal.

Is the resistance within the specified range?

0-2 ohms

Go to Step 8

Go to Step 21

17

Replace all of the terminals the connectors that exhibit signs of poor terminal contact, corrosion, or damaged terminal(s).

Is the repair complete?

--

Go to Diagnostic System Check

--

18

Repair the open or high resistance in CKT 9X01.

Is the repair complete?

--

Go to Diagnostic System Check

--

19

Repair the open or high resistance in CKT 9B01.

Is the repair complete?

--

Go to Diagnostic System Check

--

20

Repair the open or high resistance in CKT 9A01 or repair the short to ground in CKT 9A01 and replace the ABS Fuse.

Is the repair complete?

--

Go to Diagnostic System Check

--

21

Repair the open or high resistance in the following components as necessary:

    • CKT 1Y04 and 1Y03
    • CKT the power feed circuits to the fuse block. Refer to Power Distribution Schematics in Wiring Systems.
    • The ignition switch
    • The battery feed circuit to the ignition switch

Refer to Power Distribution Schematics in Wiring Systems.

Is the repair complete?

--

Go to Diagnostic System Check

--

22

Replace the Electronic Brake Control Relay. Refer to Electronic Brake Control Relay Replacement .

Is the repair complete?

--

Go to Diagnostic System Check

--

23

Repair the low voltage condition.

Refer to Wiring Systems.

Is the repair complete?

--

Go to Diagnostic System Check

--

24

Replace the EBCM. Refer to Electronic Brake Control Module Replacement .

Is the repair complete?

--

Go to Diagnostic System Check

--

25

The malfunction is intermittent or is not present at this time.

Refer to Diagnostic Aids for more information.

Is the action complete?

--

System OK

--