GM Service Manual Online
For 1990-2009 cars only
Figure 1:

G100, G101 and G102


Object Number: 498147  Size: FS
Power and Grounding Components
G103
Handling ESD Sensitive Parts Notice
Figure 2:

G103


Object Number: 498148  Size: FS
Power and Grounding Components
G104
G100, G101 and G102
Handling ESD Sensitive Parts Notice
Figure 3:

G104


Object Number: 498149  Size: FS
Power and Grounding Components
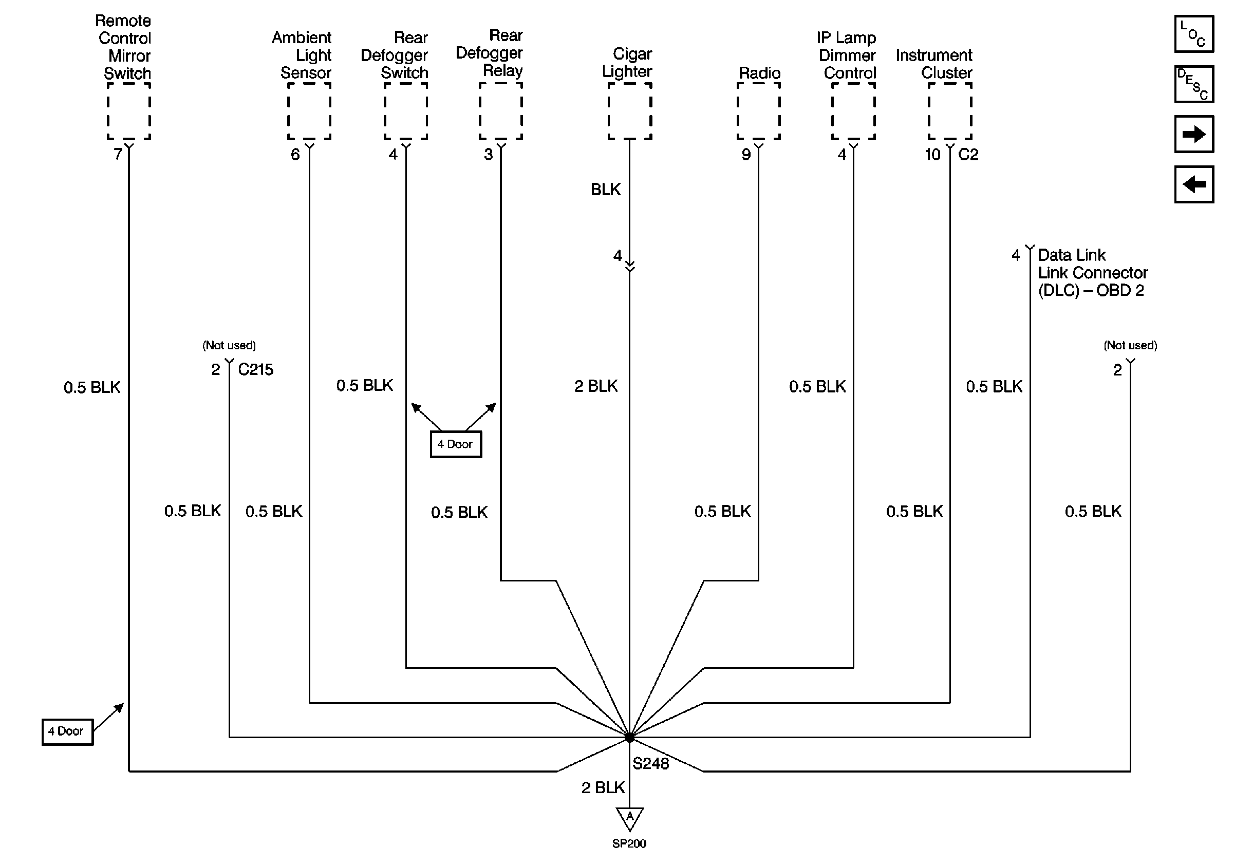
G105
G103
Figure 4:

G105


Object Number: 498150  Size: FS
Power and Grounding Components
G200 (1 of 2)
G104
Figure 5:

G200 (1 of 2)


Object Number: 498151  Size: FS
Power and Grounding Components
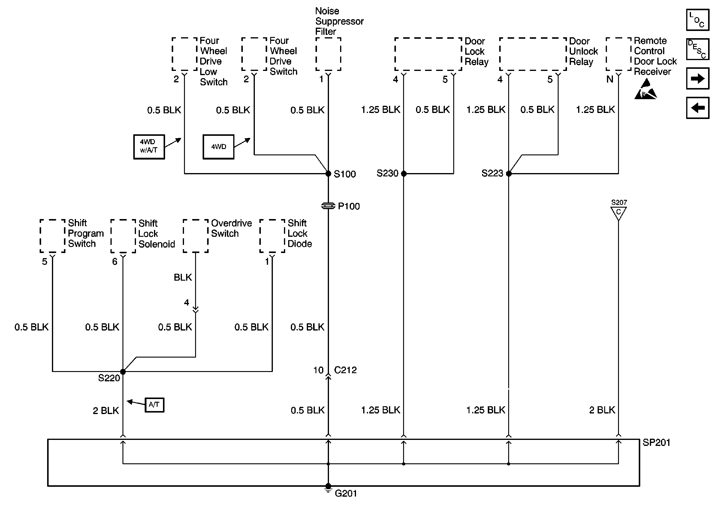
G200 (2 of 2)
G105
Handling ESD Sensitive Parts Notice
Handling ESD Sensitive Parts Notice
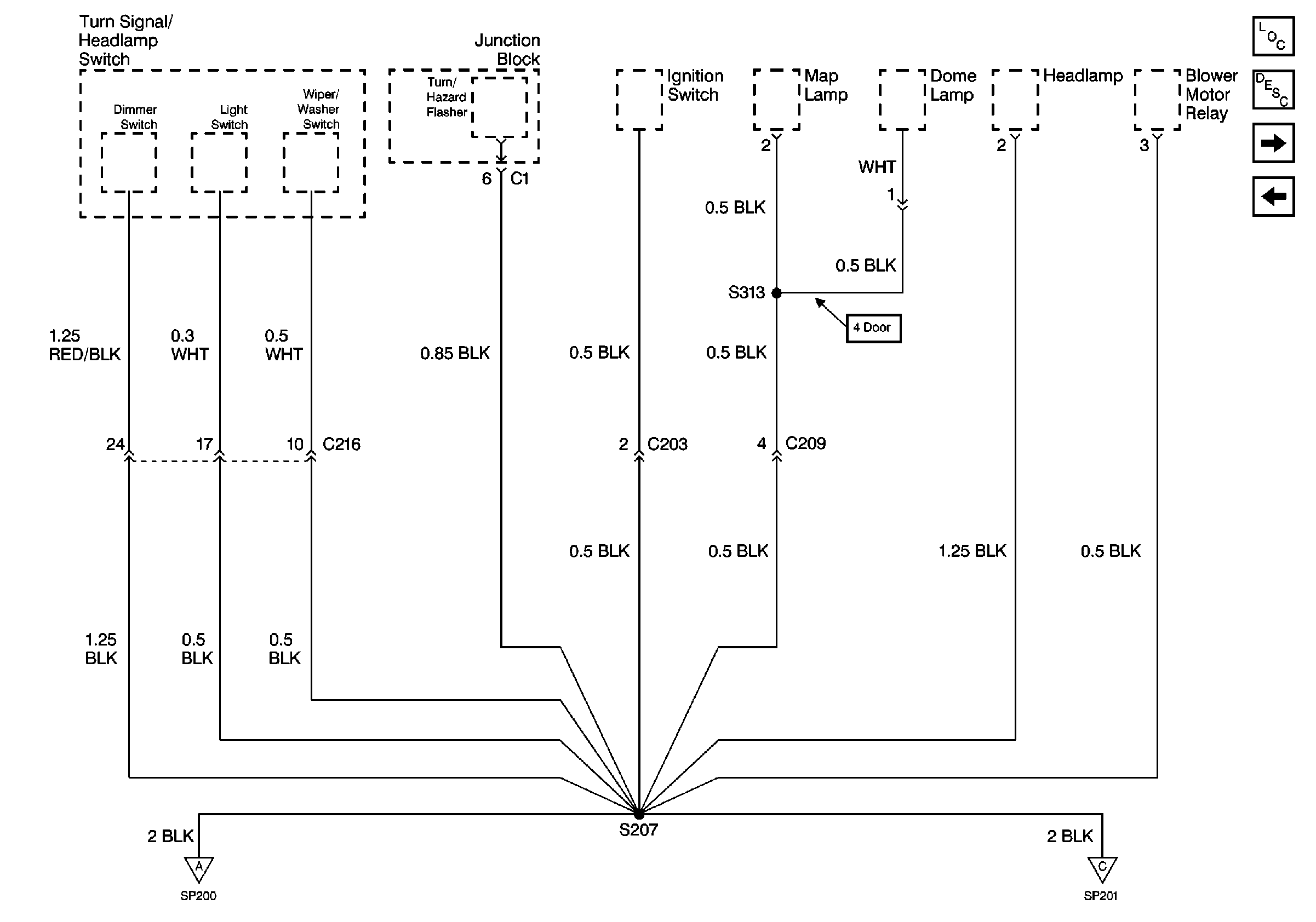
G200-G201
G200 (2 of 2)
Figure 6:

G200 (2 of 2)


Object Number: 498152  Size: FS
Power and Grounding Components
G200-G201
G200 (1 of 2)
G200 (1 of 2)
Figure 7:

G200-G201


Object Number: 498154  Size: FS
Power and Grounding Components
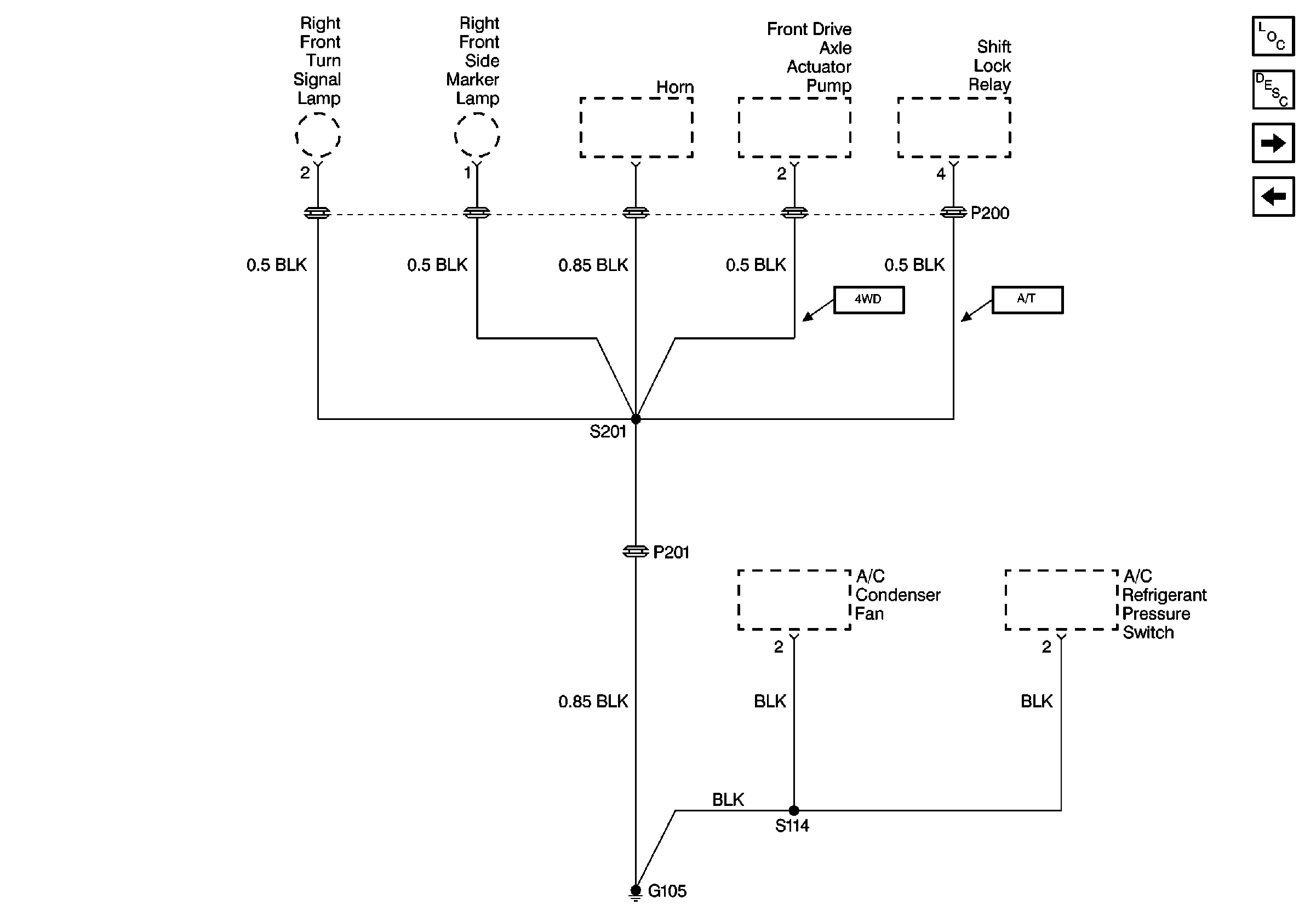
G201
G200 (2 of 2)
G200 (1 of 2)
G201
Figure 8:

G201


Object Number: 498155  Size: FS
Power and Grounding Components
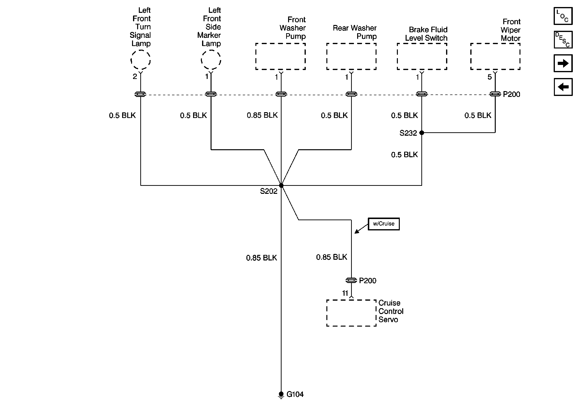
G202
G200-G201
Handling ESD Sensitive Parts Notice
G200-G201
Figure 9:

G202


Object Number: 498156  Size: FS
Power and Grounding Components
G400 and G401
G201
Handling ESD Sensitive Parts Notice
SIR Caution
Figure 10:

G400 and G401


Object Number: 498157  Size: FS
Power and Grounding Components
G202